Вернуться на главную
Поиск
Каталоги запчастей к технике
Грузовые автомобили и прицепы
Камский автозавод
43502 (Евро 4)
65115-3500011-80 Установка осушителя
Каталог запасных частей к технике: Камский автозавод 43502 (Евро 4). 65115-3500011-80 Установка осушителя
zoom-in
zoom-out
enlarge
shrink
circle-right
circle-left
file-text2
info
cart
Тип техники
Не выбрано
Легковые автомобили
Грузовые автомобили и прицепы
Автобусы
Сельхозтехника
Спецтехника
Двигатели
Мототехника
Марка
Не выбрано
BAW
DAF
DongFeng
FAW
Foton
HOWO
Hyundai
IVECO
JAC Motors
LGMG
MAN
Shaanxi
SITRAK
Studebaker
Tata
Volvo
Автокомпонент Плюс
БелАЗ
Брянский Арсенал
ГАЗ
ЗИЛ
КАЗ
Камский автозавод
КрАЗ
Мадара
МАЗ
МЗКТ
МоАЗ
Нефтекамский автозавод
Ставропольский Завод АвтоПрицепов
ТАТРА
Тонар
УралАЗ
ЧМЗАП
Модель
Не выбрано
4308 (2004)
4308 (2008)
4308 (Евро 3) (2013)
4308 (Евро 4) (2012)
4308-C4 (2019)
4308-C4 (2019)
4308-H3 (2019)
4308-R4 (2019)
4310
4310
43101
43114
43118 (2002)
43118 (Евро 4) (2012)
43253 (Часть-1) (2011)
43253 (Часть-2) (2011)
43253, 43255 (Евро-4) (2012)
43255 (Евро-2) (2012)
43255 (Евро-3) (2012)
4326 (2001)
4326 (2003г)
43261 (Евро-1, 2) (2007)
4350 (4х4) (2004)
43501 (4х4) (2007)
43502 (Евро 4) (2013)
45141 (2009)
45142 (2009)
45143 (2009)
5308 (Евро 3) (2012)
5308 (Евро 4) (2013)
5315
5320
53212
53228, 65111 (2004)
53229 (Евро 2) (2010)
5350 (6х6) (2004)
53501 (6х6) (2007)
53504 (6х6) (2007)
5360
53605 (Евро-4) (2013)
5410
54112
5460
5460 (2005)
5490 (2016)
55102
5511 (2003)
6350 (8х8) (2004)
63501 (8х8) (2007)
6450 (8х8) (2007)
6460
6460 (Евро 3, 4) (2013)
6460 (Евро 4) (2013)
65111 (2008)
65111 (Евро 4) (2012)
65115 (2001)
65115 (2009)
65115 (Евро-3) (2013)
65115, 65116 (Евро-4) (2010)
65116 (2006)
6520
6520 (Euro-2, 3) (2009)
6520 (Euro-4) (2012)
6520 (Euro-4) (2016)
65201 (2007)
65201 Евро 2-3 (2016)
6522 (2005)
6522 (Euro-2, 3) (2009)
6522 (Евро-4) (2016)
65226 (2009)
65226 (2013)
6540
KNORR-BREMSE применяемых на технике Камского автозавода
Общий (5320, 53212, 5410, 54112, 5511, 55102)
Самосв. установка 6520 (2011)
Схема
>
Не выбрано
4350-1000250 Агрегат силовой 740.652-260 укомплектованный для установки на автомобиль
740.652-1000312 Агрегат силовой 740.652-260
740.652-1000412 Двигатель с оборудованием 740.652-260
65116-1001000 Установка кронштейнов силового агрегата
43114-1001005 Установка силового агрегата
740.70-1002004 Установка картера маховика
740.70-1002010 Блок цилиндров
740.90-1003000 Установка головок цилиндров и механизма газораспределения
740.90-1003010 Головка цилиндра с клапанами и стойкой коромысел
740.21-1006010 Распределительный вал
740.60-1004000-96 Установка цилиндропоршневой группы и форсунок охлаждения поршня
740.60-1004010-42 Поршень с шатуном и кольцами
740.62-1005007 Установка коленчатого вала
740.62-1005008 Вал коленчатый
740.21-1005059-10 Установка гасителя крутильных колебаний и полумуфты отбора мощности
740.60-1005100-20 Установка маховика
740.70-1005200 Установка привода отбора мощности переднего
740.60-1008000-10 Установка газопровода
7406.1009001 Установка картера масляного
740.60-1011001-10 Установка маслинного насоса
740.60-1011005 Насос масляный с маслозаборником
740.60-1011010 Масляный насос с шестерней
740.90-1012001 Установка фильтра и теплообменника
740.90-1012006 Фильтр масляный с теплообменником
7406.1012010 Фильтр очистки масла
740.90-1013200 Теплообменник маслянный
740.63-1014100 Установка системы вентиляции
740.70-1022800 Установка магнитного клапана и штифтовых факельных свечей
740.70-1022860-10 Клапан с кронштейном, штуцером и трубкой
5350-1100068-10 Установка топливных баков и топливопроводов
53215-1101010 Бак топливный
740.70-1104000 Установка топливопроводов
65115-1104004-70 Установка топливопроводов
5350-1105005 Установка фильтра грубой очистки топлива
5350-1109001-10 Установка воздушного фильтра
5350-1109003-20 Установка воздухоочистителя мультициклонного
5350-1109005-20 Воздухоочиститель с кронштейнами
65116-1109048 Установка тройника
7405.1109510 Фильтр воздушный
740.90-1111000 Установка ТНВД
740.90-1111005-10 Редуктор привода ТНВД
740.90-1112000 Установка форсунки
740.90-1115000-10 Установка системы впуска
7406.1115030-20 Патрубок соединительный
7406.1115045-40 Патрубок объединительный
740.602-1118000-20 Установка турбокомпрессора
740.60-1118010 Турбокомпрессор
4326-1200004 Установка системы выпуска
5350-1300023-50 Установка блока охлаждения
5350-1301500-50 Установка кожуха защитного радиатора
7406.1303002 Установка водяных труб
740.63-1303005-30 Установка корпуса водяных каналов
740.63-1307005 Установка водяного насоса
740.63-1307010 Насос водяной
740.65-1307500 Установка привода агрегатов переднего
740.62-1308010-20 Установка вентилятора
65222-1311005 Установка расширительного бачка
740.37-1317005 Установка электромагнитной муфты
740.30-1317500-02 Муфта электромагнитная привода вентилятора
20.1600010 Сцепление
5350-1600006-30 Установка педали и привода выключения сцепления
6520-1602008 Педаль сцепления с кронштейном и главным цилиндром
6460-1602010 Педаль сцепления
5320-1602510-10 Главный цилиндр управления сцеплением
5320-1602560 Бачок главного цилиндра привода сцепления
5320-1602568 Толкатель поршня главного цилиндра
65115-1700005-30 Установка коробки передач
65115-1703005-30 Установка привода управления механизмом переключения передач
142.1703204 Опора рычага переключения передач с рычагом и краном управления
6460-1772005-07 Установка пневмопривода управлением переключения передач
65111-1800008 Установка крепления раздаточной коробки
65111-1800009-34 Установка управления раздаточной коробки
65111-1800020-21 Коробка раздаточная с коробкой отбора мощности
65111-1802024 Вал первичный раздаточной коробки
65111-1802027-10 Крышка переднего подшипника первичного вала
65111-1802084-10 Вал промежуточный раздаточной коробки
65111-1802104-10 Крышка заднего подшипника промежуточного вала
65111-1802150-10 Дифференциал раздаточной коробки
65111-1802155-10 Обойма дифференциала раздаточной коробки с сателлитами
65111-1802160-10 Обойма дифференциала раздаточной коробки
65111-1802168 Ступица шестерни низшей передачи с втулкой
65111-1802212-10 Крышка заднего подшипника привода заднего моста
65111-1802230-21 Картер привода переднего моста
65111-1802117-10 Крышка переднего подшипника привода переднего моста
65111-1803010 Механизм включения низшей передачи
65111-1803022 Шток включения низшей передачи раздаточной коробки
4350-2200001-20 Установка карданных валов
65111-2202011-35 Вал карданный основной
4326-2201011-10 Вал карданный заднего моста
53205-2201011-10 Вал карданный заднего моста
43114-2300022-10 Мост передний
43118-2302010-10 Передача главная переднего моста
43118-2302021 Вал ведущий переднего моста
53228-2303010-10 Дифференциал переднего моста
4310-2304012 Опора шаровая поворотного кулака
4310-2304029 Корпус поворотного кулака правый
4310-2304081 Цапфа поворотного кулака
4350-2400065-10 Мост задний
43114-2401081 Цапфа заднего моста
5320-2401114 Клапан со штуцером
43253-2402011-10 Передача главная заднего моста
53205-2402015 Картер редуктора заднего моста
53229-2403011-10 Дифференциал заднего моста
4350-2411030 Привод блокировки межколесного дифференциала
4326-2800010 Рама
65115-2801003-55 Установка поперечины нижней
5320-2800016 Установка кронштейнов
43114-2900001 Установка передней подвески
4326-2900002 Установка задней подвески
4310-3101002-20 Установка колес
43118-3101011 Колесо с шиной левое
43118-3102002 Установка защитных дисков
43114-3103010-10 Ступица колеса с барабаном тормоза
43114-3103010-12 Ступица колеса с барабаном тормоза
43114-3105810 Держатель запасного колеса
65224-3122005-64 Установка аппаратов управления давлением воздуха в шинах
4350-3125005 Установка автоматической системы накачки шин
5350-3125018-64 Установка ускорительного клапана системы накачки шин
6520-3400006-19 Установка круиз-контроля
6520-3400002-19 Установка рулевого колеса
5460-3400002-19 Установка рулевого колеса
53205-3400018-30 Установка трубопроводов
4310-3400012 Установка рулевого механизма
65115-3407001-10 Установка насоса рулевого усилителя
4310-3407200-01 Насос рулевого усилителя
4310-3414010-10 Тяга сошки с наконечниками
6520-3400004-19 Установка колонки рулевого управления
6520-3406014-19 Установка крана регулировки рулевой колонки
65115-3422010-19 Вал карданный
53205-3422012 Шарнир карданный
65115-3422014-19 Шарнир с втулкой
6520-3444075-19 Колонка рулевого управления с кронштейном
6520-3444008-19 Колонка рулевого управления
6520-3444010-19 Колонка рулевого управления
4350-3500006-04 Установка пневмотормозов
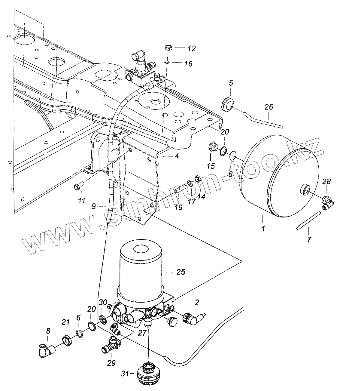
65115-3500011-80 Установка осушителя
6520-3500014-34 Установка двухсекционного тормозного крана
5320-3514108 Кран тормозной двухсекционный с педалью
100-3514108-10 Кран тормозной двухсекционный
16-3515310 Клапан контрольного вывода
43118-3500013-58 Установка воздушных ресиверов
5350-3506001 Установка блока управления тормозами передней оси
65115-3506003-07 Установка жгута управления тормозами прицепа
5460-3500080-05 Установка пневмопривода в кабине
43255-3511001 Блок подготовки воздуха
43114-3501012 Суппорт тормоза
43114-3502010-22 Тормоз задний правый
4350-3506002-04 Установка управления тормозами задней тележки
65115-3509001-03 Установка компрессора
7406.3509003-03 Установка компрессора
740.30-3509004-03 Установка компрессора
7406.3509003-13 Установка компрессора
53205-3509015-20 Компрессор
53205-3509018 Картер компрессора
53205-3509039-20 Головка цилиндра с крышкой
53205-3509088 Крышка задняя в сборе
53205-3509154 Поршень в сборе
43118-3513001 Блок ресиверов с фитингами
43118-3513002 Блок ресиверов с гнездом АКБ
5350-3518001-01 Ускорительный клапан с глушителем
65115-3518010 Блок управления тормозами задней тележки
43255-3542007-80 Блок управления тормозами второго контура
4350-3700001-30 Электрооборудование. Расположение на автомобиле
4350-3700060-30 Электрооборудование. Расположение на панели приборов
740.60-3701001-50 Установка генератора
5320-3703001 Установка аккумуляторных батарей
740.60-3708005 Установка стартера и фиксатора
65228-3710002 Установка выключателя коробки отбора мощности
5308-3710004 Установка выключателя аккумуляторной батареи
6520-3711001-10 Установка блок-фap
53205-3714001-10 Установка плафонов
54105-3714002-24 Установка плафона освещения спального места
53205-3714003 Установка плафона освещения вещевого ящика
5320-3715001 Установка подкапотной лампы
5320-3721001-10 Установка звуковых электрических сигналов
65115-3722002 Установка блока предохранителей
43114-3723003-70 Установка розеток прицепа
53205-3723005 Установка розетки переносной лампы
740.70-3724010 Установка жгута проводов
740.70-3724050 Установка блока управления
5480-3726001-10 Установка бокового повторителя указателя поворота
43118-3731001 Установка боковых габаритных фонарей
5320-3737001-01 Установка малогабаритного выключателя массы
53205-3738001 Установка фонарей автопоезда
5425-3738002 Установка габаритных фонарей
5308-3741001 Установка электрооборудования подогревателя
65115-3741016-60 Установка электрооборудования системы подогрева топлива на панели приборов
65115-3741017 Установка оборудования обогрева зеркал
65117-3743001 Установка протавотуманных фар
740.62-3800001-55 Установка заглушек
5308-3802001 Пломбировка спидометра
5308-3805001 Установка щитка приборов
5350-3816002 Установка указателя давления воздуха в шинах
4308-3830005 Установка датчиков указателя давления воздуха
65115-3840001 Установка тахографа
6520-4000010-74 Система управления двигателем. Расположение на автомобиле
4350-4000012-10 АБС. Расположение на автомобиле
43253-4000120-10 АБС. Расположение на панели приборов
43253-4000220-10 АБС. Расположение на кабине
43253-5000012-16 Кабина в сборе с оперением
43114-5000014-44 Кабина с дверями окрашенная
65222-5000090 Установка пробок и заглушек на кабине
5460-5000121 Установка сиденья водителя
5460-5000122 Установка сиденья пассажира
5460-5000123 Установка среднего сиденья
65115-5000007 Установка подвески кабины и ограничителя подъема кабины
65115-5001005 Установка элементов задней подвески кабины
65115-5001006 Установка задней подвески кабины
5320-5001080 Рессора кабины
43114-5002051-10 Установка ограничителя подъема кабины
4350-5000079 Установка механизма опрокидывания кабины и запасного колеса
65115-5000003 Переднее крепление и механизм уравновешивания кабины
4310-5004005 Насос механизма опрокидывания кабины
6520-5205001 Установка стеклоочистителя
65115-5208004 Установка омывателя
6560-5300023-10 Установка панели приборов
53205-5310001 Установка ручки передка
6522-5325160 Установка поручней панели приборов
6560-5325300 Щиток нижний с приборами
5350-5614200 Установка шумоизоляционного экранадвигателя
65115-5603005 Установка стекол окна задка
53205-5713008 Установка вентиляционного люка крыши
65115-6100005 Установка стекол и арматуры двери
53205-6100014 Дверь правая
53205-6100015 Дверь левая
65115-6102005 Установка обивок двери
65115-6103005 Установка форточек двери
65115-6104005 Установка стеклоподъемников двери
65115-6104011 Стеклоподъемник двери
53205-6104030 Механизм стеклоподъемника двери
5320-6104060 Ручка стеклоподъемника
5320-6105011 Установка замков и ручек двери левая - Door locks and handles installation, l.h.
65115-6105011 Установка замков и ручек двери левая - Door locks and handles installation, l.h.
65115-6108005 Установка косынок передка и ограничителя открывания двери
65115-6110005 Установка опускных стекол
65115-6114005 Установка подлокотников двери
54115-6800900-02 Схема подключения пневмосистемы сидений
6460-6800900-02 Схема подключения пневмосистемы сидений
4308-7900020 Радиооборудование. Расположение на кабине
4308-7900010 Радиооборудование. Расположение на панели приборов
4308-8100005-71 Установка системы отопления
4308-8100006 Установка системы отопления в кабине
5308-8100007-60 Установка шлангов системы отопления
4308-8101060 Радиатор отопителя
5320-8105160-01 Кран отопления
54115-8106001 Установка подогревателя 14TC-01
5350-8106002 Установка топливного бачка и топливопроводов подогревателя
5320-8118027 Улитка вентилятора с распределителем левая
5320-8118069 Колесо рабочее с электродвигателем
5460-8201002-01 Установка зеркал заднего вида
6522-8202005 Установка поручней входа
43502-8212008-02 Установка заводских боковых знаков
65115-8212180 Установка маркировки светоотражающей на кабине
53205-8212300 Установка окантовок и уплотнителей
65115-8213005 Установка надоконных полок
43255-8400006 Установка оперения кабины
63501-8401009 Установка облицовочной панели
43118-8403008-30 Установка задней части переднего крыла правая
65115-8416007 Нижний пояс «Рестайлинг». Условная сборочная единица
65115-8416010-50 Установка облицовки буфера
65115-8405009-50 Установка подножек левая
43118-8405200 Установка подножки дополнительной
65115-8405020 Установка подножки дополнительной
854350-8500008-13 Установка платформы
43505-8500010-70 Платформа
43505-8501010-70 Основание платформы
5350-8501016-70 Каркас основания платформы
53215-8502041-73 Стойка передняя левая
53215-8502060-73 Стойка средняя
53215-8502071-73 Стойка задняя левая
53215-8502010-73 Борт боковой
53215-8505029-73 Запор бортов левый
43505-8508008-70 Каркас тента
43505-8508012-70 Установка тента
4350-8511008-70 Установка брызговиков
53215-8500005-70 Установка световозвращающей маркировки на платформе
4310-2707210 Прибор буксирный
4310-2707235 Корпус буксирного прибора с крышкой (комплект)
5320-2707212 Крюк буксирного прибора
4326-4500010 Установка лебедки
4310-4500002-03 Установка управления коробкой отбора мощности
4310-4501010 Тросоукладчик лебедки,барабан троса и поперечина
4310-4501014 Редуктор лебедки в сборе
4310-4501280 Ролики направляющие троса лебедки в сборе
4326-4502010 Вал карданный лебедки передний
4326-4502110 Вал карданный лебедки задний
4326-4502210-01 Вал карданный промежуточный
4310-4505003 Установка блока лебедки
4310-4505010 Блок лебедки
4310-4511010 Тросоукладчик лебедки веб
1
2
2
2
2
2
2
2
4
5
6
6
7
8
9
11
12
14
15
16
17
19
20
20
21
25
25
25
25
25
25
25
26
26
26
27
28
29
30
30
30
31
Позиция на иллюстрации
Заводской номер детали
Название детали
65115-3500011-82
65115-3500011-82
Установка осушителя
65115-3500011-86
65115-3500011-86
Установка осушителя
65115-3500011-89
65115-3500011-89
Установка осушителя
65115-3500011-80
65115-3500011-80
Установка осушителя
1
65115-3511004
Ресивер регенерационный
2
6520-3511005-02
Кабель осушителя
2
6520-3511005-03
Кабель осушителя
2
6520-3511006-02
Кабель осушителя
2
65.20-3511006-03
Кабель осушителя
4
65115-3511005
Кронштейн
5
5320-3724047
Втулка уплотнительная держателя пучков проводов
6
740.1003439
Кольцо уплотнительное
7
53205-3506041
Трубка
8
53205-3511020
Угольник
9
53215-3506081
Трубка
11
1/55404/21
Болт М12х1,25-6gх30
12
1/21647/11
Гайка М10х1,25-6Н
14
1/07912/11
Гайка низкая М12х1,5-6Н
15
864323
Пробка М22х1,5-6Н
16
1/05168/77
Шайба 10 пружинная
17
1/05170/77
Шайба 12 пружинная
19
853323
Шпилька
20
861024
Шайба
21
861021
Гайка М22х1,5-6Н
25
45104351101290
Осушитель 5.242.22.102.0
25
45104351101790
Осушитель 432.410.140.0
25
2233-3512010-20
Регулятор давления с адсорбером и глушителем
25
45104351101190
Осушитель
26
45104351100100
Провод 2233-79.80.100
26
45104351100110
Провод 2233-79.80.100-Е
27
45104350604490
Фитинг угловой
28
45104350604290
Фитинг угловой
29
45104350604690
Тройник вертикальный
30
45104350600400
Сетка АДЮИ.305.122.003
30
45104350600500
Сетка СБИТ 305122. 003
31
45104350600200
Глушитель 8089.00.00.000
Содержащиеся в справочниках-каталогах запасные части и детали не предлагаются к продаже, а носят исключительно информационный характер
Дополнительная информация
×
Название:
Номер:
Примечание: