Вернуться на главную
Поиск
Каталоги запчастей к технике
Грузовые автомобили и прицепы
Камский автозавод
43255 (Евро-2)
65115-3500011-46 Установка осушителя
Каталог запасных частей к технике: Камский автозавод 43255 (Евро-2). 65115-3500011-46 Установка осушителя
zoom-in
zoom-out
enlarge
shrink
circle-right
circle-left
file-text2
info
cart
Тип техники
Не выбрано
Легковые автомобили
Грузовые автомобили и прицепы
Автобусы
Сельхозтехника
Спецтехника
Двигатели
Мототехника
Марка
Не выбрано
BAW
DAF
DongFeng
FAW
Foton
HOWO
Hyundai
IVECO
JAC Motors
LGMG
MAN
Shaanxi
SITRAK
Studebaker
Tata
Volvo
Автокомпонент Плюс
БелАЗ
Брянский Арсенал
ГАЗ
ЗИЛ
КАЗ
Камский автозавод
КрАЗ
Мадара
МАЗ
МЗКТ
МоАЗ
Нефтекамский автозавод
Ставропольский Завод АвтоПрицепов
ТАТРА
Тонар
УралАЗ
ЧМЗАП
Модель
Не выбрано
4308 (2004)
4308 (2008)
4308 (Евро 3) (2013)
4308 (Евро 4) (2012)
4308-C4 (2019)
4308-C4 (2019)
4308-H3 (2019)
4308-R4 (2019)
4310
4310
43101
43114
43118 (2002)
43118 (Евро 4) (2012)
43253 (Часть-1) (2011)
43253 (Часть-2) (2011)
43253, 43255 (Евро-4) (2012)
43255 (Евро-2) (2012)
43255 (Евро-3) (2012)
4326 (2001)
4326 (2003г)
43261 (Евро-1, 2) (2007)
4350 (4х4) (2004)
43501 (4х4) (2007)
43502 (Евро 4) (2013)
45141 (2009)
45142 (2009)
45143 (2009)
5308 (Евро 3) (2012)
5308 (Евро 4) (2013)
5315
5320
53212
53228, 65111 (2004)
53229 (Евро 2) (2010)
5350 (6х6) (2004)
53501 (6х6) (2007)
53504 (6х6) (2007)
5360
53605 (Евро-4) (2013)
5410
54112
5460
5460 (2005)
5490 (2016)
55102
5511 (2003)
6350 (8х8) (2004)
63501 (8х8) (2007)
6450 (8х8) (2007)
6460
6460 (Евро 3, 4) (2013)
6460 (Евро 4) (2013)
65111 (2008)
65111 (Евро 4) (2012)
65115 (2001)
65115 (2009)
65115 (Евро-3) (2013)
65115, 65116 (Евро-4) (2010)
65116 (2006)
6520
6520 (Euro-2, 3) (2009)
6520 (Euro-4) (2012)
6520 (Euro-4) (2016)
65201 (2007)
65201 Евро 2-3 (2016)
6522 (2005)
6522 (Euro-2, 3) (2009)
6522 (Евро-4) (2016)
65226 (2009)
65226 (2013)
6540
KNORR-BREMSE применяемых на технике Камского автозавода
Общий (5320, 53212, 5410, 54112, 5511, 55102)
Самосв. установка 6520 (2011)
Схема
>
Не выбрано
43255-1000250 Агрегат силовой, укомплектованный для установки на автомобиль
43255-1000251 Агрегат силовой, укомплектованный для установки на автомобиль
43255-1001005 Установка силового агрегата
4308-1001009 Опора передняя с подушкой
43255-1001048 Кронштейн задней опоры левый
43255-1100010 Установка топливного бака, фильтра грубой очистки топлива и топливопроводов
53215-1101010-03 Бак топливный
65115-1103010 Пробка топливного бака
4308-1108003 Установка управления подачей топлива
5320-1108120-99 Тяга ручного управления подачей топлива двигателя
43255-1109001 Установка воздушного фильтра
4308-1109003 Установка воздухозаборника
4308-1109400 Воздухозаборник
740.1109510-03 Фильтр воздушный
4308-1170000-01 Установка системы охлаждения наддувочного воздуха
43255-1200002 Установка системы выпуска
43255-1200002-01 Установка системы выпуска
43255-13000023 Установка радиатора
4308-1308005-10 Установка вентилятора с вязкостной муфтой
4308-1308005-30 Установка вентилятора с вязкостной муфтой
4308-1311005 Установка расширительного бачка
4308-1311010 Бачок расширительный
4308-1311086 Скоба наружная
4308-1600005 Установка коробки передач и механизма выключения сцепления
4308-1600006 Установка педали и привода выключения сцепления
4308.1600010 Сцепление
4308-1601008 Картер сцепления
4308-1602008 Педаль сцепления с кронштейном и главным цилиндром
5320-1602010 Педаль сцепления
5320-1602510-10 Главный цилиндр управления сцеплением
5320-1602512 Главный цилиндр
5320-1602560 Бачок главного цилиндра привода сцепления
5320-1602568 Толкатель
141.1700108-20 Коробка передач с картером сцепления
141.1700108-40 Коробка передач с картером сцепления
14.1701010 Картер коробки передач
141.1701025-30 Вал первичный коробки передач
141.1701027-30 Вал первичный коробки передач со втулкой
14.1701039-60 Крышка подшипника первичного вала
14.1701047 Вал промежуточный
141.1701100-20 Вал вторичный
14.1701200 Крышка заднего подшипника вторичного вала
14.1701201 Крышка заднего подшипника вторичного вала
14.1702010 Механизм переключения передач
14.1702013 Крышка коробки передач верхняя
14.1702026 Вилка переключения 2-ой и 3-ей передач
14.1702031 Вилка переключения 4-ой и 5-ой передач
142.1702200 Опора рычага переключения передач
142.1702208 Опора рычага переключения передач
4308-1703005 Привод управления механизмом переключения передач
4308-1703005-50 Привод управления механизмом переключения передач
43253-2200001-10 Установка карданного вала
43253-2201011-10 Вал карданный заднего моста
43253-2201017-10 Вал карданный с шарниром
53216-2205011 Вал карданный среднего моста
53205-2205017-10 Вал карданный с шарниром
53205-2205020 Шарнир приварной
53205-2205026-10 Крестовина карданного вала
43253-2400025-10 Мост задний
43253-2402011-20 Передача главная заднего моста
5320-2402050 Крышка стакана подшипников
5320-2402064-10 Шестерня ведомая коническая
53229-2403011-10 Дифференциал заднего моста
53212-2403054 Сателлит дифференциала заднего моста с втулкой
55102-2409016 Вилка блокировки
43255-2411020 Привод блокировки межколесного дифференциала
43255-2800010-10 Рама
5320-2800016 Установка кронштейнов
5325-2803003 Установка переднего буфера
5325-2803005 Буфер передний с клыками
53205-2803010 Передний буфер
5410-2806040 Установка буксирной проушины
43255-2900001 Установка передней подвески
4925-2900002-01 Установка задней подвески
65115-2902012 Рессора передняя
65115-2902020 Ушко со втулкой
65115-2905535 Кронштейн амортизатора левый
5425-2912012-01 Рессора задняя
4925-2912018 Ушко с втулкой и манжетами
65115-3000012-13 Ось передняя с тормозами
65115-3000015 Ось передняя
53205-3001012-10 Кулак поворотный
53215-3101002 Установка передних колёс
53215-3101003 Установка сдвоенных колес
53215-3101011 Колесо 7,5-20 с шиной
65115-3103010 Ступица переднего колеса с барабаном тормоза
65115-3104010 Ступица заднего колеса с барабаном тормоза
65115-3104017 Манжета
53229-3105010 Держатель запасного колеса
4310-3400012 Установка рулевого механизма
5425-3400014 Установка колонки рулевого управления
43255-3400018 Установка трубопроводов
43255-3400018-10 Установка трубопроводов и бачка насоса ГУР
4308-3400019 Установка бачка
4310-3400020 Механизм рулевой
4310-3401010 Картер механизма рулевого управления
4310-3401063 Вал сошки с крышкой
4310-3401710 Редуктор угловой механизма рулевого управления
4310-3401716 Корпус углового редуктора механизма рулевого управления
4310-3401720 Крышка корпуса с манжетами
4310-3401736 Шестерня ведущая углового редуктора с корпусом
4310-3401750 Шестерня ведомая углового редуктора
53205-3414010 Тяга сошки
4310-3422010 Вал карданный рулевого управления
4310-3430012 Клапан управления гидроусилителем руля
4310-3430014 Корпус клапана управления гидроусилителем руля
5425-3444009 Колонка рулевого управления с замком противоугонного устройства
5425-3444010 Колонка рулевого управления
43255-3500006-82 Установка пневмопривода тормозов
65115-3500011 Установка блока подготовки воздуха
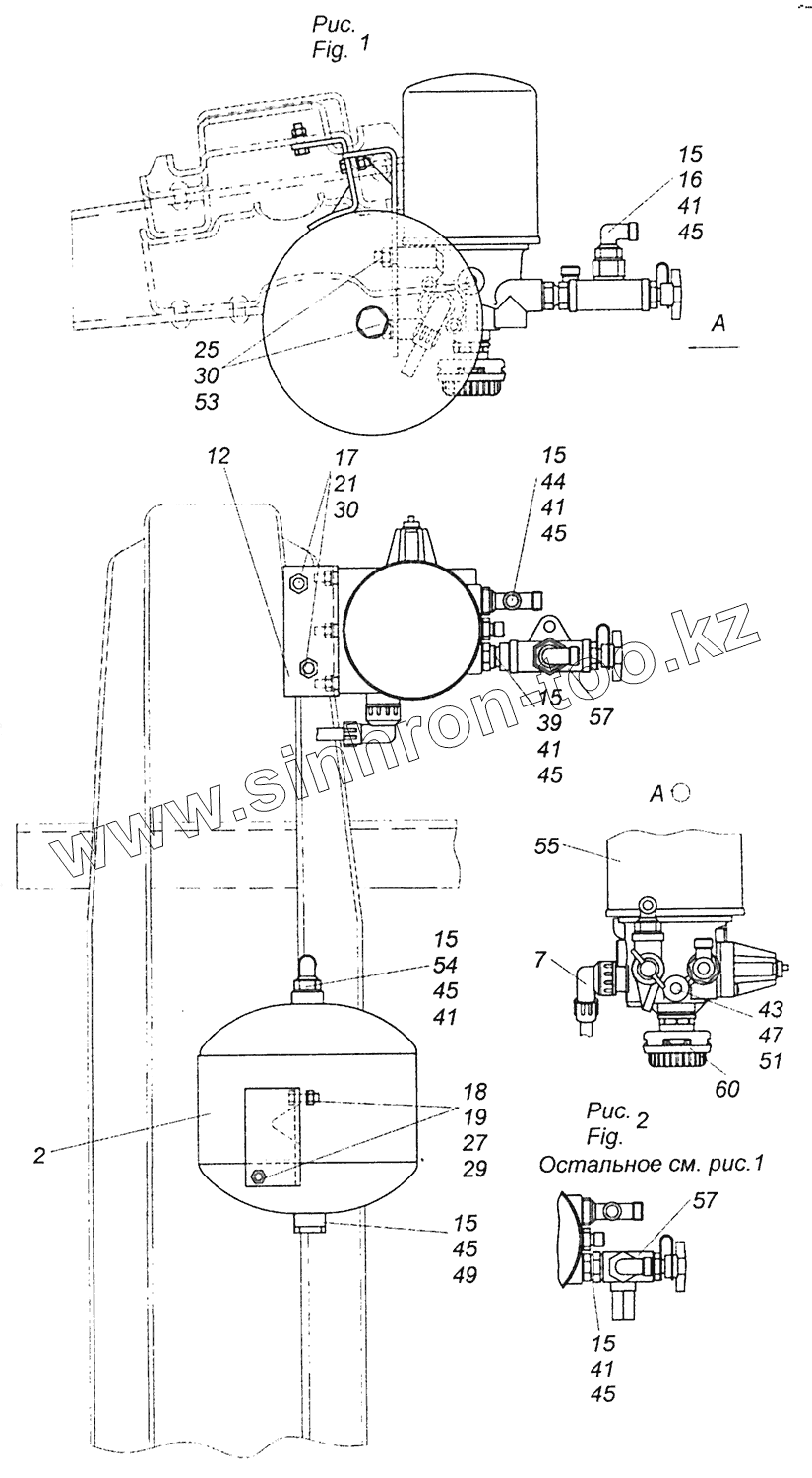
65115-3500011-46 Установка осушителя
43253-3500013-14 Установка воздушных ресиверов
6520-3500014 Установка двухсекционного тормозного крана
5320-3500015-10 Установка четырехконтурного защитного клапана
4925-3500018 Установка ускорительных клапанов
4925-3500033 Установка регулятора тормозных сил
53205-3500037-22 Установка кабелей АБС
53205-3500037-41 Установка кабелей АБС
53205-3500037-45 Установка кабелей АБС
43253-3500062 Установка клапана двухмагистрального
43255-3500070-82 Тормоз вспомогательный и его привод
43255-3500070-86 Тормоз вспомогательный и его привод
65115-3501011-22 Тормоз передний
5320-3501013-10 Суппорт переднего тормоза
53229-3502136/237 Рычаг тормоза
53205-3506042-41 Установка пневмоуправления системой АБС
65115-3506180-82 Установка охладителя
4308-3509003 Установка подвода воздуха к компрессору
100-3533010 Регулятор тормозных сил в сборе
16-3513110 Кран слива конденсата
5320-3514108 Кран тормозной двухсекционный с педалью
100-3514108-10 Кран тормозной двухсекционный
16-3515310 Клапан контрольного вывода
53205-3515400-10 Клапан защитный четырехконтурный
16-3515510 Кран экстренного растормаживайия
100-3537110 Кран аварийного растормаживания в сборе
53205-3541110 Датчик скорости с кронштейном
6460-3570014-10 Корпус вспомогательного тормоза с заслонкой
65115-3570014 Корпус вспомогательного тормоза с заслонкой
53205-3570205 Пневмоцилиндр вспомогательного тормоза
43255-3700001-15 Электрооборудование. Расположение на автомобиле
43255-3700001-16 Электрооборудование. Расположение на автомобиле
43253-3703001-35 Установка аккумуляторных батарей
53215-3709002 Установка подрулевого переключателя
53229-3710428-28 Панель выключателей
53205-3711001 Установка фар и передних указателей поворота
53205-3714001-10 Установка плафонов
53205-3714003 Установка плафона освещения вещевого ящика
5320-3715001 Установка подкапотной лампы
5513-3716002-85 Установка задних фонарей
53215-3718001-85 Установка электромеханического корректора
5320-3721001-10 Установка звуковых электрических сигналов
53205-3722501 Установка предохранителей
53205-3722501-10 Установка предохранителей
53205-3723005 Установка розетки переносной лампы
53215-3726001 Установка бокового повторителя указателей поворота
53215-3726002 Установка прерывателя указателей поворота
43255-3731001 Установка боковых габаритных фонарей
54115-3731001 Установка боковых габаритных фонарей на переднем крыле
5320-3737001-01 Установка малогабаритного выключателя массы
5425-3738002 Установка габаритных фонарей
53205-3741001-50 Установка электрооборудования подогревателя
6520-3747001 Установка реле
53215-3805010-02 Щиток приборов
43114-3830001 Установка трубопроводов к манометру
53205-3830002 Установка датчиков аварийного давления воздуха
43255-3859001-10 Установка электрооборудования АБС
53215-3859001-24 Установка электрооборудования АБС
53215-3859001-45 Установка электрооборудования АБС
5320-5000003 Переднее крепление и механизм уравновешивания кабины
43255-5000014 Кабина с дверями окрашенная
53205-5000075-10 Установка ремней безопасности
43255-5000079 Установка механизма опрокидывания кабины
53205-5000120-10 Установка сиденей
53205-5001006 Установка задней подвески кабины
5320-5001010 Кронштейн переднего крепления кабины верхний
5320-5001080 Рессора кабины
4310-5002051 Установка ограничителя подъема кабины
4310-5002074 Шпилька стопорная
4310-5003010 Гидроцилиндр
43114-5003014 Гидроцилиндр МОК в сб.
4310-5003014 Цилиндр опрокидывающего механизма кабины
4310-5003038 Поршень
53205-5018010 Запор кабины правый
5320-5018014 Корпус запора кабины правый
5320-5018060 Кронштейн запора кабины правый
53205-5205001 Установка стеклоочистителя
53205-5208004 Установка омывателя электрического
5320-5300023 Установка панели приборов
5320-5301047/046 Панель передка боковая съемная левая
5320-5303012 Ящик вещевой
5320-5303020 Дверка вещевого ящика
5320-5303039 Ограничитель
43255-5614200 Установка шумоизоляционного экрана
53205-5713008 Установка вентиляционного люка крыши
53205-6100005 Установка стекол и арматуры двери левой
53205-6100014 Дверь правая
53205-6100015 Дверь левая
5320-6103051-01 Стекло форточки двери
53205-6103210 Стекло двери опускное
53205-6104011/010 Стеклоподъемник двери
53205-6104030 Механизм стеклоподъемника двери
5320-6104060 Ручка стеклоподъемника
5320-6105020-10/021-10 Замок двери правый/левый
5320-6105035-10 Фиксатор замка левый
5320-6105080/81 Привод замка двери правый/левый в сборе
5320-6105150 Ручка двери наружная в сборе
5320-6106083 Ограничитель двери
53205-6800010 Сидение водителя
5320-6804010 Механизм подрессоривания сиденья водителя
5320-6804111 Механизм перемещения сиденья водителя
5320-6804756 Ручка регулировки торсиона
53205-6810010 Сиденье пассажирское
53205-6830010 Сиденье пассажирское с ящиком
43255-8100005 Установка системы отопления
5320-8101257 Распределитель горячего воздуха левый
5320-8102030 Сопло обдува ветрового стекла
5320-8105010 Кран сливной
5320-8105015 Пробка крана
5320-8105160 Кран отопления
5320-8109020-10 Привод управления отоплением
5320-8118027 Улитка вентилятора с распределителем левая
5320-8118069 Колесо рабочее с электродвигателем
53205-8201002 Установка зеркал заднего вида
5320-8202200\201 Ручка правая\левая
5320-8204011\10 Козырек противосолнечный с обивкой левыйЛправый
65115-8212291-50 Установка знаков двигателя
53205-8213005 Установка надоконной полки и противосолнечных козырьков
54115-8213005 Установка надоконной полки и противосолнечных козырьков
43255-8400004 Установка брызговиков
4310-8400012 Установка оперения кабины
53205-8401010 Панель облицовочная
43255-8403008 Установка задней части переднего крыла правая
5320-8406010-01 Замок панели
5320-8406100 Личинка замка панели
5320-8407011 Петля облицовочной панели левая
43253-8410003-30 Установка боковой защиты
5511-4202001-20 Установка коробки отбора мощности с насосом
2
7
7
7
12
15
15
15
15
15
15
16
17
18
19
21
25
27
29
30
30
39
41
41
41
41
41
43
44
45
45
45
45
45
45
47
49
51
53
54
55
55
55
57
57
57
57
60
Позиция на иллюстрации
Заводской номер детали
Название детали
65115-3500011-42
65115-3500011-42
Установка осушителя
65115-3500011-46
65115-3500011-46
Установка осушителя
2
65115-3511013
Ресивер регенерационный
7
54115-3724048-74
Соединительный кабель
7
54115-3724048-22
Соединительный кабель
12
53205-3511021
Кронштейн
15
740,1003439
Кольцо уплотнительное
16
53205-3511020
Угольник
17
1/55404/21
Болт М12х1,25-6gх30
18
1/60436/21
Болт М8-6gх25
19
1/61008/11
Гайка М8х1,25-6Н
21
1/61015/11
Гайка М12х1,25-6Н
25
1/07912/11
Гайка низкая М12х1,5-6Н
27
1/26470/01
Шайба плоская 8,45х25х2,5
29
1/05164/77
Шайба 6 пружинная
30
1/05170/77
Шайба 12 пружинная
39
861017
Штуцер проходной
41
861021
Гайка М22х1,5-6Н
43
861022
Шайба 10
44
861032
Тройник
45
861024
Шайба
47
864204
Кольцо уплотнительное
49
864323
Пробка М22х1,5-6Н
51
864894
Штуцер ввертный
53
853323
Шпилька
54
861005
Угольник ввертный
55
45104351100790
Осушитель 432.410.102.0
55
45104351100190
Осушитель LА 6273
57
45104351100590
Клапан накачки шин 463.711.100.0
57
45104351100390
Клапан накачки шин ZВ3167
60
45104350600200
Глушитель 8089.00.00.000
Содержащиеся в справочниках-каталогах запасные части и детали не предлагаются к продаже, а носят исключительно информационный характер
Дополнительная информация
×
Название:
Номер:
Примечание: