Вернуться на главную
Поиск
Каталоги запчастей к технике
Грузовые автомобили и прицепы
Камский автозавод
43253 (Часть-2)
5320-3715001 Установка подкапотной лампы
Каталог запасных частей к технике: Камский автозавод 43253 (Часть-2). 5320-3715001 Установка подкапотной лампы
zoom-in
zoom-out
enlarge
shrink
circle-right
circle-left
file-text2
info
cart
Тип техники
Не выбрано
Легковые автомобили
Грузовые автомобили и прицепы
Автобусы
Сельхозтехника
Спецтехника
Двигатели
Мототехника
Марка
Не выбрано
BAW
DAF
DongFeng
FAW
Foton
HOWO
Hyundai
IVECO
JAC Motors
LGMG
MAN
Shaanxi
SITRAK
Studebaker
Tata
Volvo
Автокомпонент Плюс
БелАЗ
Брянский Арсенал
ГАЗ
ЗИЛ
КАЗ
Камский автозавод
КрАЗ
Мадара
МАЗ
МЗКТ
МоАЗ
Нефтекамский автозавод
Ставропольский Завод АвтоПрицепов
ТАТРА
Тонар
УралАЗ
ЧМЗАП
Модель
Не выбрано
4308 (2004)
4308 (2008)
4308 (Евро 3) (2013)
4308 (Евро 4) (2012)
4308-C4 (2019)
4308-C4 (2019)
4308-H3 (2019)
4308-R4 (2019)
4310
4310
43101
43114
43118 (2002)
43118 (Евро 4) (2012)
43253 (Часть-1) (2011)
43253 (Часть-2) (2011)
43253, 43255 (Евро-4) (2012)
43255 (Евро-2) (2012)
43255 (Евро-3) (2012)
4326 (2001)
4326 (2003г)
43261 (Евро-1, 2) (2007)
4350 (4х4) (2004)
43501 (4х4) (2007)
43502 (Евро 4) (2013)
45141 (2009)
45142 (2009)
45143 (2009)
5308 (Евро 3) (2012)
5308 (Евро 4) (2013)
5315
5320
53212
53228, 65111 (2004)
53229 (Евро 2) (2010)
5350 (6х6) (2004)
53501 (6х6) (2007)
53504 (6х6) (2007)
5360
53605 (Евро-4) (2013)
5410
54112
5460
5460 (2005)
5490 (2016)
55102
5511 (2003)
6350 (8х8) (2004)
63501 (8х8) (2007)
6450 (8х8) (2007)
6460
6460 (Евро 3, 4) (2013)
6460 (Евро 4) (2013)
65111 (2008)
65111 (Евро 4) (2012)
65115 (2001)
65115 (2009)
65115 (Евро-3) (2013)
65115, 65116 (Евро-4) (2010)
65116 (2006)
6520
6520 (Euro-2, 3) (2009)
6520 (Euro-4) (2012)
6520 (Euro-4) (2016)
65201 (2007)
65201 Евро 2-3 (2016)
6522 (2005)
6522 (Euro-2, 3) (2009)
6522 (Евро-4) (2016)
65226 (2009)
65226 (2013)
6540
KNORR-BREMSE применяемых на технике Камского автозавода
Общий (5320, 53212, 5410, 54112, 5511, 55102)
Самосв. установка 6520 (2011)
Схема
>
Не выбрано
4310-3400012 Установка рулевого механизма
4310-3400020 Механизм рулевой
4310-3401010-20 Картер механизма рулевого управления
4310-3401063 Вал сошки с крышкой
4310-3401710 Редуктор угловой механизма рулевого управления
4310-3401716 Корпус углового редуктора механизма рулевого управления
4310-3401720 Крышка корпуса с манжетами
4310-3401736 Шестерня ведущая углового редуктора с корпусом
4310-3401750 Шестерня ведомая углового редуктора
4310-3430012 Клапан управления гидроусилителем руля
4310-3430014 Корпус клапана управления гидроусилителем руля
5320-3430220-01 Клапан обратный
53205-3414010 Тяга сошки
5425-3400014 Установка колонки рулевого управления
43255-3400014-19 Установка колонки рулевого управления
6520-3406014-19 Установка крана регулировки рулевой колонки
43255-3422010-19 Вал карданный
53205-3422010-75 Вал карданный
53205-3422012 Шарнир карданный
43255-342201.4-19 Шарнир с втулкой
5425-3444009 Колонка рулевого управления с замком противоугонного устройства
5425-3444010 Колонка рулевого управления
6520-3444075-19 Колонка рулевого управления с кронштейном
6520-3444008-19 Колонка рулевого управления
6520-3444010-19 Колонка рулевого управления
740.30-3407005 Установка насоса рулевого усилителя
4310-3407200-20 Насос гидроусилителя руля
4310-3407200-21 Насос рулевого усилителя
4310-3407201-02 Насос гидроусилителя руля
4310-3407212-02 Крышка насоса рулевого усилителя
53212-3407270 Клапан перепускной насоса гидроусилителя рулевого управления
4310-3407338-10 Фильтр насоса гидроусилителя руля
53205-3400018-10 Установка трубопроводов
43255-3400018-19 Установка трубопроводов и бачка насоса ГУР
5297-3414052 Тяга рулевой трапеции
6520-3414055 Наконечник тяги
43255-3407001 Установка насоса ГУР
43114-3500011-04 Установка осушителя
43114-3500011-17 Установка осушителя
43253-3500013 Установка воздушных ресиверов
16-3513110 Кран слива конденсата
6520-3500014 Установка двухсекционного тормозного крана
6520-3500014-34 Установка двухсекционного тормозного крана
5320-3514108 Кран тормозной двухсекционный с педалью
100-3514108-10 Кран тормозной двухсекционный
16-3515310 Клапан контрольного вывода
5320-3500015-04 Установка четырехконтурного защитного клапана
5320-3500015-10 Установка четырехконтурного защитного клапана
53205-3515400-10 Клапан защитный четырехконтурный
4925-3500018 Установка ускорительных клапанов
43253-3500018-04 Установка ускорительных клапанов
4925-3500033 Установка регулятора тормозных сил
43253-3500033-04 Установка регулятора тормозных сил
100-3533010 Регулятор тормозных сил в сборе
53205-3500037-22 Установка кабелей АБС
43253-3500037-41 Установка кабелей АБС
53205-3500042-41 Установка модуляторов АБС
43253-3500042-41 Модуляторы с соединительной арматурой
53205-3506042-41 Установка пневмоуправления системой АБС
43253-3506042-41 Установка пневмоуправления системой АБС
43253-3500062 Установка клапана двухмагистрального
43118-3506180 Установка охладителя
65115-3506180-82 Установка охладителя
65115-3500070-82 Тормоз вспомогательный и его привод
65115-3570014 Корпус вспомогательного тормоза с заслонкой
53205-3570205 Пневмоцилиндр вспомогательного тормоза
53205-3570210 Цилиндр пневматический ф35х65
65115-3501011-22 Тормоз передний
53229-3501090-40 Колодка тормоза с накладками
5511-3502121-10 Кронштейн тормозной камеры и разжимного кулака
53229-3501011-22 Тормоз передний левый
661-3519310 Камера тормозная тип 30
661-3519210 Камера тормозная тип 24
43253-3502011-32 Тормоз задний левый
5320-3502012-10 Суппорт заднего тормоза
53229-3501090-50 Колодка тормоза с накладками
53229-3501090-51 Колодка тормоза с накладками
53229-3502237 Рычаг регулировочный заднего тормоза
7405.3509003-10 Установка компрессора
53205-3509015 Компрессор
53205-3509018 Картер компрессора
53205-3509039 Головка цилиндра с крышкой
53205-3509088 Крышка задняя в сборе
53205-3509154 Поршень в сборе
16-3515310 Клапан контрольного вывода
16-3515510 Кран экстренного растормаживания
6029-3537310-20 Установка крана тормозного обратного действия с ручным управлением
5320-3570010 Установка цилиндра выключения подачи топлива
53205-3570010-54 Установка пневмоцилиндра вспомогательного тормоза
5320-3570074-10 Цилиндр пневматический с тягой
53215-3570105-54 Пневмоцилиндр вспомогательного тормоза
100-3570110 Цилиндр выключения подачи топлива пневматический
53205-3541110 Датчик скорости с кронштейном
45104351551000 Установка крана экстренного растормаживания
5308-3509000-01 Установка подвода воздуха к компрессору тормозов
43253-3700001-24 Электрооборудование. Расположение на автомобиле
43255-3700001-18 Электрооборудование. Расположение на автомобиле
53215-3703001-88 Установка аккумуляторных батарей
43253-3703001-35 Установка аккумуляторных батарей
4308-3710004-30 Установка выключателя аккумуляторной батареи
53215-3709002 Установка подрулевого переключателя
53605-3710001-20 Установка выключателей
65115-3710001-80 Установка выключателей
53215-3710428-85 Панель выключателей
54115-3710428-50 Панель выключателей
53205-3711001 Установка фар и передних указателей поворота
53215-3711001 Установка фар и передних указателей поворота
53205-3714001-10 Установка плафонов
53205-3714003 Установка плафона освещения вещевого ящика
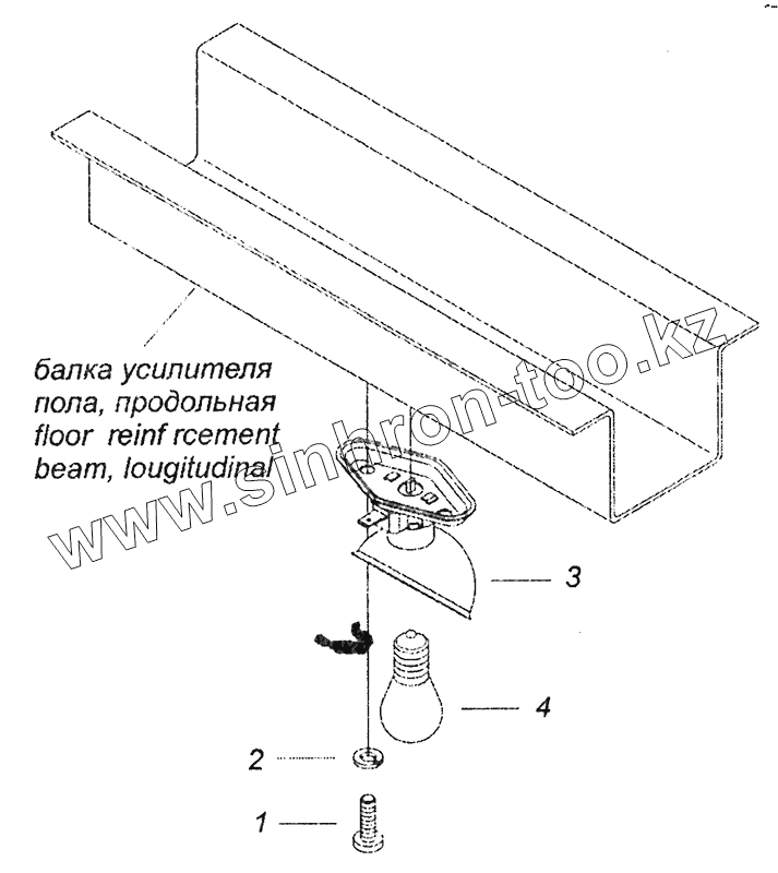
5320-3715001 Установка подкапотной лампы
53215-3716002 Установка задних фонарей
53215-3718001 -85 Установка электромеханического корректора
5320-3721001-10 Установка звуковых электрических сигналов
4308-3722001-30 Установка предохранителей
53602-3722002 Установка блока предохранителей
53205-3722501-10 Установка предохранителей
53205-3723005 Установка розетки переносной лампы
53215-3726001 Установка бокового повторителя указателя поворота
53215-3726002 Установка прерывателя указателей поворота
54115-3731001 Установка боковых габаритных фонарей на переднем крыле
4326-3731001 Установка боковых габаритных фонарей
53215-3731002 Установка задних контурных фонарей
43118-3731002-85 Установка боковых габаритных фонарей
5320-3737001-01 Установка малогабаритного выключателя массы
5425-3738002 Установка габаритных фонарей
65115-3741008 Установка оборудования обогрева зеркал
4308-3747001-50 Установка реле
6460-3747001 Установка реле
6460-3747001-50 Установка реле
6460-3747195 Установка электронного реле стартера
7406.3701002-30 Установка генератора
740.13-3708005 Установка стартера
53205-3741001 Установка электрооборудования подогревателя
53205-3741001-20 Установка электрооборудования подогревателя ПЖД-12
53205-3741001-50 Установка электрооборудования подогревателя
65228-3741001 Установка электрооборудования подогревателя
65115-3741001 Установка электрооборудования подогревателя
65115-3741004-40 Установка электрооборудования системы подогрева топлива
65115-3741300 Установка контактора подогревателя воздуха
53215-3759001 Установка преобразователя напряжения
65115-3741300-01 Установка контактора подогревателя воздуха
6460-3731001-30 Установка боковых габаритных фонарей на переднем крыле
5480-3726001 Установка бокового повторителя указателя поворота
740.62-3800001 Установка датчиков
740.62-3800001-10 Установка датчиков на двигателе
53215-3800002 Установка датчиков на коробке передач
740.62-3800002 Установка датчиков на коробку передач
53205 3802001 Пломбировка спидометра
53215-3805010-84 Щиток приборов
53215-3805010-94 Щиток приборов
4308-3805001-42 Установка щитка приборов
4308-3805010-42 Щиток приборов
4308-3830005 Установка датчиков указателя давления воздуха
53205-3830002 Установка датчиков аварийного давления воздуха
53215-3859001-10 Установка электрооборудования АБС
65201-3859001-40 Установка электрооборудования АБС
5308-3805010 Щиток приборов «Рестайлинг»
4308-4000001-13 Электроника. Расположение на автомобиле
4308-4011037 Установка датчика педали сцепления
65115-4012001 Установка предохранителей
6520-4011033 Установка переключателей на панели приборной
6520-4011040 Установка выключателя моторного тормоза
6520-4012002 Установка реле
54115-5000003 Переднее крепление и механизм уравновешивания кабины
5320-5000003 Переднее крепление и механизм уравновешивания кабины
65115-5000003 Переднее крепление и механизм уравновешивания кабины
53205-5000012-93 Кабина
43255-5000012-20 Кабина
43255-5000012-40 Кабина в рестайлинговом исполнении (высокая крыша)
5320-5000012-61 Кабина в рестайлинговом исполнении (низкая крыша)
54105-5000014 Кабина с дверями окрашенная
43255-5000014-20 Кабина с дверями окрашенная
5320-5000014 Кабина с дверями окрашенная (рестайлинг)
53205-5000075 Установка ремней безопасности
54115-5000075 Установка ремней безопасности
5460-5000120 Установка сидений
54115-5000120 Установка сидений
5320-5001010 Кронштейн переднего крепления кабины верхний
53205-5018010 Запор кабины правый
53205-5018011 Запор кабины левый
43114-5001006-20 Установка задней подвески кабины
4308-5001006-01 Установка задней подвески кабины
65115-5001006 Установка задней подвески кабины (рестайлинг)
5320-5001080 Рессора кабины
5320-5018060 Кронштейн запора кабины правый
43114-5002051-10 Установка ограничителя подъема кабины
4310-5002051 Установка ограничителя подъема кабины
54115-5000079 Установка механизма опрокидывания кабины
43255-5000079-10 Установка механизма опрокидывания кабины
43114-5003014 Гидроцилиндр МОК в сборе
4310-5003014 Цилиндр опрокидывающего механизма кабины
6520-5003079 Установка гидроцилиндра кабины
6520-5205001 Установка стеклоочистителя
6520-5208004 Установка омывателя
65115-5206005 Установка ветровых стекол
53205-5300023-10 Монтаж и крепление панели приборов
6560-5300023-10 Установка панели приборов
5320-5301047 Панель передка боковая съемная левая
53229-5614200 Установка шумоизоляционного экрана
43255-5614200-10 Установка шумоизоляционного экрана
53205-5713008 Установка вентиляционного люка крыши
53205-6100005 Установка стекол и арматуры двери левой
53205-6100015 Дверь левая
53205-6100014 Дверь правая
5320-6103051-01 Стекло форточки двери
53205-6103210 Стекло двери опускное
53205-6104011 Стеклоподъемник двери
53205-6104030 Механизм стеклоподъемника двери
5320-6104060 Ручка стеклоподъемника
5320-6105020-10 Замок двери правый
5320-6105080 Привод замка двери правый в сборе
5320-6105150 Ручка двери наружная
5320-6105035-10 Фиксатор замка левый
5320-6106083 Ограничитель двери
54115-6800900-02 Схема подключения пневмосистемы сидений
53205-8100005 Установка системы отопления
4308-8100005 Установка системы отопления кабины
5320-8102030 Сопло обдува ветрового стекла
5320-8105160 Кран отопления
5320-8109020-10 Привод управления отоплением
4308-8109020 Привод управления отоплением
5320-8118027 Улитка вентилятора с распределителем левая
5320-8118069 Колесо рабочее с электродвигателем
53205-8106001 Установка подогревателя 15.8106
43255-8106001-10 Установка подогревателя 14TC
5320-8105010 Кран сливной
53205-8106002-60 Установка топливного бачка и топливопроводов подогревателя 15.8106
43255-8106002-10 Установка топливного бачка и топливопроводов подогревателя 14ТС
53205-8201002 Установка зеркал заднего вида
5460-8201002 Установка зеркал заднего вида
53205-8202011 Поручень входа
6522-8202005 Установка поручней входа
5320-8204011 Козырек противосолнечный с обивкой левыйЛправый
53205-8204011-01 Козьюек поотивосолнечный левый
54115-8213005 Установка надоконных полок и противосолнечных козырьков
53205-8213005 Установка надоконной полки и противосолнечных козырьков
5320-8400012 Установка оперения кабины
4310-8400012 Установка оперения кабины
6520-8400006-20 Установка оперения кабины
63501-8401009 Установка облицовочной панели
33205-8401010 Панель облицовочная
5320-8406010 Замок панели
5320-8406100 Личинка замка панели
5320-8407011 Петля облицовочной панели левая
65115-8415011 Обтекатель
43255-8403008 Установка задней части переднего крыла правая
43253-8410003 Установка боковой защиты
43253-8410003-33 Установка боковой защиты
65115-8403010-42 Установка задней части переднего крыла правая
65115-8416010-50 Установка облицовки буфера (рестайлинг)
65115-8405009-50 Установка подножек левая (рестайлинг)
43253-8500008-30 Установка платформы
43253-8500010-30 Платформа
43253-8501010-70 Основание платформы
43253-8501016-70 Каркас основания платформы
53215-8502041-30 Стойка передняя левая
53215-8503010-30 Борт задний
4350-8511008-70 Установка брызговиков
43253-8511008-70 Установка брызговиков
1
2
3
4
Позиция на иллюстрации
Заводской номер детали
Название детали
1
1/51873/01
Винт самонарезающий типа АВ №10x12,7
2
1/05164/77
Шайба 6 пружинная
3
4573747236
Лампа подкапотная ПД308Б-0
4
346621241003
Лампа А24-21-3
Содержащиеся в справочниках-каталогах запасные части и детали не предлагаются к продаже, а носят исключительно информационный характер
Дополнительная информация
×
Название:
Номер:
Примечание: