Вернуться на главную
Поиск
Каталоги запчастей к технике
Грузовые автомобили и прицепы
Камский автозавод
43253, 43255 (Евро-4)
53215-1101010-05 Бактопливный
Каталог запасных частей к технике: Камский автозавод 43253, 43255 (Евро-4). 53215-1101010-05 Бактопливный
zoom-in
zoom-out
enlarge
shrink
circle-right
circle-left
file-text2
info
cart
Тип техники
Не выбрано
Легковые автомобили
Грузовые автомобили и прицепы
Автобусы
Сельхозтехника
Спецтехника
Двигатели
Мототехника
Марка
Не выбрано
BAW
DAF
DongFeng
FAW
Foton
HOWO
Hyundai
IVECO
JAC Motors
LGMG
MAN
Shaanxi
SITRAK
Studebaker
Tata
Volvo
Автокомпонент Плюс
БелАЗ
Брянский Арсенал
ГАЗ
ЗИЛ
КАЗ
Камский автозавод
КрАЗ
Мадара
МАЗ
МЗКТ
МоАЗ
Нефтекамский автозавод
Ставропольский Завод АвтоПрицепов
ТАТРА
Тонар
УралАЗ
ЧМЗАП
Модель
Не выбрано
4308 (2004)
4308 (2008)
4308 (Евро 3) (2013)
4308 (Евро 4) (2012)
4308-C4 (2019)
4308-C4 (2019)
4308-H3 (2019)
4308-R4 (2019)
4310
4310
43101
43114
43118 (2002)
43118 (Евро 4) (2012)
43253 (Часть-1) (2011)
43253 (Часть-2) (2011)
43253, 43255 (Евро-4) (2012)
43255 (Евро-2) (2012)
43255 (Евро-3) (2012)
4326 (2001)
4326 (2003г)
43261 (Евро-1, 2) (2007)
4350 (4х4) (2004)
43501 (4х4) (2007)
43502 (Евро 4) (2013)
45141 (2009)
45142 (2009)
45143 (2009)
5308 (Евро 3) (2012)
5308 (Евро 4) (2013)
5315
5320
53212
53228, 65111 (2004)
53229 (Евро 2) (2010)
5350 (6х6) (2004)
53501 (6х6) (2007)
53504 (6х6) (2007)
5360
53605 (Евро-4) (2013)
5410
54112
5460
5460 (2005)
5490 (2016)
55102
5511 (2003)
6350 (8х8) (2004)
63501 (8х8) (2007)
6450 (8х8) (2007)
6460
6460 (Евро 3, 4) (2013)
6460 (Евро 4) (2013)
65111 (2008)
65111 (Евро 4) (2012)
65115 (2001)
65115 (2009)
65115 (Евро-3) (2013)
65115, 65116 (Евро-4) (2010)
65116 (2006)
6520
6520 (Euro-2, 3) (2009)
6520 (Euro-4) (2012)
6520 (Euro-4) (2016)
65201 (2007)
65201 Евро 2-3 (2016)
6522 (2005)
6522 (Euro-2, 3) (2009)
6522 (Евро-4) (2016)
65226 (2009)
65226 (2013)
6540
KNORR-BREMSE применяемых на технике Камского автозавода
Общий (5320, 53212, 5410, 54112, 5511, 55102)
Самосв. установка 6520 (2011)
Схема
>
Не выбрано
43255-1000253 Агрегат силовой, укомплектованный для установки на автомобиль
43255-1000254 Агрегат силовой, укомплектованный для установки на автомобиль
4308-1001000-03 Установка кронштейнов силового агрегата
43255-1001000-50 Установка кронштейнов силового агрегата
43255-1001005-20 Установка силового агрегата
43255-1001005-50 Установка силового агрегата
4308-1009001 Установка деталей крепления указателя уровня масла
65115-1080010-50 Капотирование нижнего моторного отсека
65115-1015265-10 Бачок топливный
43255-1100040 Установка топливного бака и топливопроводов
65115-1100045-13 Установка топливного бака и топливопроводов
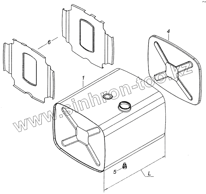
53215-1101010-05 Бактопливный
53215-1103001 Установка крышки топливного бака
65115-1105005 Установка фильтра грубой очистки топлива
43255-1109001-70 Установка воздушного фильтра
65115-1109001-22 Установка воздушного фильтра
6520-1109003-60 Установка воздухозаборника
6520-1109400-60 Воздухозаборник с уплотнителем
7405.1109510-07 Фильтр воздушный
43255-1200006 Установка системы выпуска
65115-1200011 Установка системы выпуска
65115-1208002 Установка бака нейтрализирующей жидкости
65115-1208500-10 Установка насоса дозирующего
65115-1208650 Клапан в сборе
43255-1300023-60 Установка блока охлаждения
65115-1300023-60 Установка блока охлаждения
43255-1301005 Блок охлаждения
65115-1301005 Блок охлаждения
4308-1308005-50 Установка вентилятора с вязкостной муфтой
65115-1308005-09 Установка вентилятора с вязкостной муфтой
43255-1311005-20 Установка бачка расширительного
65115-1311005-45 Установка бачка расширительного
5320-1311060 Пробка расширительного бачка
5308-1311086-20 Скоба верхняя
43255-1580004 Установка шумоизоляционного экрана нижнего КПП
4308-1600010-30 Установка сцепления и коробки передач
4308-1600010-60 Установка сцепления и коробки передач
43255-1609509-30 Установка пневмогидравлического усилителя
43255-1609509-10 Установка пневмогидравлического усилителя
43255-1609509-40 Установка пневмогидравлического усилителя
43255-1600006-21 Установка педали и привода выключения сцепления
43255-1600006-30 Установка педали и привода выключения сцепления
4308-1602008-30 Педаль сцепления с кронштейном и главным цилиндром
4308-1602010-30 Педаль сцепления
5320-1602510-10 Главный цилиндр управления сцеплением
5320-1602560 Бачок главного цилиндра привода сцепления
5320-1602568 Толкатель поршня главного цилиндра
43255-1703005-20 Установка привода управления механизмом переключения передач
43255-1703005-50 Установка привода управления механизмом переключения передач
4308-1703204 Опора рычага переключения передач
14.1703248-60 Рукоятка рычага переключения передач
6540-1703520-06 Тяга реактивная
65115-1703520-20 Тяга реактивная
43255-1703325-20 Тяга
43255-1703325-50 Тяга в сборе
43253-2200001-47 Установка карданных валов
43255-2200001-50 Установка карданного вала
43255-2200001-57 Установка карданных валов
43253-2400022-10 Мост задний
43253-2400072-10 Мост задний
43253-2400075-10 Мост задний
43253-2401006 Картер моста заднего с механизмом блокировки
55102-2409016 Вилка блокировки
43081-2401114 Сапун
43253-2402010-10 Передача главная заднего моста
43253-2402011-10 Передача главная заднего моста
43253-2402013-10 Передача главная заднего моста
43253-2402014-10 Передача главная заднего моста
53205-2402015 Картер редуктора заднего моста
53205-2402076 Крышка подшипника
5320-2402048 Стакан подшипников
54115-2402050 Крышка стакана подшипников
5320-2402108 Стакан подшипников
5320-2402064-10 Шестерня ведомая коническая
53215-2403010-10 Дифференциал заднего моста
53229-2403011-10 Дифференциал заднего моста
53212-2403054 Сателлит дифференциала заднего моста с втулкой
43255-2800010-55 Рама
5320-2800016 Установка кронштейнов
53212-2804003 Установка заднего буфера
43253-2804003 Установка заднего буфера
5410-2806040 Установка буксирной проушины
43255-2809001-55 Установка переднего противоподкатного защитного устройства
43255-2900001-15 Установка передней подвески
65115-2902012-15 Рессора передняя
4925-2900002-01 Подвеска задняя
5425-2912012-01 Рессора задняя
5360-2912020-20 Ушко с втулкой
65115-3000012-13 Ось передняя с тормозами - Front axle with brakes
65115-3000015 Ось передняя
53205-3001012-10 Кулак поворотный
65115-3101002-50 Установка передних дисковых колес
53215-3101002 Установка передних колёс
65116-3101002 Установка передних стальных колес
65115-3101003-50 Установка сдвоенных дисковых колес
53215-3101003 Установка сдвоенных колес - Doubled disk wheels
65116-3101003 Установка сдвоенных стальных колёс
65115-3101011-50 Колесо 7,5-20 с шиной
53215-3101011 Колесо 7,5-20 с шиной
65116-3101011 Колесо 8,25x22,5 стальное с шиной
65115-3103010 Ступица переднего колеса с барабаном тормоза
65115-3104010-20 Ступица заднего колеса с барабаном тормоза
53229-3105010 Держатель запасного колеса
6520-3400002-19 Установка рулевого колеса
43255-3400019-30 Установка бачка и насоса ГУР
5308-3400019-10 Установка бачка и насоса ГУР - Tank and steering servo unit pump installation
6520-3400004-19 Установка колонки рулевого управления
6520-3406014-19 Установка крана регулировки рулевой колонки
65115-3422010-19 Вал карданный
53205-3422012 Шарнир карданный
65115-3422014-19 Шарнир с втулкой
6520-3444075-19 Колонка рулевого управления с кронштейном
6520-3444008-19 Колонка рулевого управления
6520-3444010-19 Колонка рулевого управления
4310-3400012 Установка рулевого механизма
53205-3414010 Тяга сошки
43255-3400018-30 Установка трубопроводов рулевого управления
65115-3400018-19 Установка трубопроводов
65115-3400018-20 Установка трубопроводов
5297-3414052 Тяга рулевой трапеции
43253-3500006-05 Установка пневмотормозов
43255-3500006-14 Установка пневмотормозов
43253-3500006-15 Установка пневмотормозов
43255-3511001 Блок подготовки воздуха
65115-3500011-80 Установка осушителя
2233-3512010-20 Регулятор давления с адсорбером и глушителем
65115-3531010-80 Установка клапана накачки шин
5460-3500080-05 Установка пневмопривода в кабине
6520-3500014-34 Установка двухсекционного тормозного крана
5320-3514108 Кран тормозной двухсекционный с педалью
100-3514108-10 Кран тормозной двухсекционный
16-3515310 Клапан контрольного вывода
65115-3506001 Установка управления тормозами передней оси
65115-3542005-80 Блок передних модуляторов АБС
43255-3506002-03 Управление тормозами заднего моста
43255-3506002-13 Управление тормозами заднего моста
43255-3518010-04 Блок управления тормозами третьего контура
43255-3518010-13 Блок управления тормозами третьего контура
5350-3518001-01 Ускорительный клапан с глушителем
43255-3542007-03 Блок управления тормозами второго контура
43255-3542007-80 Блок управления тормозами второго контура
2233-3518010-20 Ускорительный клапан с глушителем
65115-3506079 Кронштейн левый задний в сборе с фитингами
43253-3500013-05 Установка воздушных ресиверов
65115-3513001 Ресивер правый в сборе с фитингами
16-3513110 Кран слива конденсата
65115-3513002 Ресивер правый в сборе с фитингами
43255-3513001 Блок ресиверов правый
65115-3506170-07 Охладитель
5308-3509000 Установка подвода воздуха к компрессору тормозов
5308-3509000-01 Установка подвода воздуха к компрессору тормозов
65115-3501011-22 Тормоз передний
5320-3501013-10 Суппорт переднего тормоза
53229-3501090-40 Колодка тормоза с накладками
5511-3502121-10 Кронштейн тормозной камеры и разжимного кулака
43253-3502011-32 Тормоз задний левый
5320-3502012-10 Суппорт заднего тормоза
53229-3501090-50 Колодка тормоза с накладками
53229-3501090-51 Колодка тормоза с накладками
43253-3502121 Кронштейн тормозной камеры и разжимного кулака
53205-3541110 Датчик скорости с кронштейном
5308-3570010 Корпус вспомогательного тормоза с пневмоцилиндром
53205-3570205 Пневмоцилиндр вспомогательного тормоза
53205-3570210 Цилиндр пневматический ф35х65
43253-3700001-63 Электрооборудование. Расположение на автомобиле
43253-3700001-63 Светотехника на автомобиле
43253-3700001-65 Электрооборудование. Расположение на автомобиле
43253-3700001-65 Светотехника на автомобиле
43255-3700001-37 Электрооборудование. Расположение на автомобиле
43255-3700001-37 Светотехника на автомобиле
43253-3700060-63 Электрооборудование. Расположение на панели приборов
43253-3700060-65 Электрооборудование. Расположение на панели приборов
43255-3700060-37 Электрооборудование. Расположение на панели приборов
65115-3703001-30 Установка аккумуляторных батарей
65228-3710002 Установка выключателя коробки отбора мощности
53205-3711040 Установка таблички регулировки пучка света фар
5320-3721001-10 Установка звуковых электрических сигналов
65115-3722002 Установка блока предохранителей
53205-3723005 Установка розетки переносной лампы
6540-3737001 Установка выключателя массы
5308-3741001 Установка электрооборудования подогревателя
65115-3741017 Установка оборудования обогрева зеркал
65115-3741018 Установка электрооборудования обогрева зеркал на кабине
65115-3741016-70 Установка электрооборудования системы подогрева топлива на панели
65115-3741300-01 Установка контактора подогревателя воздуха
4308-3747001-50 Установка реле
5308-3802001 Пломбировка спидометра
4308-3830005 Установка датчиков указателя давления воздуха
53205-3830002 Установка датчиков аварийного давления воздуха
65115-3830002 Установка датчиков аварийного давления воздуха
65115-3840001 Установка тахографа
6520-3840002-50 Пломбировка датчика скорости
5308-3805010 Щиток приборов
6520-4000010-24 Система управления двигателем. Расположение на автомобиле
43253-4000012-10 АБС. Расположение на автомобиле
43255-4000012-30 АБС. Расположение на автомобиле
65115-4000016-24 Система нейтрализации. Расположение на автомобиле
4308-4202005 Установка коробки отбора мощности с насосом
4308-4202005-20 Установка коробки отбора мощности с насосом
65115-5000007 Установка подвески кабины и ограничителя подъема кабины
65115-5001005 Установка элементов задней подвески кабины
65115-5001006-10 Установка задней подвески кабины
43114-5002051-10 Установка ограничителя подъема кабины
43114-5001006-20 Установка задней подвески кабины
65115-5000003 Переднее крепление и механизм уравновешивания кабины
43253-5000012 Кабина в сборе с оперением
53205-5000014 Кабина с дверями окрашенная
65222-5000090 Установка пробок и заглушек на кабине
65222-5000100 Установка термошумоизоляции и обивки кабины (Для кабин без спального места)
65222-5000100 Установка термошумоизоляции и обивки кабины
5460-5000121 Установка сиденья водителя
5460-5000122 Установка сиденья пассажира
5460-5000123 Установка среднего сиденья
6520-5003079 Установка гидроцилиндра кабины
4310-5003010-20 Гидроцилиндр
65115-5004079-70 Установка насоса и трубопроводов
4310-5004005 Насос механизма опрокидывания кабины
53205-5101250 Установка облицовок порогов
53205-5114250 Установка усилителя противоударного
6520-5205001 Установка стеклоочистителя
65115-5208004 Установка омывателя
65115-5206005 Установка ветровых стекол
6560-5300023-10 Установка панели приборов
53205-5310001 Установка ручки передка
6522-5325160 Установка поручней панели приборов
65115-5603005 Установка стекол окна задка
65117-5614200-10 Установка шумоизоляционного экрана двигателя
53205-5713008 Установка вентиляционного люка крыши
65115-6100005 Установка стекол и арматуры двери
53205-6100014 Дверь правая
53205-6100015 Дверь левая
65115-6102005 Установка обивок двери
65115-6103005 Установка форточек двери
5320-6103051-01 Стекло форточки двери
5320-6104060 Ручка стеклоподъемника
65115-6104005 Установка стеклоподъемников двери
65115-6104011 Стеклоподъемник двери
65115-6104030 Механизм стеклоподъемника двери
5320-6105011 Установка замков и ручек двери левая
65115-6105011 Установка замков и ручек двери левая
5320-6105021-10 Замок двери левый
5320-6105035-10 Фиксатор замка левый
5320-6105080 Привод замка двери правый в сборе
5320-6105150 Ручка двери наружная
65115-6108005 Установка косынок передка и ограничителя открывания двери
65115-6110005 Установка опускных стекол
65115-6114005 Установка подлокотников двери
54115-6800900-02 Схема подключения пневмосистемы сидений
6460-6800900-02 Схема подключения пневмосистемы сидений
4308-7900010 Радиооборудование. Расположение на панели приборов
4308-8100005-33 Установка системы отопления
4308-8100006 Установка системы отопления в кабине
4308-8101060 Радиатор отопителя
5320-8102030 Сопло обдува ветрового стекла
5320-8105160-02 Кран отопления
65115-8109020-76 Привод управления отоплением
5320-8118027 Улитка вентилятора с распределителем левая
5320-8118069 Колесо рабочее с электродвигателем
53205-8106001-15 Установка подогревателя 15.8106
53205-8106002-15 Установка подогревателя 15.8106
43255-8106003-10 Установка топливного бачка, топливопроводов и подогревателя 14 ТС
5320-8105010 Кран сливной
65115-8212180 Установка маркировки светоотражающей на кабине
43253-8212008-01 Установка заводских боковых знаков
65115-8212291-13 Установка знаков двигателя
65115-8212291-41 Установка знаков двигателя
5460-8201002 Установка зеркал заднего вида
6522-8202005 Установка поручней входа
65115-8213005 Установка надоконных полок
53205-8212300 Установка окантовок и уплотнителей
43255-8400004 Установка брызговиков
43255-8400006 Установка оперения кабины
63501-8401009 Установка облицовочной панели
65115-8403010-42 Установка задней части переднего крыла правая
65115-8403011-35 Установка задней части переднего крыла левая
65115-8405009-50 Установка подножек левая
43255-8410003-10 Установка боковой защиты
43255-8410003-20 Установка боковой защиты
65115-8416007 Нижний пояс «Рестайлинг». Условная сборочная единица
65115-8416010-50 Установка облицовки буфера
53215-8500005-70 Установка световозвращающей маркировки на платформе
43253-8500008-70 Установка платформы
43253-8500010-30 Платформа
43253-8500010-70 Платформа
43253-8511008-70 Установка брызговиков
43255-8601010 Установка кронштейна и поперечины гидроцилиндра
1
1
1
1
1
4
5
6
Позиция на иллюстрации
Заводской номер детали
Название детали
53215-1101010-05
53215-1101010-05
Бак топливный
53215-1101010-15
53215-1101010-15
Бак топливный
53215-1101010-25
53215-1101010-25
Бак топливный
1
53215-1101012-05
Корпус топливного бака
1
53215-1101012-15
Корпус топливного бака
1
53215-1101012-25
Корпус топливного бака
4
541121-1101017
Дно топливного бака
5
5320-1101018
Пробка спускного клапана
6
53215-1101030
Перегородка топливного бака (сварка)
Содержащиеся в справочниках-каталогах запасные части и детали не предлагаются к продаже, а носят исключительно информационный характер
Дополнительная информация
×
Название:
Номер:
Примечание: