Вернуться на главную
Поиск
Каталоги запчастей к технике
Грузовые автомобили и прицепы
Камский автозавод
4308
Установка вентиляционного люка 53205-5713008
Каталог запасных частей к технике: Камский автозавод 4308. Установка вентиляционного люка 53205-5713008
zoom-in
zoom-out
enlarge
shrink
circle-right
circle-left
file-text2
info
cart
Тип техники
Не выбрано
Легковые автомобили
Грузовые автомобили и прицепы
Автобусы
Сельхозтехника
Спецтехника
Двигатели
Мототехника
Марка
Не выбрано
BAW
DAF
DongFeng
FAW
Foton
HOWO
Hyundai
IVECO
JAC Motors
LGMG
MAN
Shaanxi
SITRAK
Studebaker
Tata
Volvo
Автокомпонент Плюс
БелАЗ
Брянский Арсенал
ГАЗ
ЗИЛ
КАЗ
Камский автозавод
КрАЗ
Мадара
МАЗ
МЗКТ
МоАЗ
Нефтекамский автозавод
Ставропольский Завод АвтоПрицепов
ТАТРА
Тонар
УралАЗ
ЧМЗАП
Модель
Не выбрано
4308 (2004)
4308 (2008)
4308 (Евро 3) (2013)
4308 (Евро 4) (2012)
4308-C4 (2019)
4308-C4 (2019)
4308-H3 (2019)
4308-R4 (2019)
4310
4310
43101
43114
43118 (2002)
43118 (Евро 4) (2012)
43253 (Часть-1) (2011)
43253 (Часть-2) (2011)
43253, 43255 (Евро-4) (2012)
43255 (Евро-2) (2012)
43255 (Евро-3) (2012)
4326 (2001)
4326 (2003г)
43261 (Евро-1, 2) (2007)
4350 (4х4) (2004)
43501 (4х4) (2007)
43502 (Евро 4) (2013)
45141 (2009)
45142 (2009)
45143 (2009)
5308 (Евро 3) (2012)
5308 (Евро 4) (2013)
5315
5320
53212
53228, 65111 (2004)
53229 (Евро 2) (2010)
5350 (6х6) (2004)
53501 (6х6) (2007)
53504 (6х6) (2007)
5360
53605 (Евро-4) (2013)
5410
54112
5460
5460 (2005)
5490 (2016)
55102
5511 (2003)
6350 (8х8) (2004)
63501 (8х8) (2007)
6450 (8х8) (2007)
6460
6460 (Евро 3, 4) (2013)
6460 (Евро 4) (2013)
65111 (2008)
65111 (Евро 4) (2012)
65115 (2001)
65115 (2009)
65115 (Евро-3) (2013)
65115, 65116 (Евро-4) (2010)
65116 (2006)
6520
6520 (Euro-2, 3) (2009)
6520 (Euro-4) (2012)
6520 (Euro-4) (2016)
65201 (2007)
65201 Евро 2-3 (2016)
6522 (2005)
6522 (Euro-2, 3) (2009)
6522 (Евро-4) (2016)
65226 (2009)
65226 (2013)
6540
KNORR-BREMSE применяемых на технике Камского автозавода
Общий (5320, 53212, 5410, 54112, 5511, 55102)
Самосв. установка 6520 (2011)
Схема
>
Не выбрано
Кабина в сборе Э4308-5000012
Кабина в сборе Э4308-5000012
Кабина с дверями окрашенная Э4308-5000014
Переднее крепление и механизм уравновешивания кабины Э4308-5000003
Установка кабины с оперением Э4308-5000006
Установка задней подвески кабины Э4308-5001006
Кронштейн переднего крепления кабины верхний в сборе 5320-5001010
Рессора кабины в сборе 5320-5001080
Установка ограничителя подъема кабины Э4308-5002051
Шпилька стопорная в сборе 4310-5002074
Запор кабины правый в сборе Э4308-5018010
Корпус запора кабины правый в сборе 5320-5018014
Установка стеклоочистителя 53205-5205001
Установка омывателя 53205-5208004
Рамка крепления омывателя в сборе 53205-5208400
Установка шумоизоляционных экранов двигателя Э4308-5614200
Экран шумоизоляционный двигателя верхний в сборе Э4308-5614330
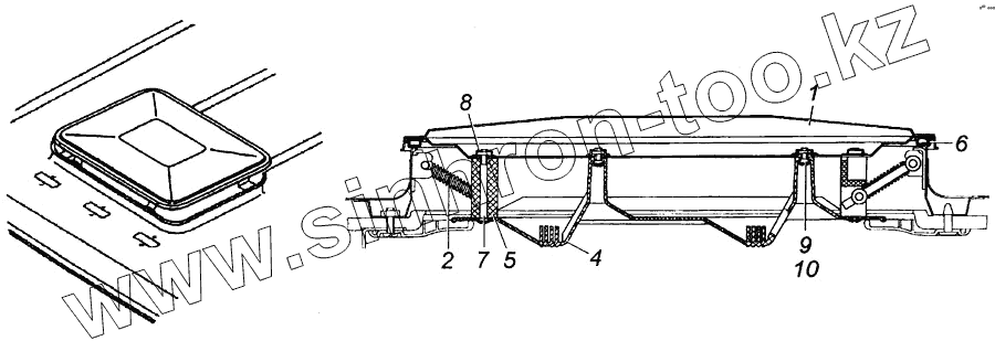
Установка вентиляционного люка 53205-5713008
Рычаг в сборе 53205-5713051
Установка стекол и арматуры двери левая 53205-6100005
Установка стекол и арматуры двери левая 53205-6100005
Установка стекол и арматуры двери левая 53205-6100005
Фиксатор замка левый в сборе 5320-6105035-10
Кнопка наружная с ключами в сборе 6520-6105335
Ограничитель двери в сборе 5320-6106083
Установка сидений 53205-5000120
Сиденье водителя в сборе 53205-6800010
Механизм подрессоривания сиденья водителя в сборе 5320-6804010
Механизм перемещения сиденья водителя левый в сборе 5320-6804111
Сиденье пассажирское в сборе 53205-6810010
Сиденье пассажирское с ящиком в сборе 53205-6830010
Установка системы отопления кабины Э4308-8100005
Кран сливной в сборе 5320-8105010
Пробка крана в сборе 5320-8105015
Кран отопления в сборе 5320-8105160
Установка подогревателя ПЖД 12Б Э4308-8106001
Колесо рабочее с электродвигателем в сборе 5320-8118069
Установка ремней безопасности 53205-5000075
Установка знака бокового 4308-8212008-10
Установка знаков двигателя и 180 TURBO 65115-8212291-50
Установка задней части переднего крыла правая Э4308-8403010-10
Установка задней части переднего крыла левая Э4308-8403011
Установка задних крыльев Э4308-8404003
Установка боковой защиты Э4308-841003-10
Установка платформы 4308-8500008-20
Установка платформы 4308-8500008-70
Агрегат силовой, укомплектованный для установки на автомобиль 4308-1000250
Установка силового агрегата 4308-1001005
Балка передней опоры в сборе 4308-1001009
Кронштейн задней опоры в сборе 4308-1001048
Цепочка с кольцом в сборе 5320-1015160
Цепочка в сборе 5320-1015162
Фильтр топливный подогревателя в сборе 433101-1015630-01
Установка топливного бака, фильтра грубой очистки топлива и топливопроводов Э4308-1100010
Бак топливный в сборе 5511-1101010-10
Труба наливная топливного бака с выдвижной трубой в сборе 5320-1101070-10
Сетка выдвижной трубы в сборе 5320-1101087-10
Труба выдвижная топливного бака в сборе 5320-1101090-10
Пробка топливного бака в сборе 5320-1103010-01
Трубка приемная с фильтром в сборе 65115-1104012
Установка управления подачей топлива Э4308-1108003
Рычаг в сборе Э4308-1108018
Наконечник в сборе 5320-1108054
Тяга ручного управления подачей топлива в сборе 5320-1108120-99
Установка воздушного фильтра Э4308-1109001
Установка воздухозаборника Э4308-1109003-10
Хомут воздухозаборника в сборе 5320-1109365-01
Фильтр воздушный в сборе 740.1109510-03 (02)
Насос ручной прокачки топлива в сборе 33.1133010
Насос предпусковой прокачки топлива 37.1141010
Установка системы охлаждения наддувочного воздуха Э4308-1170000
Теплообменник охлаждения наддувочного воздуха в сборе Э4308-1170300
Теплообменник охлаждения наддувочного воздуха в сборе Э4308-1170300-01
Установка системы выпуска Э4308-1200001-20
Установка радиатора Э4308-1300023
Тяга крепления радиатора в сборе Э4308-1302034
Установка бачка расширительного Э4308-1311005
Бачок расширительный в сборе Э4308-1311010
Скоба наружная в сборе Э4308-1311086
Установка педали и привода выключения сцепления 4308-1600006
Сцепление в сборе 4308-1600010
Картер сцепления с крышками в сборе 4308-1601008
Вилка выключения сцепления с пластиной в сборе 4308-1601010
Педаль сцепления с кронштейном и главным цилиндром в сборе 4308-1602008
Педаль сцепления в сборе 5320-1602010
Главный цилиндр управления сцеплением в сборе 5320-1602510-10
Главный цилиндр в сборе 5320-1602512
Пружина главного цилиндра управления сцеплением 5320-1602518
Бачок главного цилиндра привода сцепления в сборе 5320-1602560
Коробка передач с картером сцепления в сборе 141.1700108
Картер коробки передач в сборе 14.1701010
Вал первичный коробки передач 141.1701025-30
Крышка подшипника первичного вала в сборе 14.1701039-60
Шайба упорная блока шестерен заднего хода в сборе 14.1701086
Вал промежуточный в сборе 141.1701047
Вал вторичный коробки передач 141.1701100-20
Крышка заднего подшипника вторичного вала в сборе 14.1701200
Крышка заднего подшипника вторичного вала в сборе 14.1701201
Механизм переключения передач в сборе 14.1702010
Крышка коробки передач верхняя в сборе 14.1702013
Вилка переключения 2-й и 3-й передач в сборе 14.1702026
Вилка переключения 4-й и 5-й передач в сборе 14.1702031
Опора рычага переключения передач в сборе 142.1702200
Опора рычага переключения передач в сборе 142.1702208
Привод управления механизмом переключения передач 4308-1703005
Опора рычага переключения передач в сборе 4308-1703204
Тяга в сборе 4308-1703325
Вилка с втулками в сборе 4308-1703494
Тяга реактивная в сборе 4308-1703520
Установка карданных валов Э4308-2200001
Валы карданные в сборе Э4308-2201006
Вал карданный заднего моста в сборе Э4308-2201011
Вал карданный промежуточный с опорой в сборе Э4308-2202011
Крестовина карданного вала в сборе 5320-2205026
Мост задний в сборе Э4308-2400011
Картер заднего моста с механизмом блокировки в сборе Э4308-2401007
Передача главная заднего моста в сборе Э4308-2402011
Картер редуктора заднего моста в сборе Э4308-2402015
Вал ведущий заднего моста в сборе Э44308-2402021
Стакан подшипников в сборе 5320-2402048
Крышка стакана в сборе 5320-2402050
Шестерня ведомая коническая в сборе Э4308-2402064
Стакан подшипников в сборе 5320-2402108
Дифференциал заднего моста в сборе Э4308-2403011
Сателлит дифференциала заднего моста с втулкой в сборе 53212-2403054
Вилка блокировки в сборе Э4308-2409016
Привод блокировки межколесного дифференциала Э4308-2411010
Кран включения блокировки в сборе 5320-2511060
Шток крана в сборе 5320-2511066
Крышка подшипника в сборе 43114-2302076
Рама в сборе Э4308-2800010
Установка буксирной поперечины Э4308-2801003
Установка облицовки буфера Э4308-2803004
Установка заднего буфера 4308-2804003
Проушина буксирная в сборе 5410-2806040
Установка тягово-сцепного устройства 4308-2707001
Установка передней подвески Э4308-2900001
Установка задней подвески Э4308-2900002
Рессора передняя в сборе 4308-2902012-10
Рессора передняя в сборе 65115-2902012-10
Ушко с втулкой и манжетами в сборе 65115-2902018
Ушко с втулкой в сборе 65115-2902020
Амортизатор передней подвески в сборе 53212-2905006
Шток с поршнем в сборе 53212-2905600
Клапан сжатия в сборе 53212-2905650
Кронштейн амортизатора левый в сборе 65115-2905535
Рессора дополнительная в сборе 4308-2913012-10
Ось передняя с тормозами в сборе 4308-3000012-01
Ось передняя в сборе 4308-3000015
Кулак поворотный в сборе 4308-3001012
Установка передних колес 4308-3101702
Установка сдвоенных колес 4308-3101703
Колесо 6,75x19,5 с шиной в сборе 4308-3101711
Ступица колеса с диском тормоза, подшипником и манжетой в сборе 4308-3103009
Ступица колеса с диском тормоза в сборе 4308-3103010
Ступица заднего колеса с диском тормоза, подшипником и манжетами в сборе 4308-3104009-32
Ступица заднего колеса с диском тормоза в сборе 4308-3104010-32
Установка держателя запасного колеса 4308-3105010
Установка рулевого механизма 4308-3400012-10
Установка колонки рулевого управления 5425-3400014
Установка трубопроводов 4308-3400018-10
Установка бачка 4308-3400019
Механизм рулевой в сборе 4310-3400020
Вал сошки с крышкой в сборе 4310-3401063
Редуктор угловой механизма рулевого управления в сборе 4310-3401710
Корпус углового редуктора механизма рулевого управления в сборе 4310-3401716
Крышка корпуса с манжетами в сборе 4310-3401720
Шестерня ведущая углового редуктора с корпусом в сборе 4310-3401736
Шестерня ведомая углового редуктора в сборе 4310-3401750
Тяга с наконечниками в сборе 4308-3414010-10
Тяга в сборе 4308-3414052-10
Наконечник тяги в сборе 5520-3414055
Вал карданный рулевого управления в сборе 4310-3422010
Клапан управления гидроусилителем руля в сборе 4310-3430012
Колонка рулевого управления с замком противоугонного устройства в сборе 5425-3444009
Колонка рулевого управления в сборе 5425-3444010
Установка пневмотормозов 4308-3500006
Установка пневмотормозов 4308-3500006
Установка пневмотормозов 4308-3500006
Установка пневмотормозов 4308-3500006
Установка осушителя 4308-3500011-16
Установка воздушных ресиверов 4308-3500013
Установка двухсекционного тормозного крана 3520-3500014
Установка четырехконтурного защитного клапана 4308-3500015
Установка ускорительного клапана 4308-3500018
Установка клапана управления тормозами прицепа 4308-3500022-10
Установка регулятора тормозных сил 4308-3500033
Установка кабелей АБС 4308-3500037-41
Установка модуляторов АБС 4308-3500042
Установка клапана двухмагистрального 4308-3500062
Тормоз передний в сборе Э4308-3501010
Диск тормоза с ротором в сборе Э4308-3502071
Установка охладителя 4308-3506180
Ресивер в сборе 53205-3513015
Кран слива конденсата в сборе РП16-3513110
Кран тормозной двухсекционный в сборе 100-3514010
Кран тормозной двухсекционный с педалью в сборе 5320-3514108
Кран тормозной двухсекционный в сборе 100-3514108-10
Клапан контрольного вывода в сборе 16-3515310
Кран экстренного растормаживания в сборе 16-3515510
Клапан защитный четырехконтурный в сборе 53205-3515400-10
Тормозная камера, тип 20/24, в сборе Э4308-3519500
Установка электронного блока АБС 53205-3541010
Электрооборудование. Расположение на автомобиле Э4308-3700001
Электрооборудование. Расположение на автомобиле 34308-3700001-10
Установка аккумуляторных батарей Э4308-3703001
Комплект головных фар и передних указателей поворота Э4308-3711000
Установка противотуманных фар Э4308-3711003
Установка таблички регулировки пучка света фар 53205-3711040
Установка плафонов 53205-3714001-10
Установка подкапотной лампы 5320-3715001
Установка задних фонарей 53215-3716002
Установка звуковых электрических сигналов 5320-3721001-10
Установка розеток прицепа 43114-3723003-70
Установка розетки переносной лампы 53205-3723005
Установка проводов на шасси Э4308-3724003
Установка проводов на шасси Э4308-3724004
Установка проводов на шасси Э4308-3724005
Установка проводов на кабине Э4308-3724004
Установка проводов на кабине Э4308-3724005
Установка проводов на кабине Э4308-3724006
Установка проводов на кабине Э4308-3724007
Установка проводов на кабине Э4308-3724008
Установка бокового повторителя указателя поворота 53215-3726001
Установка боковых габаритных фонарей на переднем крыле 54115-3731001
Установка малогабаритного выключателя массы 5320-3737001-01
Установка фонарей автопоезда 53205-3738001
Установка габаритных фонарей 5425-3738002
Установка электрооборудования подогревателя ПЖД-12 Э4308-3741001
Установка реле электромагнитного клапана останова двигателя Э4308-3747002
Установка преобразователя напряжения 53215-3759001
Установка электрооборудования АБС Э4308-3859001-24
Фланец датчика спидометра с манжетой в сборе 14.3802042
Манжета в сборе 14.3802059
Установка трубопроводов к манометру 43114-3830001
Установка датчиков аварийного давления 53205-3830004
Установка датчика тахографа на коробке передач 54115-3840001
Пломбировка датчика тахографа на коробке передач 54115-3840002
Фланец привода датчика тахографа 5425-3840050
Радиооборудование 53215-7900000-10
Установка автомагнитолы 53215-7901001
Установка антенны 53205-7903001
Установка кабеля антенны и проводов питания магнитолы 53215-7903003
Установка громкоговорителей 53215-7909001
Установка инструмента и принадлежностей на автомобиле Э4308-3900001
Установка инструмента и принадлежностей в кабине Э4308-3900010
Набор инструмента минимальный 53215-3901200
Комплект инструмента в малой сумке, за дополнительную плату 53215-3901203
Комплект индивидуальный запасных частей Э4308-3906330
Комплект индивидуальный запасных частей 53215-3906330
Установка инструкционных табличек Э4308-3903001
Установка заводской таблички 5320-3904001
Установка ящика запчастей 5320-3906010
Установка огнетушителя 5320-3910003
Установка сумки 5320-3912001
Установка домкрата Э4308-3913002
Установка инструментального ящика Э4308-3919001
Ящик инструментальный в сборе 6520-3919015
Установка противооткатных упоров Э4308-3927002
Установка знака аварийной остановки 5320-3932002
Автомобиль одиночный КАМАЗ-4308 в сборе 4308-0000010
Масленка 2.3.45.Ц6хр. в сборе 364009
1
2
4
5
6
7
8
9
10
Позиция на иллюстрации
Заводской номер детали
Название детали
1
53205-5713012
Крышка вентиляционного люка
2
53205-5713051
Рычаг в сборе
4
53205-5713115
Облицовка крышки
5
53205-5713021
Стойка
6
53205-5713022
Уплотнитель
7
1/33142/01
Винт М6-6gх60
8
853544
Гайкодержатель М6 в сборе
9
1/33013/01
Винт М6-6gх16
10
1/05164/77
Шайба 6 пружинная
Содержащиеся в справочниках-каталогах запасные части и детали не предлагаются к продаже, а носят исключительно информационный характер
Дополнительная информация
×
Название:
Номер:
Примечание: