Вернуться на главную
Поиск
Каталоги запчастей к технике
Грузовые автомобили и прицепы
JAC Motors
HFC 1020KR-D127
37D2005 Electric equipment
Каталог запасных частей к технике: JAC Motors HFC 1020KR-D127. 37D2005 Electric equipment
zoom-in
zoom-out
enlarge
shrink
circle-right
circle-left
file-text2
info
cart
Тип техники
Не выбрано
Легковые автомобили
Грузовые автомобили и прицепы
Автобусы
Сельхозтехника
Спецтехника
Двигатели
Мототехника
Марка
Не выбрано
BAW
DAF
DongFeng
FAW
Foton
HOWO
Hyundai
IVECO
JAC Motors
LGMG
MAN
Shaanxi
SITRAK
Studebaker
Tata
Volvo
Автокомпонент Плюс
БелАЗ
Брянский Арсенал
ГАЗ
ЗИЛ
КАЗ
Камский автозавод
КрАЗ
Мадара
МАЗ
МЗКТ
МоАЗ
Нефтекамский автозавод
Ставропольский Завод АвтоПрицепов
ТАТРА
Тонар
УралАЗ
ЧМЗАП
Модель
Не выбрано
HFC 1020K-D126 (2006)
HFC 1020K-D134 (2010)
HFC 1020KR-D127 (2007)
Схема
>
Не выбрано
1001D4 Engine suspension
Cylinder head cover
Cylinder head, thermostat, intake manifold and exhaust manifold
Valve-actuating mechanism
Timing gear train
Cylinder block, timing gear casing and flywheel housing
Pistona and connecting rod assembly
Crankshaft and flywheel
Lubrication oil pump and oil pipe assembly
Oil sump
1300D4-hcG Cooling system equipment
Cooling water pump fan puliey
Fuel supply system
1100D200XZ Oil supply system equipment
1108D102 Accelerating powertrain system
1109D200 Air-cleaner equipment
1200D200 Exhaust system
1200D4-hcG Exhaust system
1607D4-sg0 Clutch pipeline equipment
Clutch
1602D4 Clutch controlling equipment
Clutch shell
1703D4-hcG Transmission shelves handing equipment
Seat, gear shift control assembly
Main case shell and it’s attachment
1st Shaft and intermediate shaft
2nd Shaft assembly
Fork shaft assembly
2200D2 Transmission equipment
3400DF4JC Steering system
2901D200 Front suspension assembly
2911D4JC Rear suspension assembly
3501D4XZ Front brake
3506D4JC Brake pipe system
3506D120 Bbrake pipe system
3508D4 Parking brake control system
3507Q5 Parking brake
3000D4XZ Front axle assembly
3003600D0 Steering connecting rod assembly
2400D4-sg0 Rear axle assembly
3101D4 Wheel assembly
3105D4 Spare tire regulator system
5000D200 Cabin assy
2803D0 Front bomper
5100D501 Body floor
5101D501 Body-floor parts
5102B3 Cab floor
5107D0 Engine cover
5108B1 Hand-brake protecting jacket
5109D501 Cab carpet
5206D0 Front windshield
5300D0 Front surrounding
5303D0 Front surrounding
5302E0 Front wall side panel
5305D4-sg0 Dashboard system
5600D501 Rear wall welding mounting
5603D0 Rear windshield
5700D501 Head cap
5702D501 Front peak inner decoration and ventilation
6100E0 Door unit
6102E0 Door plate assy
6103E0 Door glass
6104E0 Door glass regulator
6105E0 Door lock assembly
6106E0 Door Gemel assy
6107E0 Door
6109E0 Door stop
6200B3 Back-door unit
6202B3 Back-door protective panel
6203B3 Back door glass
6204B3 Back-door glass regulator
6205B3 Back-door lock
6206B3 Back-door hinge
6207B3 Back-door seal parts
6800D4-sg0 Driver's seat
7200D4-sg0 Double seat
7300D501 Double seat
8202D0 Outer rear view mirror
8204D0 Sunshade plate
8212D0 Safety belt system
8220E0 Armrest assy
8401D0 Veil
8405B3 Footplate
8500D200 Cargo box equipment
37D2001 Electric equipment
37D2002 Electric equipment
37D2003 Electric equipment
37D2004 Electric equipment
37D2005 Electric equipment
37D2006 Electric equipment
38D4JC Instruments
79E4QZ-yc0 Wireless comunication equipment
Electrical system
Power steering pump
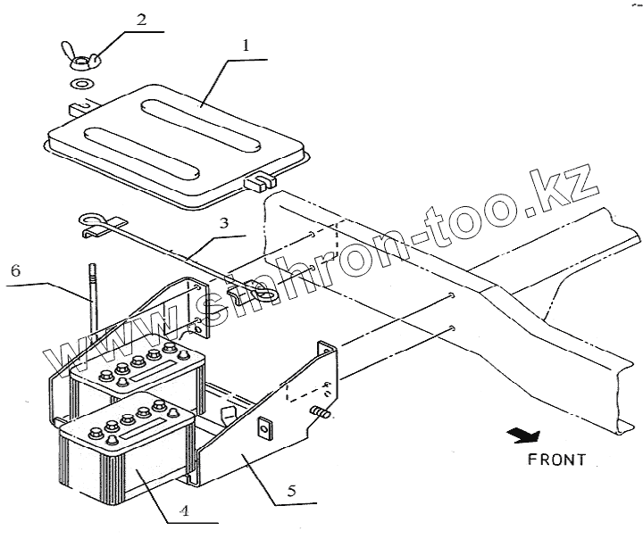
1
2
3
4
5
6
Позиция на иллюстрации
Заводской номер детали
Название детали
1
3703035E0
Battery cover
2
Q39008
Butterfly nut
3
3703020E0
Storage battery compression link
4
3703910E0
Battery assembly
5
3703010E0
Battery bracket
6
3703025E0
Storage battery tighting bolt
Содержащиеся в справочниках-каталогах запасные части и детали не предлагаются к продаже, а носят исключительно информационный характер
Дополнительная информация
×
Название:
Номер:
Примечание: