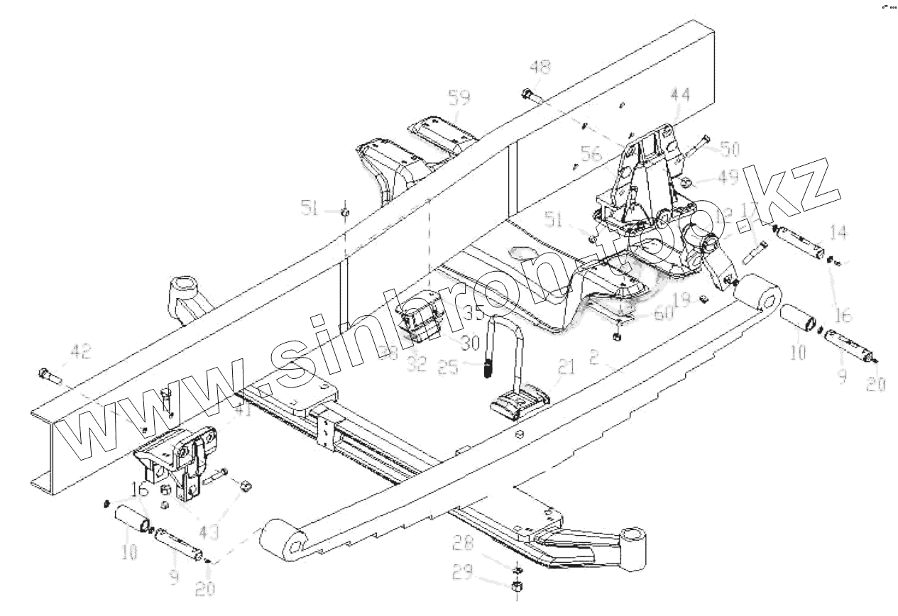
Каталог запасных частей к технике: HOWO ZZ3327N3647C-N2WA. Front Suspension
2
9
9
10
10
12
14
16
16
17
19
20
20
21
25
28
29
30
32
35
38
41
42
43
44
48
49
50
51
51
56
59
60
| Позиция на иллюстрации | Заводской номер детали | Название детали | |
|---|---|---|---|
| 1 | AZ9719520001 | Front suspension | |
| 2 | WG9232520025 | Front spring assy-left | |
| 3 | WG9232520025/1 | Front spring assy-left | |
| 4 | WG9232520025+00 | 7th piece of front left spring | |
| 4 | WG9232520025+00 | 6th piece of front left spring | |
| 4 | WG9232520025+00 | 9th piece of front left spring | |
| 4 | WG9232520025+00 | 3th piece of front left spring | |
| 4 | WG9232520025+01 | Central bolt | |
| 4 | WG9232520025+00 | 1st piece of front left spring | |
| 4 | WG9232520025+00 | 4th piece of front left spring | |
| 4 | WG9232520025+00 | 5th piece of front left spring | |
| 4 | WG9232520025+01 | Central nut | |
| 4 | WG9232520025+00 | 2th piece of front left spring | |
| 4 | WG9232520025+00 | 8th piece of front left spring | |
| 4 | WG9232520025+01 | 10th piece of front left spring | |
| 5 | WG9232520026 | Front spring assy-right | |
| 6 | WG9232520026/1 | Front spring assy-right | |
| 7 | WG9232520026+00 | 1st piece of front left spring | |
| 7 | WG9232520026+00 | 8th piece of front left spring | |
| 7 | WG9232520026+00 | 6th piece of front left spring | |
| 7 | WG9232520026+00 | 5th piece of front left spring | |
| 7 | WG9232520026+00 | 9th piece of front left spring | |
| 7 | WG9232520026+00 | 2nd piece of front left spring | |
| 7 | WG9232520026+00 | 3rd piece of front left spring | |
| 7 | WG9232520026+00 | 4th piece of front left spring | |
| 7 | WG9232520026+01 | Central nut | |
| 8 | AZ9719520054 | Plate | |
| 9 | 199014520256 | Шплинт | |
| 10 | WG9000520078 | Втулка | |
| 12 | WG9100520034 | Рессорный хомут передний | |
| 14 | WG9100520065 | Рессорный болт | |
| 16 | 1680520050 | Washer | |
| 17 | Q151C1270 | болт | |
| 18 | Q151C1275 | болт | |
| 19 | 190003888457 | Гайка | |
| 20 | 190003963127 | Масленка | |
| 21 | WG80 520002 | Plate | |
| 22 | 1880520002 | Plate | |
| 25 | WG9014520259 | Spring clip | |
| 26 | 199014520259 | стремянка | |
| 28 | 1680520056 | Washer | |
| 29 | 190003888626 | Стопорная гайка | |
| 30 | WG9323520010 | Рессорный стопор | |
| 31 | AZ9323520010 | Stop block | |
| 32 | AZ9100520182 | Plate | |
| 33 | AZ9323520009 | Limit block | |
| 35 | AZ9731520034 | кронштейн буфера в сборе | |
| 36 | AZ9731520030 | Plate | |
| 37 | AZ9731520031 | Plate | |
| 38 | Q150B1240 | болт | |
| 39 | Q150B1230 | болт | |
| 40 | Q33212 | Гайка | |
| 41 | AZ9725520007 | Front bracket | |
| 42 | Q151B1660 | болт | |
| 43 | 190003888459 | Гайка | |
| 44 | WG9232520010 | Пружина стопорная | |
| 46 | WG9232520011 | Bracket | |
| 48 | Q151B1650 | болт | |
| 49 | 190003888459 | Гайка | |
| 50 | Q151C1260 | Болт | |
| 51 | 190003888457 | Гайка | |
| 52 | AZ9114510511 | Cross member assy | |
| 53 | AZ9114510511/0 | Cross member assy | |
| 54 | AZ9114510512 | Right plate | |
| 55 | AZ9114510513 | Left plate | |
| 56 | Q4501230 | Rivet | |
| 57 | Q150B1228 | Screw | |
| 58 | Q33212 | Гайка | |
| 59 | AZ9114510514 | Cross member | |
| 60 | 199100520025 | Пластина |
Содержащиеся в справочниках-каталогах запасные части и детали не предлагаются к продаже, а носят исключительно информационный характер