Каталог запасных частей к технике: ГАЗ-5312. Платформа
1
1
1
1
1
1
1
1
2
2
2
2
2
2
2
2
2
2
2
2
2
3
3
4
5
5
5
6
7
7
7
7
7
7
7
7
8
8
9
9
10
10
10
10
11
11
12
12
12
12
12
12
12
12
13
14
15
16
17
18
19
19
20
21
22
23
24
24
24
24
24
25
26
26
27
27
28
28
29
29
30
31
32
33
33
33
33
34
35
36
37
38
38
39
39
39
40
41
42
43
44
45
45
45
46
47
48
49
50
51
52
53
54
55
56
57
58
59
60
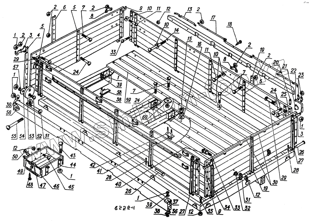
| Позиция на иллюстрации | Заводской номер детали | Название детали | |
|---|---|---|---|
| 1 | 250512-П2 | Гайка М10-6Н | |
| 1 | 250512-П2 | Гайка М10-6Н | |
| 1 | 250512-П2 | Гайка М10-6Н | |
| 1 | 250512-П2 | Гайка М10-6Н | |
| 1 | 250512-П2 | Гайка М10-6Н | |
| 1 | 250512-П29 | Гайка М10-6Н ОСТ 37.001.124-93 | |
| 1 | 250512-П2 | Гайка М10-6Н | |
| 1 | 250512-П29 | Гайка М10-6Н ОСТ 37.001.124-93 | |
| 2 | 250510-П2 | Гайка М8-6Н ОСТ 37.001.124-93 | |
| 2 | 250510-П2 | Гайка М8-6Н ОСТ 37.001.124-93 | |
| 2 | 250510-П2 | Гайка М8-6Н ОСТ 37.001.124-93 | |
| 2 | 250510-П2 | Гайка М8-6Н ОСТ 37.001.124-93 | |
| 2 | 250510-П2 | Гайка М8-6Н ОСТ 37.001.124-93 | |
| 2 | 250510-П2 | Гайка М8-6Н ОСТ 37.001.124-93 | |
| 2 | 250510-П2 | Гайка М8-6Н ОСТ 37.001.124-93 | |
| 2 | 250510-П2 | Гайка М8-6Н ОСТ 37.001.124-93 | |
| 2 | 250510-П2 | Гайка М8-6Н ОСТ 37.001.124-93 | |
| 2 | 250510-П2 | Гайка М8-6Н ОСТ 37.001.124-93 | |
| 2 | 250510-П2 | Гайка М8-6Н ОСТ 37.001.124-93 | |
| 2 | 250510-П2 | Гайка М8-6Н ОСТ 37.001.124-93 | |
| 2 | 250510-П2 | Гайка М8-6Н ОСТ 37.001.124-93 | |
| 3 | 92-8503050-А | Крюк затвора платформы правый | |
| 3 | 92-8503050-А | Крюк затвора платформы правый | |
| 4 | 53A-8504018 | Усилитель переднего борта крайний | |
| 5 | 52-03-8504042 | Планка бортов | |
| 5 | 52-03-8504042 | Планка бортов | |
| 5 | 52-03-8504042 | Планка бортов | |
| 6 | 53-8504040 | Усилитель переднего борта средний в сборе | |
| 7 | 210385-П8 | Болт М8-6gх50 | |
| 7 | 210385-П8 | Болт М8-6gх50 | |
| 7 | 210385-П8 | Болт М8-6gх50 | |
| 7 | 210385-П8 | Болт М8-6gх50 | |
| 7 | 210385-П2 | Болт М8х50 крепления крайних петель | |
| 7 | 210385-П8 | Болт М8-6gх50 | |
| 7 | 210385-П8 | Болт М8-6gх50 | |
| 7 | 210385-П8 | Болт М8-6gх50 | |
| 8 | 53-8502102 | Скоба стоек решетки бортов | |
| 8 | 53-8502102 | Скоба стоек решетки бортов | |
| 9 | 92-8503051-А | Крюк затвора платформы левый | |
| 9 | 92-8503051-А | Крюк затвора платформы левый | |
| 10 | 91Ю-8502252-А | Шайба специальная | |
| 10 | 91Ю-8502252-А | Шайба специальная | |
| 10 | 91Ю-8502252-А | Шайба специальная | |
| 10 | 91Ю-8502252-А | Шайба специальная | |
| 11 | 210384-П8 | Болт М8-6gх45 | |
| 11 | 210384-П8 | Болт М8-6gх45 | |
| 12 | 250508-П2 | Гайка М6-6Н | |
| 12 | 250508-П2 | Гайка М6-6Н | |
| 12 | 250508-П2 | Гайка М6-6Н | |
| 12 | 250508-П2 | Гайка М6-6Н | |
| 12 | 250508-П2 | Гайка М6-6Н | |
| 12 | 250508-П29 | Гайка М6-6Н ОСТ 37.001.124-93 | |
| 12 | 250508-П29 | Гайка М6-6Н ОСТ 37.001.124-93 | |
| 12 | 250508-П2 | Гайка М6-6Н | |
| 13 | 53-8502019-Б | Полоса защитная габаритного бруса платформы крайняя | |
| 14 | 210393-П29 | Болт М8-6gх100 | |
| 15 | 250512-П2 | Гайка М10-6Н | |
| 16 | 252007-П2 | Шайба 12 | |
| 17 | 91-8502017-Г | Защитная полоса габаритного бруса - средняя | |
| 18 | 45 9661 0547 | Шуруп 5х25 | |
| 19 | 53-8502040 | Петля откидных бортов верхняя крайняя в сборе | |
| 19 | 53-8502040 | Петля откидных бортов верхняя крайняя в сборе | |
| 20 | 92-8502102 | Подкладка скобы затворов средняя | |
| 21 | 92-8502056 | Подкладка скобы затвора крайняя | |
| 22 | АА-120666-Б | Затвор платформы | |
| 23 | 92-8502052 | Скоба затвора платформы | |
| 24 | 210386-П8 | Болт М8-6gх50 | |
| 24 | 210386-П8 | Болт М8-6gх50 | |
| 24 | 210386-П8 | Болт М8-6gх50 | |
| 24 | 210386-П8 | Болт М8-6gх50 | |
| 24 | 210386-П8 | Болт М8-6gх50 | |
| 25 | 53-8502048 | Усилитель бокового борта | |
| 26 | АА-120637-Д | Ось бортовых петель | |
| 26 | АА-120637-Д | Ось бортовых петель | |
| 27 | 53-8502030 | Петля откидных бортов верхняя крайняя в сборе | |
| 27 | 53-8502030 | Петля откидных бортов верхняя крайняя в сборе | |
| 28 | 258052-П29 | Шплинт 4х20 ОСТ 37.001.171-93 | |
| 28 | 258052-П29 | Шплинт 4х20 ОСТ 37.001.171-93 | |
| 29 | 210411-П8 | Болт М10-6gх55 | |
| 29 | 210411-П8 | Болт М10-6gх55 | |
| 30 | 53-8503040 | Усилитель заднего борта верхний | |
| 31 | 53-8503080 | Обойма буфера заднего борта | |
| 32 | 53-8503082 | Буфер заднего борта | |
| 33 | 210363-П8 | Болт М6-6gх45 | |
| 33 | 210363-П8 | Болт М6-6gх45 | |
| 33 | 210363-П8 | Болт М6-6gх45 | |
| 33 | 210363-П8 | Болт М6-6gх45 | |
| 34 | 53-8503028 | Усилитель заднего борта боковой | |
| 35 | 220105-П2 | Винт М6х16 крепления боковых усилителей | |
| 36 | 53-8501030 | Скоба продольного бруса | |
| 37 | 53-8501038 | Подкладка задней поперечной балки | |
| 38 | 210426-П29 | Болт М10-6gх200 | |
| 38 | 210426-П29 | Болт М10-6gх200 | |
| 39 | 252006-П2 | Шайба 10 | |
| 39 | 252006-П2 | Шайба 10 | |
| 39 | 252006-П2 | Шайба 10 | |
| 40 | 92Ю-8502250-А | Шайба специальная | |
| 41 | 53-8501072 | Стремянка | |
| 42 | 92-8501074-А | Подкладка стремянок крепления балок | |
| 43 | 210410-П29 | Болт М10-6gх50 | |
| 44 | 91Б-8507076 | Обойма инструментального ящика | |
| 45 | 210361-П29 | Болт М6-6gх35 | |
| 45 | 210361-П29 | Болт М6-6gх35 | |
| 45 | 210361-П29 | Болт М6-6gх35 | |
| 46 | 53-07-8507050 | Крышка инструментального ящика в сборе | |
| 47 | 53-07-8507123 | Планка запора крышки инструментального ящика | |
| 48 | 247577-П29 | Шуруп 5х25 | |
| 49 | 91Б-8507131 | Угольник инструментального ящика | |
| 50 | 252004-П29 | Шайба 6 ОСТ 37.001.144-96 | |
| 51 | 210417-П8 | Болт М10-6gх90 | |
| 52 | 210406-П29 | Болт М10-6gх30 | |
| 53 | 53А-8504062 | Пластина крепления переднего борта | |
| 54 | 252039-П29 | Шайба 10 ОСТ 37.001.144-96 | |
| 55 | 210418-П8 | Болт М10х100 | |
| 56 | 53-8501064 | Угольник правый | |
| 57 | 252136-П29 | Шайба 10Т | |
| 58 | 53-8501076 | Усилитель передней поперечной балки | |
| 59 | 53-8501128 | Планка защитная пола платформы | |
| 60 | 293253-П29 | Шайба 8 |
Содержащиеся в справочниках-каталогах запасные части и детали не предлагаются к продаже, а носят исключительно информационный характер