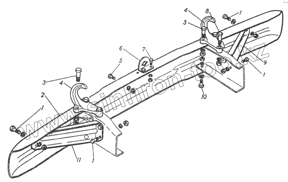
Каталог запасных частей к технике: ГАЗ-5312. Передний бампер и буксировочные крюки
53-50-2803010
53-2803010
1
1
1
1
2
3
3
4
4
5
6
7
8
9
10
11
| Позиция на иллюстрации | Заводской номер детали | Название детали | |
|---|---|---|---|
| 53-50-2803010 | 53-50-2803010 | Бампер в сборе | |
| 252139-П2 | 252139-П2 | Шайба 16.ОТ ОСТ 37.001.115-75 | |
| 250561-П29 | 250561-П29 | Гайка М16х1,5-6Н ОСТ 37.001.124-93 | |
| 294432-П | 294432-П | Заклепка 10х28 | |
| 52-2806027-02 | 52-2806027-02 | Кронштейн буксирного крюка левый | |
| 52-2806026-02 | 52-2806026-02 | Кронштейн буксирного крюка правый | |
| 293312-П29 | 293312-П29 | Шайба 10 | |
| 252136-П2 | 252136-П2 | Шайба 10 ОТ ОСТ 37.001.115-75 | |
| 250512-П29 | 250512-П29 | Гайка М10-6Н ОСТ 37.001.124-93 | |
| 252137-П2 | 252137-П2 | Шайба 12.ОТ ОСТ 37.001.115-75 | |
| 250514-П29 | 250514-П29 | Гайка М12-6Н ОСТ 37.001.124-93 | |
| 252136-П2 | 252136-П2 | Шайба 10 ОТ ОСТ 37.001.115-75 | |
| 250512-П29 | 250512-П29 | Гайка М10-6Н ОСТ 37.001.124-93 | |
| 252135-П29 | 252135-П29 | Шайба 8Т | |
| 53-2803010 | 53-2803010 | Бампер передний в сборе | |
| 250510-П29 | 250510-П29 | Гайка М8-6Н ОСТ 37.001.124-93 | |
| 250508-П29 | 250508-П29 | Гайка М6-6Н ОСТ 37.001.124-93 | |
| 252154-П29 | 252154-П29 | Шайба 6Л ОСТ 37.001.115-75 | |
| 1 | 201496-П29 | Болт М10-6gх22 ОСТ 37.001.123-96 | |
| 1 | 201496-П29 | Болт М10-6gх22 ОСТ 37.001.123-96 | |
| 2 | 52-2803015 | Бампер передний | |
| 3 | 202147-П29 | Болт М16х1,5-6gх50 ОСТ 37.001.123-96 | |
| 4 | 53А-2806010 | Передний буксирный крюк | |
| 5 | 201416-П29 | Болт М6-6gх12 ОСТ 37.001.123-96 | |
| 6 | 53-2803070-01 | Кронштейн заводной рукоятки | |
| 7 | 201456-П29 | Болт М8-6gх20 ОСТ 37.001.123-96 | |
| 8 | 191131-П29 | Болт M16х1,5х55 буксирного крюка | |
| 9 | 53А-2803031 | Раскос переднего бампера левый | |
| 10 | 201540-П29 | Болт М12-6gх30 ОСТ 37.001.123-96 | |
| 11 | 53А-2803031 | Раскос переднего бампера левый |
Содержащиеся в справочниках-каталогах запасные части и детали не предлагаются к продаже, а носят исключительно информационный характер