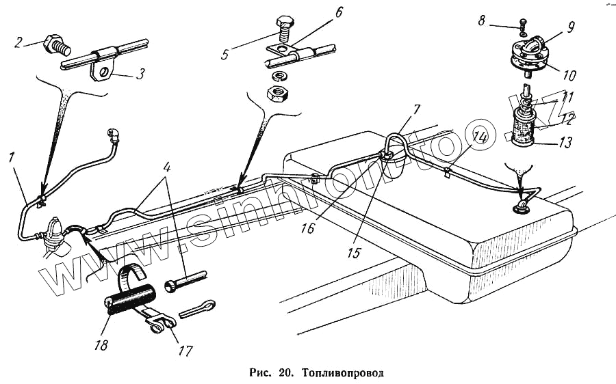
Каталог запасных частей к технике: ГАЗ-52-01. Топливопровод
1
2
3
4
5
5
6
7
8
9
10
11
12
13
14
15
16
17
18
| Позиция на иллюстрации | Заводской номер детали | Название детали | |
|---|---|---|---|
| 250510-П8 | 250510-П8 | Гайка М8х1,25 | |
| 297581-П8 | 297581-П8 | Лента 10х160 | |
| 52-1104064 | 52-1104064 | Трубка от отстойника к насосу со шлангом в сборе | |
| 53-1104012 | 53-1104012 | Трубка приемная с фильтром в сборе | |
| 293196-П | 293196-П | Шайба 5,5 ГОСТ 11371-78 | |
| 252135-П2 | 252135-П2 | Шайба 8Т ОСТ 37.001.115-75 | |
| 66-1104021 | 66-1104021 | Шайба приемной трубки | |
| 252135-П2 | 252135-П2 | Шайба 8Т ОСТ 37.001.115-75 | |
| 297575-П8 | 297575-П8 | Шплинт хомутика | |
| 258726-П8 | 258726-П8 | Штифт 4х22 | |
| 250510-П8 | 250510-П8 | Гайка М8х1,25 | |
| 1 | 53Ф-1104130 | Трубка от насоса к карбюратору в сборе | |
| 2 | 201238-П8 | Болт М8-4hх14 | |
| 3 | 21-1104142-Б | Скоба | |
| 4 | 52-1104085 | Трубка от отстойника к насосу в сборе | |
| 5 | 201455-П8 | Болт М8-6gх18 | |
| 5 | 201455-П8 | Болт М8-6gх18 | |
| 6 | 297480-П8 | Скоба крепления трубки | |
| 7 | 53-1104070 | Трубка от топливного бака к отстойнику в сборе | |
| 8 | 224598-П8 | Винт М5-6gх12 | |
| 9 | 53-1104016 | Трубка приемная с фланцем в сборе | |
| 10 | 12-1104022 | Прокладка датчика и фланца | |
| 11 | 66-1104033 | Пружина | |
| 12 | 21-1104027 | Фильтр приемной трубки бензинопровода в сборе | |
| 13 | 66-1104040 | Фланец фильтра | |
| 14 | 66-1104145 | Скоба крепления трубки | |
| 15 | 298354-П21 | Штуцер угловой К1/4" для присоединения трубки к отстойнику | |
| 16 | 298355-П8 | Штуцер прямой К1/4" для присоединения трубки к отстойнику | |
| 17 | 297580-П8 | Пряжка хомута | |
| 18 | 51-1104100-Б | Шланг гибкий топливопровода в сборе |
Содержащиеся в справочниках-каталогах запасные части и детали не предлагаются к продаже, а носят исключительно информационный характер