Каталог запасных частей к технике: ГАЗ-52-01. Схема электрооборудования
1
2
2
3
4
4
5
6
7
8
9
10
10
11
12
13
14
15
16
17
17
18
19
20
21
22
23
24
24
25
26
26
27
28
29
30
31
32
33
34
35
36
37
38
39
40
41
42
43
44
45
46
47
48
49
50
51
52
53
| Позиция на иллюстрации | Заводской номер детали | Название детали | |
|---|---|---|---|
| 201415-П8 | 201415-П8 | Болт М6-6gх10 | |
| 201417-П8 | 201417-П8 | Болт М6х1х14 | |
| 201418-П8 | 201418-П8 | Болт М6-6gх16 | |
| 201418-П8 | 201418-П8 | Болт М6-6gх16 | |
| 240820-П29 | 240820-П29 | Винт М4х18 ОСТ 37.001.188-81 | |
| 240820-П29 | 240820-П29 | Винт М4х18 ОСТ 37.001.188-81 | |
| 240820-П8 | 240820-П8 | Винт 4х18 | |
| 220048-П8 | 220048-П8 | Винт М4х0,7х6 | |
| 240816-П8 | 240816-П8 | Винт М4х6 | |
| 224601-П8 | 224601-П8 | Винт М5х0,4х18 | |
| 20-3704024 | 20-3704024 | Гайка | |
| 292798-П8 | 292798-П8 | Гайка М11х1 | |
| 251084-П8 | 251084-П8 | Гайка М5х0,8 | |
| 250508-П8 | 250508-П8 | Гайка М6-6Н | |
| 250598-П8 | 250598-П8 | Гайка М6 | |
| 250510-П16 | 250510-П16 | Гайка М8 | |
| 261064-П | 261064-П | Гвоздь 2,5х35 | |
| 51-3704100 | 51-3704100 | Ключ | |
| 51-3710050-Д | 51-3710050-Д | Козырек защитный клемм ножного переключателя света | |
| 21-3704099 | 21-3704099 | Кольцо для ключей выключателя зажигания | |
| 70-13466 | 70-13466 | Лампа 12в, 3 свечи (А-24) | |
| 70-13466 | 70-13466 | Лампа 12в, 3 свечи (А-24) | |
| 51-3713300-Б1 | 51-3713300-Б1 | Переключатель электродвигателя обдува ветрового стекла в сборе (П20-А2), либо 51-3713300-Б | |
| 20-3715022 | 20-3715022 | Пластина штепсельной розетки (для 8403268) | |
| 51-3715021 | 51-3715021 | Прокладка штепсельной розетки переносной лампы | |
| 53Ф-3724030-А3 | 53Ф-3724030-А3 | Пучок проводов по раме в сборе | |
| 21-3713090 | 21-3713090 | Скоба | |
| 20-3802041 | 20-3802041 | Скоба | |
| 70-143187 | 70-143187 | Втулка | |
| 20-3724083 | 20-3724083 | Уплотнитель | |
| 252002-П29 | 252002-П29 | Шайба 4 ОСТ 37.001.144-96 | |
| 252002-П29 | 252002-П29 | Шайба 4 ОСТ 37.001.144-96 | |
| 252002-П8 | 252002-П8 | Шайба 4 | |
| 293156-П2 | 293156-П2 | Шайба 4 специальная | |
| 293221-П29 | 293221-П29 | Шайба 6 | |
| 252177-П8 | 252177-П8 | Шайба 12 | |
| 252233-П29 | 252233-П29 | Шайба 2-5 ОСТ 37.001.146-75 | |
| 252134-П2 | 252134-П2 | Шайба 6Т ОСТ 37.001.115-75 | |
| 252154-П2 | 252154-П2 | Шайба 6Л ОСТ 37.001.115-75 | |
| 252234-П8 | 252234-П8 | Шайба 6 пружинная | |
| 293226-П29 | 293226-П29 | Шайба 6,5 | |
| 293270-П29 | 293270-П29 | Шайба 8,2 | |
| 252174-П8 | 252174-П8 | Шайба 6 пружинная | |
| 293270-П29 | 293270-П29 | Шайба 8,2 | |
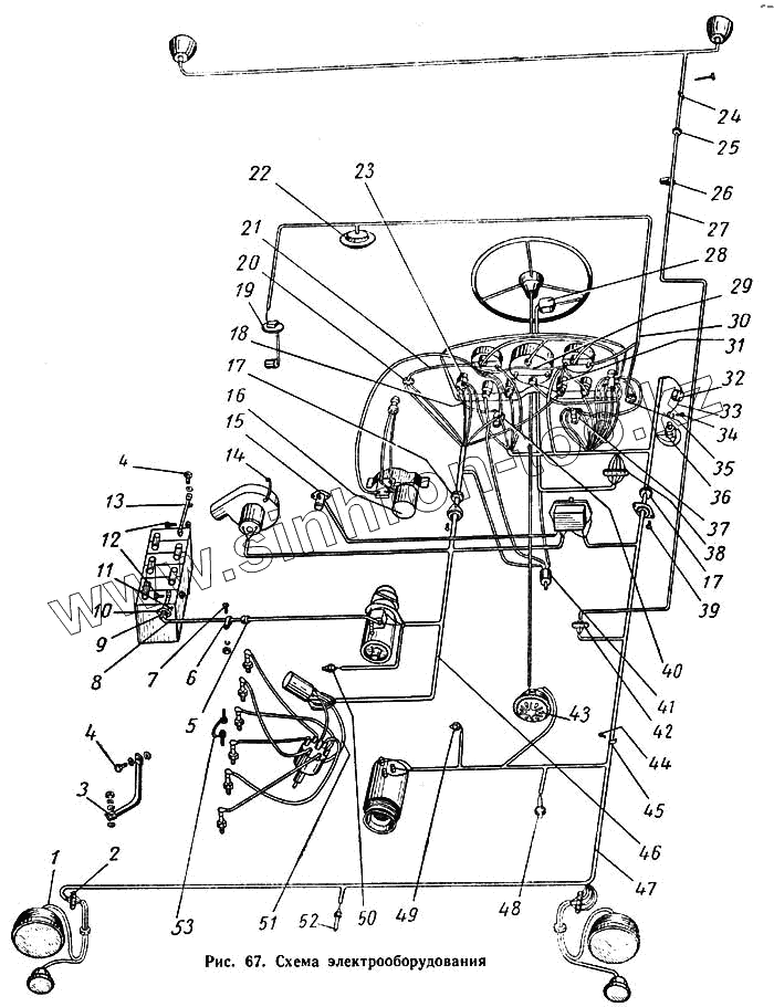
| 1 | 53-3724105-А | Провод от соединительной панели к подфарникам в сборе | |
| 2 | 51-3723010-А1 | Панель проводов к фаре и подфарнику соединительная четырехклеммовая левая в сборе (ПС2-А2) | |
| 2 | 51-3723010-А1 | Панель проводов к фаре и подфарнику соединительная четырехклеммовая левая в сборе (ПС2-А2) | |
| 3 | 51-3724063-Б | Провод соединения двигателя с кабиной в сборе | |
| 4 | 201454-П8 | Болт М8-6gх16 | |
| 5 | 66-3724250 | Прокладка уплотнительная | |
| 6 | 297506-П29 | Скоба 16 | |
| 7 | 201417-П8 | Болт М6х1х14 | |
| 8 | 52-3724050-Б1 | Провод от аккумуляторной батареи к стартеру в сборе | |
| 9 | 20-3724083 | Уплотнитель | |
| 10 | 11-700786 | Обойма уплотнителя пучка проводов | |
| 10 | 11-700786 | Обойма уплотнителя пучка проводов | |
| 11 | 240816-П8 | Винт М4х6 | |
| 12 | 290659-П16 | Болт М8-6gх30 | |
| 13 | 52-3724062 | Провод соединения аккумуляторной батареи с полом кабины | |
| 14 | 52-3724076 | Провод соединения корпуса электродвигателя отопителя с кабиной в сборе | |
| 15 | 24-3714310 | Фонарь (ПД308) | |
| 16 | 52-5205010 | Стеклоочиститель и привод в сборе (СЛ100) | |
| 17 | 51А-3724083 | Уплотнитель | |
| 17 | 51А-3724083 | Уплотнитель | |
| 18 | 51А-3724053 | Провод соединения клемм включателя зажигания и предохранителя в сборе | |
| 19 | 52-3806020 | Датчик указателя уровня топлива в сборе (БМ120-А) | |
| 20 | 51-3713300-Б | Переключатель электродвигателя обдува ветрового стекла, либо 51-3713300-Б1 | |
| 21 | 51А-3724211 | Провод от переключателя электродвигателя отопителя к указателю температуры воды в сборе | |
| 22 | 51-3714010 | Плафон в сборе (ПК-201) | |
| 23 | 20-3704010-А | Включатель зажигания с цилиндром в сборе | |
| 24 | 13-3713090 | Скоба крепления проводов | |
| 24 | 13-3713090 | Скоба крепления проводов | |
| 25 | 40А-3724117 | Втулка уплотнителя пучка проводов по раме в раскосе рамы | |
| 26 | А-14585 | Скоба крепления проводов | |
| 26 | А-14585 | Скоба крепления проводов | |
| 27 | 52-01-3724030 | Пучок проводов по раме в сборе | |
| 28 | 52-3726110 | Переключатель указателей поворота в сборе (П105) | |
| 29 | 53-3724036 | Провод соединения клемм питания приборов и контрольных ламп в сборе | |
| 30 | 52-3724038-Б1 | Провод к плафону и к датчику уровня топлива в сборе | |
| 31 | 52-3724053 | Провод от указателя уровня топлива к контрольной лампе в сборе | |
| 32 | 51-3715020 | Розетка штепсельная переносной лампы в сборе (47К) | |
| 33 | 66-3724044 | Провод соединения штепсельной розетки переносной лампы с кабиной в сборе | |
| 34 | 221512-П8 | Винт М3х0,5х28 | |
| 35 | 51-3806030-Б1 | Включатель плафона (П19-А2) | |
| 36 | 51-3710009 | Переключатель света ножной с колпачком и муфтой в сборе | |
| 37 | 53-3722215 | Предохранитель цепей приборов и указателей поворота тепловой в сборе (ПР315) | |
| 38 | 63-3723015 | Панель проводов на щитке передка соединительная пятиклеммовая в сборе (ПС5) | |
| 39 | 240818-П8 | Винт 4х12 | |
| 40 | 12-3722220 | Предохранитель цепей освещения тепловой в сборе (ПР2-Б) | |
| 41 | 13-3726155 | Прерыватель указателей поворота в сборе (РС57) | |
| 42 | 20-3723011-А1 | Соединительная панель | |
| 43 | 51-3721010-В1 | Сигнал в сборе (С56Г) | |
| 44 | 240836-П8 | Винт М5х12 | |
| 45 | 21-3713090 | Скоба | |
| 46 | 53Ф-3724015-А2 | Пучок проводов № 1 в сборе | |
| 47 | 53Ф-3724025-Г2 | Пучок проводов № 2 | |
| 48 | 20-3720010 | Включатель света сигнала «Стоп» гидравлический (ВК12) | |
| 49 | 13-3810020 | Датчик контрольной лампы аварийного давления масла в двигателе в сборе (ММ102) | |
| 50 | 52-3808020 | Датчик указателя температуры воды в двигателе в сборе (ТМ100) | |
| 51 | 12-3707155-В1 | Провод низкого напряжения от катушки зажигания к распределителю в сборе | |
| 52 | 12Ю-3808025-А | Датчик (ТМ104-Т) | |
| 53 | 53-3724163 | Провод соединения двигателя с рамой в сборе |
Содержащиеся в справочниках-каталогах запасные части и детали не предлагаются к продаже, а носят исключительно информационный характер