Каталог запасных частей к технике: ГАЗ-51 (63, 93). Бензинопровод
1
1
1
2
2
2
2
3
3
3
4
4
5
5
5
5
6
6
7
7
8
8
9
9
9
10
11
12
12
12
13
14
| Позиция на иллюстрации | Заводской номер детали | Название детали | |
|---|---|---|---|
| 200213-П8 | 200213-П8 | Болт М6х35 | |
| 252134-П2 | 252134-П2 | Шайба 6Т ОСТ 37.001.115-75 | |
| 252134-П2 | 252134-П2 | Шайба 6Т ОСТ 37.001.115-75 | |
| 201454-П8 | 201454-П8 | Болт М8-6gх16 | |
| 250765-П8 | 250765-П8 | Гайка М8х1,25х32 | |
| 252135-П2 | 252135-П2 | Шайба 8Т ОСТ 37.001.115-75 | |
| 51-1104080-В1 | 51-1104080-В1 | Трубка бензинопровода от тройного краника к отстойнику в сборе | |
| 280074-П8 | 280074-П8 | Штуцер прямой К 1/4" | |
| 250764-П8 | 250764-П8 | Гайка М6х1 | |
| 51-1104085-Б2 | 51-1104085-Б2 | Трубка бензинопровода от отстойника к насосу в сборе | |
| 51П-1104075-Б | 51П-1104075-Б | Трубка бензинопровода от дополнительного бака к тройному кранику в сборе | |
| 201454-П8 | 201454-П8 | Болт М8-6gх16 | |
| 250765-П8 | 250765-П8 | Гайка М8х1,25х32 | |
| 252135-П2 | 252135-П2 | Шайба 8Т ОСТ 37.001.115-75 | |
| 51-1104100-Б | 51-1104100-Б | Шланг гибкий топливопровода в сборе | |
| 297575-П8 | 297575-П8 | Шплинт хомутика | |
| 297580-П8 | 297580-П8 | Пряжка хомута | |
| 297582-П8 | 297582-П8 | Лента 10х180 | |
| 280074-П8 | 280074-П8 | Штуцер прямой К 1/4" | |
| 250765-П8 | 250765-П8 | Гайка М8х1,25х32 | |
| 51-1100101 | 51-1100101 | Комплект деталей для топливного отстойника | |
| 280074-П8 | 280074-П8 | Штуцер прямой К 1/4" | |
| 201454-П8 | 201454-П8 | Болт М8-6gх16 | |
| 250764-П8 | 250764-П8 | Гайка М6х1 | |
| 252135-П2 | 252135-П2 | Шайба 8Т ОСТ 37.001.115-75 | |
| 252135-П2 | 252135-П2 | Шайба 8Т ОСТ 37.001.115-75 | |
| 250765-П8 | 250765-П8 | Гайка М8х1,25х32 | |
| 201454-П8 | 201454-П8 | Болт М8-6gх16 | |
| 200213-П8 | 200213-П8 | Болт М6х35 | |
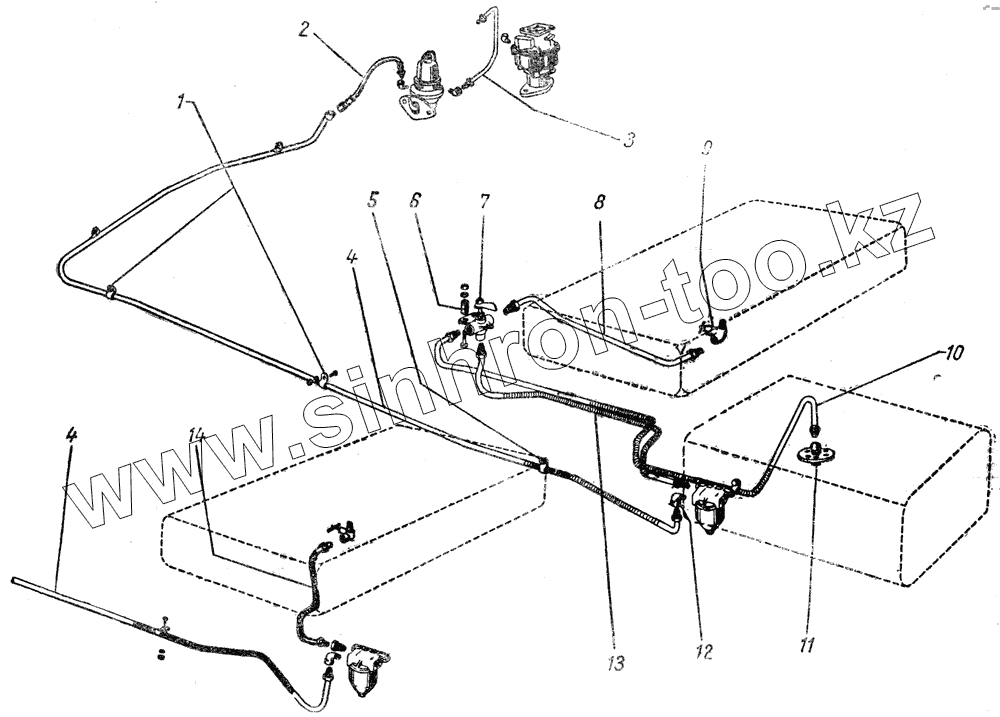
| 1 | 297480-П8 | Скоба крепления трубки | |
| 1 | 297480-П8 | Скоба крепления трубки | |
| 1 | 297480-П8 | Скоба крепления трубки | |
| 2 | 51-1104100-Б | Шланг гибкий топливопровода в сборе | |
| 2 | 51-1104100-Б | Шланг гибкий топливопровода в сборе | |
| 3 | 51-1104130-В2 | Трубка от бензинового насоса к карбюратору в сборе | |
| 3 | 51-1104130-В2 | Трубка от бензинового насоса к карбюратору в сборе | |
| 3 | 51-1104130-В2 | Трубка от бензинового насоса к карбюратору в сборе | |
| 4 | 51-1104085-Б | Трубка бензинопровода от бензинового отстойника к насосу в сборе | |
| 4 | 51-1104085-Б | Трубка бензинопровода от бензинового отстойника к насосу в сборе | |
| 5 | 297484-П8 | Скоба крепления трубопровода к задним тормозам | |
| 5 | 297484-П8 | Скоба крепления трубопровода к задним тормозам | |
| 5 | 297484-П8 | Скоба крепления трубопровода к задним тормозам | |
| 5 | 297484-П8 | Скоба крепления трубопровода к задним тормозам | |
| 6 | 51-1104162 | Трубка распорная | |
| 6 | 51-1104162 | Трубка распорная | |
| 7 | 51-1104160 | Краник тройной бензиновый в сборе | |
| 7 | 51-1104160 | Краник тройной бензиновый в сборе | |
| 8 | 63-1104070-А | Трубка бензинопровода от основного бака к тройному кранику в сборе | |
| 8 | 63-1104070-А | Трубка бензинопровода от основного бака к тройному кранику в сборе | |
| 9 | 51-1104170 | Краник бензиновый в сборе | |
| 9 | 51-1104170 | Краник бензиновый в сборе | |
| 9 | 51-1104170 | Краник бензиновый в сборе | |
| 10 | 63-1104075 | Трубка бензинопровода от дополнительного бензинового бака к тройному кранику в сборе | |
| 11 | 63-1104012 | Трубка приемная бензинопровода с фильтром в сборе | |
| 12 | 280084-П2 | Штуцер 1/4"х18 угловой | |
| 12 | 280084-П2 | Штуцер 1/4"х18 угловой | |
| 12 | 280084-П2 | Штуцер 1/4"х18 угловой | |
| 13 | 51-1104080-В | Трубка бензинопровода от тройного бензинового краника к отстойнику в сборе | |
| 14 | 51-1104093-В1 | Трубка бензинопровода от краника основного бака к отстойнику в сборе |
Содержащиеся в справочниках-каталогах запасные части и детали не предлагаются к продаже, а носят исключительно информационный характер