Каталог запасных частей к технике: ГАЗ-51 (63, 63А). Дверь
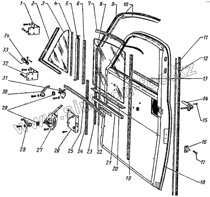
1
2
3
3
4
5
6
7
8
8
9
10
11
12
13
14
15
16
17
18
19
20
20
21
22
23
24
25
26
27
28
29
29
30
31
32
33
34
| Позиция на иллюстрации | Заводской номер детали | Название детали | |
|---|---|---|---|
| 81Б-6105103 | 81Б-6105103 | Тяга привода замка двери левая | |
| 295775-П18 | 295775-П18 | Ось верхней левой петли двери | |
| 295770-П18 | 295770-П18 | Ось верхней правой петли двери | |
| 295770-П18 | 295770-П18 | Ось верхней правой петли двери | |
| 260018-П8 | 260018-П8 | Палец 6х35 | |
| 81Д-6106013 | 81Д-6106013 | Петля двери верхняя левая в сборе | |
| 81Д-6106027 | 81Д-6106027 | Петля двери нижняя левая в сборе | |
| 81Б-6105083 | 81Б-6105083 | Привод замка двери левый в сборе | |
| 81Б-6103211 | 81Б-6103211 | Стекло окна двери опускное левое в сборе | |
| 81Б-6103210 | 81Б-6103210 | Стекло окна двери опускное правое в сборе | |
| 81-6104013 | 81-6104013 | Стеклоподъемник двери левый в сборе | |
| 81Б-6103235-Б | 81Б-6103235-Б | Стойка опускного стекла двери с желобком левая в сборе | |
| 221691-П8 | 221691-П8 | Винт 1М8х18 | |
| 252003-П8 | 252003-П8 | Шайба 5 | |
| 252133-П2 | 252133-П2 | Шайба 5Т ОСТ 37.001.115-75 | |
| 252004-П8 | 252004-П8 | Шайба 6 | |
| 252264-П8 | 252264-П8 | Шайба 8 | |
| М-702550-А | М-702550-А | Шип фиксатора двери | |
| М-702550-С | М-702550-С | Шип фиксатора двери | |
| 258012-П | 258012-П | Шплинт 2х12 | |
| 240211-П8 | 240211-П8 | Шуруп 3,5х9 | |
| 240817-П8 | 240817-П8 | Винт 4х10 | |
| 247545-П8 | 247545-П8 | Винт 4х15 | |
| 248035-П8 | 248035-П8 | Шуруп ф5х22 мм крепления замка двери | |
| 221677-П8 | 221677-П8 | Винт М8х1,25х55 крепления верхней петли к двери | |
| 81Д-6103221 | 81Д-6103221 | Обойма и кулиса опускного стекла двери левая в сборе | |
| 221691-П8 | 221691-П8 | Винт 1М8х18 | |
| 240820-П8 | 240820-П8 | Винт 4х18 | |
| 224600-П6 | 224600-П6 | Винт М5-6gх16 | |
| 224600-П6 | 224600-П6 | Винт М5-6gх16 | |
| 220105-П8 | 220105-П8 | Винт М6х16 | |
| 220195-П8 | 220195-П8 | Винт М6Х1Х16 крепления стеклоподъемника двери | |
| 223071-П8 | 223071-П8 | Винт М6х1х30 крепления шипа двери | |
| 221677-П8 | 221677-П8 | Винт М8х1,25х55 крепления верхней петли к двери | |
| 240818-П8 | 240818-П8 | Винт 4х12 | |
| 240818-П | 240818-П | Винт ф4х12 мм крепления переднего защитного канта проема двери | |
| 255024-П8 | 255024-П8 | Заклепка 3х6 крепления желобка опускного стекла к стойке | |
| 81Б-6107012 | 81Б-6107012 | Кант проема двери защитный верхний | |
| 81Б-6105013 | 81Б-6105013 | Замок двери левый в сборе | |
| 261121-П | 261121-П | Гвоздь крепления желобка опускного стекла двери | |
| 252544-П2 | 252544-П2 | Заклепка крепления буфера | |
| 81Б-6100010-Б | 81Б-6100010-Б | Дверь окрашенная с арматурой и стеклами правая в сборе | |
| 81Б-6100011-Б | 81Б-6100011-Б | Дверь окрашенная с арматурой и стеклами левая в сборе | |
| 261854-П8 | 261854-П8 | Гвоздь крепления уплотнителя двери | |
| 261853-П8 | 261853-П8 | Гвоздь крепления наружного уплотнителя опускного стекла двери | |
| 261120-П8 | 261120-П8 | Гвоздь крепления канта проема двери заднего | |
| 261121-П8 | 261121-П8 | Гвоздь крепления заднего желобка опускного стекла двери | |
| 1 | 81Д-6106012 | Петля двери верхняя правая в сборе | |
| 2 | 81Б-6103122-Б | Уплотнитель неподвижного стекла окна двери | |
| 3 | 81Б-6103052-Б | Стекло окна двери неподвижное | |
| 3 | 81Б-6103052-Б1 | Стекло окна двери неподвижное | |
| 4 | 81Б-6103126 | Желобок неподвижного стекла окна двери на стойке | |
| 5 | 81Б-6103234-Б | Стойка опускного стекла двери с желобком правая в сборе | |
| 6 | 81Д-6103282 | Желобок опускного стекла двери передний верхний | |
| 7 | 81Б-6103276 | Желобок опускного стекла двери верхний | |
| 8 | 91Б-6103216 | Стекло окна двери опускное | |
| 8 | 81Б-6103216-А | Стекло окна двери опускное | |
| 9 | 81Б-6107062 | Кант проема двери защитный верхний | |
| 10 | 64-416804 | Держатель защитного канта проема двери верхний | |
| 11 | 81Д-6107046 | Держатель защитного канта проема двери задний | |
| 12 | 81Б-6107064 | Кант проема двери защитный задний | |
| 13 | 81Д-6103268 | Уплотнитель опускного стекла двери наружный | |
| 14 | 81Д-6105150 | Ручка двери наружная в сборе | |
| 15 | 248468-П8 | Шуруп 4х26 мм крепления наружной ручки двери | |
| 16 | М-702550-В | Шип фиксатора двери | |
| 17 | 248051-П8 | Шуруп ф6х30 мм крепления гнезда направляющего шипа двери | |
| 18 | 81Б-6107058 | Уплотнитель двери в сборе | |
| 19 | 81Б-6103254 | Желобок опускного стекла двери задний | |
| 20 | 30-6103218 | Прокладка опускного стекла передней двери в обойме толстая | |
| 20 | 30-6103218-Б | Прокладка опускного стекла передней двери в обойме тонкая | |
| 21 | 81Д-6103220 | Обойма и кулиса опускного стекла двери правая в сборе | |
| 22 | 67-416804 | Держатель переднего защитного канта проема двери | |
| 23 | 81Б-6107024-Б | Кант проема двери защитный передний | |
| 24 | 81Д-6103284 | Желобок опускного стекла двери передний нижний в сборе | |
| 25 | 81Б-6105102 | Тяга привода замка двери правая | |
| 26 | 81Б-6105012 | Замок двери правый в сборе | |
| 27 | 81-6104012 | Стеклоподъемник двери правый в сборе | |
| 28 | 81-6104064 | Ручка стеклоподъемника в сборе | |
| 29 | 81-6105184 | Подкладка ручки стеклоподъемника | |
| 29 | 81-6105184 | Подкладка ручки стеклоподъемника | |
| 30 | 81-6105182 | Ручка стопора салазок переднего сиденья | |
| 31 | 81Б-6105082 | Привод замка двери правый в сборе | |
| 32 | 81Д-6106026 | Петля двери нижняя правая в сборе | |
| 33 | 81-6106082 | Ограничитель двери в сборе | |
| 34 | 81-6106086 | Буфер ограничителя двери |
Содержащиеся в справочниках-каталогах запасные части и детали не предлагаются к продаже, а носят исключительно информационный характер