Каталог запасных частей к технике: ГАЗ-3308. Трубопроводы тормозной системы
1
2
2
2
3
4
5
6
7
8
8
9
10
10
10
11
11
12
13
14
14
14
14
14
14
15
15
15
16
16
17
17
18
18
18
18
18
18
19
19
19
20
21
22
23
23
23
23
23
23
24
24
24
25
25
26
26
27
27
27
27
27
28
28
28
29
30
31
32
32
33
34
35
35
36
37
38
39
39
40
40
40
41
41
41
42
43
44
45
46
47
48
49
50
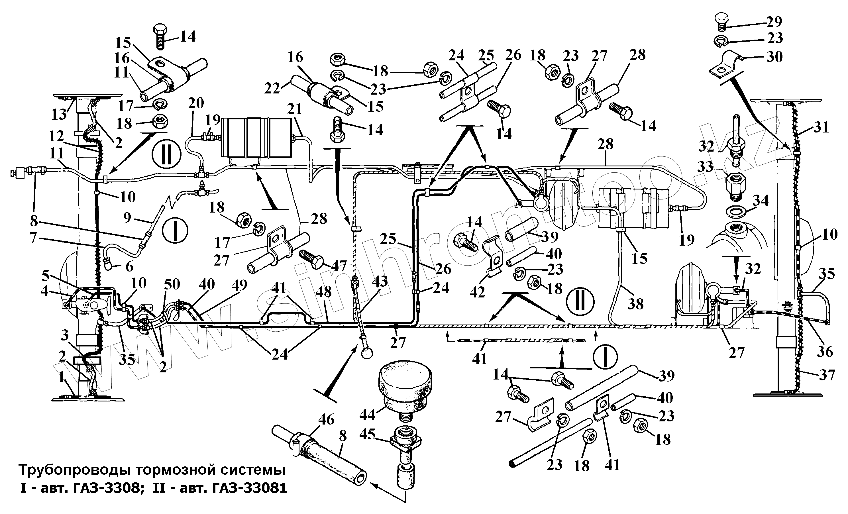
| Позиция на иллюстрации | Заводской номер детали | Название детали | |
|---|---|---|---|
| 1 | 66-50-3506091 | Трубка от гибкого шланга к левому переднему тормозу в сборе | |
| 2 | 66-3506025-01 | Шланг гибкий передних тормозов в сборе | |
| 3 | 66-50-3506020 | Трубка от тройника к левому переднему тормозу в сборе | |
| 4 | 3307-3506065 | Трубка от вторичной полости главного цилиндра к шлангу в сборе | |
| 5 | 3307-3506073 | Трубка от первичной полости главного цилиндра к шлангу в сборе | |
| 6 | 66-3552042 | Штуцер забора вакуума | |
| 7 | 3307-3552026-10 | Трубка от штуцера забора вакуума к шлангу | |
| 8 | 52-1101078-01 | Шланг сливного краника | |
| 9 | 3307-3552036-10 | Трубка от шланга к тройнику | |
| 10 | 20-3506046 | Втулка защитная | |
| 11 | 3309-3552036 | Трубка от шланга к тройнику | |
| 12 | 66-50-3506023 | Трубка от тройника к правому переднему тормозу в сборе | |
| 13 | 66-50-3506090 | Трубка от гибкого шланга к правому переднему тормозу в сборе | |
| 14 | 201455-П29 | Болт М8-6gх18 ОСТ 37.001.123-96 | |
| 15 | 297515-П29 | Скоба | |
| 16 | 66-3724250 | Прокладка уплотнительная | |
| 17 | 252135-П2 | Шайба 8Т ОСТ 37.001.115-75 | |
| 18 | 250510-П29 | Гайка М8-6Н ОСТ 37.001.124-93 | |
| 19 | 64-6784-07 | Рукав | |
| 20 | 3307-3552076 | Трубка от тройника к баллону передних тормозов в сборе | |
| 21 | 33097-3552060 | Трубка от баллона к камере усилителя передних тормозов | |
| 22 | 33097-3552070 | Трубка от тройника к усилителю передних тормозов | |
| 23 | 252155-П2 | Шайба 8Л ОСТ 37.001.115-75 | |
| 24 | 53-3506050 | Скоба | |
| 25 | 33097-3506060 | Трубка от усилителя передних тормозов к муфте | |
| 26 | 33097-3506062 | Трубка от муфты к усилителю передних тормозов | |
| 27 | 66-1104145 | Скоба крепления трубки | |
| 28 | 33097-3552080 | Трубка вакуумная от тройника к баллону задних тормозов | |
| 29 | 201452-П29 | Болт М8-6gх12 ОСТ 37.001.123-96 | |
| 30 | 297484-П29 | Скоба | |
| 31 | 66-50-3506040-01 | Трубка от тройника к правому заднему тормозу в сборе | |
| 32 | 33097-3506030 | Трубка от усилителя задних тормозов к регулятору давления | |
| 33 | 24-3546012 | Штуцер соединительный | |
| 34 | 51-3506013 | Прокладка | |
| 35 | 51-3506025-02 | Шланг гибкий тормозов в сборе | |
| 36 | 33097-3506075 | Трубка от регулятора к шлангу | |
| 37 | 66-50-3506035-01 | Трубка от тройника к левому заднему тормозу в сборе | |
| 38 | 33097-3552056 | Трубка от баллона к камере усилителя задних тормозов | |
| 39 | 3308-3552066 | Трубка от тройника к усилителю задних тормозов | |
| 40 | 3308-3506086 | Трубка от шланга к усилителю задних тормозов | |
| 41 | 51-3506044 | Скоба | |
| 42 | 4301-3506171 | Скоба | |
| 43 | 3307-3552032 | Трубка от фильтра к тройнику в сборе | |
| 44 | 4301-3553010 | Фильтр воздушный гидровакуумного усилителя тормозов в сборе | |
| 45 | 4301-3553023 | Гайка крепления воздушного фильтра | |
| 46 | ТВОС-049.001-02 | Хомут 12-22 ТУ 4599-003-03966022-00 | |
| 46 | 00.10.00 | Хомут 12-22 ТО17-9-20-98 | |
| 47 | 201456-П29 | Болт М8-6gх20 ОСТ 37.001.123-96 | |
| 48 | 3308-3506184 | Трубка от муфты к шлангу передних тормозов | |
| 49 | 3308-3506068 | Трубка от шланга передних тормозов к муфте | |
| 50 | 49-3724527 | Поясок крепления жгута проводов |
Содержащиеся в справочниках-каталогах запасные части и детали не предлагаются к продаже, а носят исключительно информационный характер