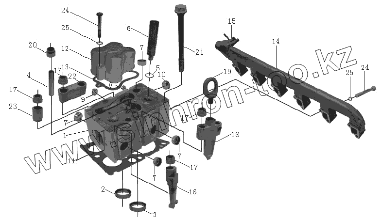
Каталог запасных частей к технике: Foton-BJ3251DLPJB. Головка блока цилиндров
612600040284
612600040149
1
2
3
4
5
6
7
7
7
7
8
9
10
11
12
13
14
16
17
17
17
17
18
19
20
21
22
23
24
24
25
25
| Позиция на иллюстрации | Заводской номер детали | Название детали | |
|---|---|---|---|
| 612600040284 | 612600040284 | Головка блока цилиндров в сборе | |
| 612600040149 | 612600040149 | Крышка клапанного механизма | |
| 1 | 612600040283 | Головка блока цилиндров | |
| 2 | 61560040057 | Седло впускного клапана | |
| 3 | 81560040037 | Седло выпускного клапана | |
| 4 | 612600040113 | Втулка направляющая клапана | |
| 5 | 406060010 | Кольцо уплотнительное втулки направляющей для топливной форсунки | |
| 6 | 612600040099 | Втулка направляющая топливной форсунки | |
| 7 | 90003989294 | Заглушка головки блока цилиндров | |
| 8 | 90003989277 | Заглушка головки блока цилиндров | |
| 9 | 90003989721 | Заглушка головки блока цилиндров | |
| 10 | 90003989725 | Заглушка головки блока цилиндров | |
| 11 | 61500040049 | Прокладка головки блока цилиндров | |
| 12 | 614040065 | Крышка клапанного механизма | |
| 13 | 614040021 | Прокладка крышки клапанного механизма | |
| 14 | 61500040102 | Трубка системы охлаждения | |
| 16 | 61200040027 | Проставка крепежная головки блока цилиндров | |
| 17 | 61200040034 | Гайка крепежная головки блока цилиндров | |
| 18 | 61500040012 | Проставка крепежная головки блока цилиндров | |
| 19 | 614010388 | Рым-Болт | |
| 20 | 612600040114 | Колпачок маслосъемный | |
| 21 | 61500040023 | Болт крепления головки блока цилиндров | |
| 22 | 61500040009 | Проставка крепежная головки блока цилиндров | |
| 23 | 61200040023 | Проставка крепежная головки блока цилиндров | |
| 24 | 90003800466 | Болт | |
| 25 | 90003932023 | Шайба гровера |
Содержащиеся в справочниках-каталогах запасные части и детали не предлагаются к продаже, а носят исключительно информационный характер