Каталог запасных частей к технике: Foton-BJ1099. Крышка верхняя
1
1
1
1
1
2
3
3
3
3
3
3
3
3
4
4
4
4
4
4
4
4
5
6
7
8
9
10
11
12
13
14
15
16
17
17
18
19
20
21
22
23
24
25
26
27
28
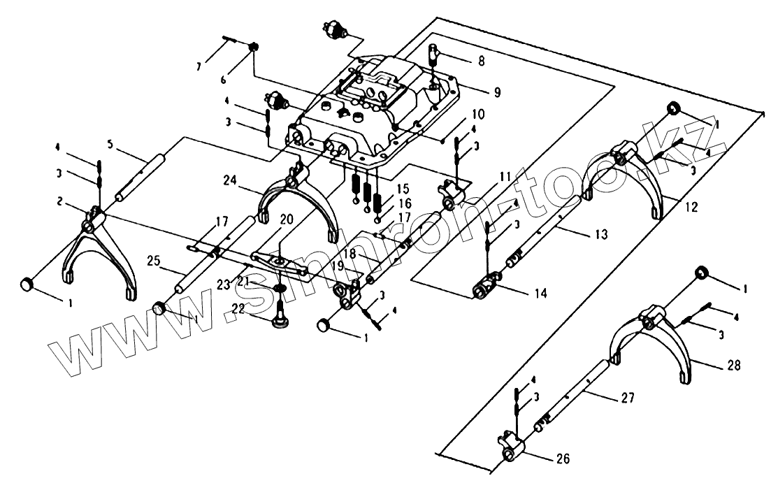
| Позиция на иллюстрации | Заводской номер детали | Название детали | |
|---|---|---|---|
| 1 | 1701015-С1 | Заглушка | |
| 2 | 1702062-14 | Вилка переключения пятой и шестой передач | |
| 3 | 1702041-11 | Штифт | |
| 4 | 1702042-11 | Упругий штифт блокировки вилки переключения передач | |
| 5 | 1702072-14 | Вал вилки переключения пятой и шестой скорости | |
| 6 | СQ38714 | Гайка корончатая | |
| 7 | Q5003025 | Шплинт | |
| 8 | 1702091-11 | Вентиляционная пробка | |
| 9 | 1702021-8С | Верхняя крышка коробки передач | |
| 10 | СQ72112 | Заглушка | |
| 11 | 1702065-11 | Направляющий блок переключения пятой и шестой передач | |
| 12 | 1702054-680 | Вилка переключения первой и второй передач | |
| 13 | 1702053-11 | Вал вилки переключения первой и второй передач | |
| 14 | 1702056-11 | Направляющий блок переключения первой и второй передач | |
| 15 | 1702026-11 | Пружина блокировки вала вилки переключения передач | |
| 16 | Q966955 | Шарик блокировки вала вилки переключения передач | |
| 17 | 1702028-11 | Штифт | |
| 18 | 1702061-120 | Вал вилки переключения пятой и шестой передач | |
| 19 | 1702071-14 | Направляющий блок переключения пятой и шестой скорости | |
| 20 | 1702074-14 | Рычаг переключения пятой и шестой скорости | |
| 21 | 1702076-14 | Шайба | |
| 22 | 1702073-14 | Переводный вал-пятая и шестая скорости | |
| 23 | 1702029-11 | Штифт | |
| 24 | 1702058-11 | Вилка переключения третьей и четвертой передач | |
| 25 | 1702057-14 | Вал вилки переключения третьей и четвертой передач | |
| 26 | 1702045-11 | Головка переключения заднего хода | |
| 27 | 1702036-11 | Вал вилки включения заднего хода | |
| 28 | 1702037-11 | Вилка переключения заднего хода |
Содержащиеся в справочниках-каталогах запасные части и детали не предлагаются к продаже, а носят исключительно информационный характер