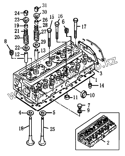
Каталог запасных частей к технике: Foton-BJ1069. Головка блока цилиндров
1
2
3
4
5
6
7
8
9
10
11
12
13
14
15
16
17
18
19
20
21
22
23
24
25
26
27
28
29
30
31
| Позиция на иллюстрации | Заводской номер детали | Название детали | |
|---|---|---|---|
| 1 | Т3681Е033D | Прокладка | |
| 2 | ТС3712Н074Z | Головка блока цилиндров в сборе | |
| 3 | Т3712Н074 | Головка блока цилиндров | |
| 4 | Т3342Е003 | Седло впускного клапана | |
| 5 | Т3342А122 | Седло выпускного клапана | |
| 6 | Т0650586 | Заглушка | |
| 7 | Т0650203 | Заглушка | |
| 8 | Т2431154 | Заглушка | |
| 9 | Т2411157 | Шайба | |
| 10 | Т0650710 | Заглушка | |
| 11 | Т32417121 | Заглушка | |
| 12 | Т3343F041 | Направляющая впускного клапана | |
| 13 | Т3343J021 | Направляющая выпускного клапана | |
| 14 | Т2114А046 | Фиксирующая втулка | |
| 15 | Т32166219 | Болт | |
| 16 | Т32166221 | Болт | |
| 17 | Т32166222 | Болт | |
| 18 | Т3142L072 | Впускной клапан | |
| 19 | Т33817117 | Уплотнительное кольцо | |
| 20 | Т31745122 | Наружная пружина впускного клапана | |
| 21 | Т31744133 | Внутренняя пружина впускного клапана | |
| 22 | Т33415118 | Шайба | |
| 23 | Т33424107 | Крышка впускного клапана | |
| 24 | Т33173108 | Сухарь впускного клапана | |
| 25 | Т3142А051 | Выпускной клапан | |
| 26 | Т33817117 | Уплотнительное кольцо | |
| 27 | Т31745122 | Наружная пружина впускного клапана | |
| 28 | Т31744133 | Внутренняя пружина впускного клапана | |
| 29 | Т33415118 | Шайба | |
| 30 | Т33424107 | Крышка впускного клапана | |
| 31 | Т33173108 | Сухарь впускного клапана |
Содержащиеся в справочниках-каталогах запасные части и детали не предлагаются к продаже, а носят исключительно информационный характер