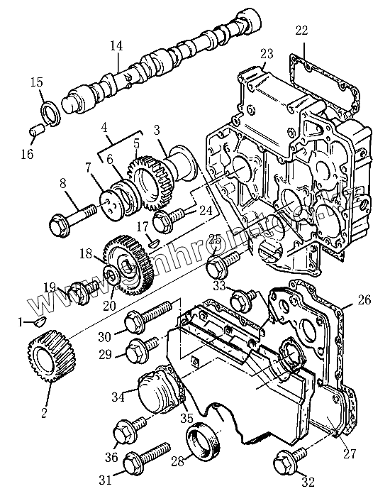
Каталог запасных частей к технике: Foton-BJ1049. Распределительный вал и шестерни
1
2
3
4
5
6
7
8
14
15
16
17
18
19
20
22
23
24
25
26
27
28
29
30
31
32
33
34
35
36
| Позиция на иллюстрации | Заводской номер детали | Название детали | |
|---|---|---|---|
| [Шайба пружинная GВ93-87 D8] | [Шайба пружинная GВ93-87 D8] | Шайба пружинная GВ93-87 D8 | |
| [Шайба GВ97.1-85 D8] | [Шайба GВ97.1-85 D8] | Шайба GВ97.1-85 D8 | |
| 1 | Т0500012 | Шпонка | |
| 2 | Т3117С061 | Шестерня | |
| 3 | Т33426161 | Ступица колеса | |
| 4 | Т4111А013 | Шестерня | |
| 5 | Т3117L061 | Промежуточная шестерня | |
| 6 | Т0050345 | Втулка | |
| 7 | Т3241Н009 | Пластина | |
| 8 | Т2314J010 | Болт | |
| 14 | Т31415363 | Распределительный вал | |
| 15 | Т33153121 | Пластина | |
| 16 | Т2116053 | Штифт | |
| 17 | Т0500012 | Шпонка | |
| 18 | Т3117L023 | Шестерня | |
| 19 | Т2314J606 | Болт | |
| 20 | Т3321А003 | Шайба | |
| 22 | Т72203101 | Прокладка | |
| 23 | Т72201102 | Картер распределительных шестерен | |
| 24 | Т2314Н003 | Болт | |
| 25 | Т2314J042 | Болт | |
| 26 | Т72203104 | Прокладка | |
| 27 | Т72203103 | Передняя крышка | |
| 28 | Т2418F436 | Сальник | |
| 29 | Т2314Н004 | Болт | |
| 30 | Т2314Н034 | Болт | |
| 31 | Т2314J004 | Болт | |
| 32 | Т2314Н034 | Болт | |
| 33 | Т2314Н013 | Болт | |
| 34 | Т3753R211 | Крышка | |
| 35 | Т3682Н003А | Прокладка | |
| 36 | Т2314F036 | Болт |
Содержащиеся в справочниках-каталогах запасные части и детали не предлагаются к продаже, а носят исключительно информационный характер