Каталог запасных частей к технике: Foton-BJ1049. Блок цилиндров
1
2
3
4
5
6
7
8
9
9
10
11
12
13
14
15
16
17
18
19
20
21
22
23
24
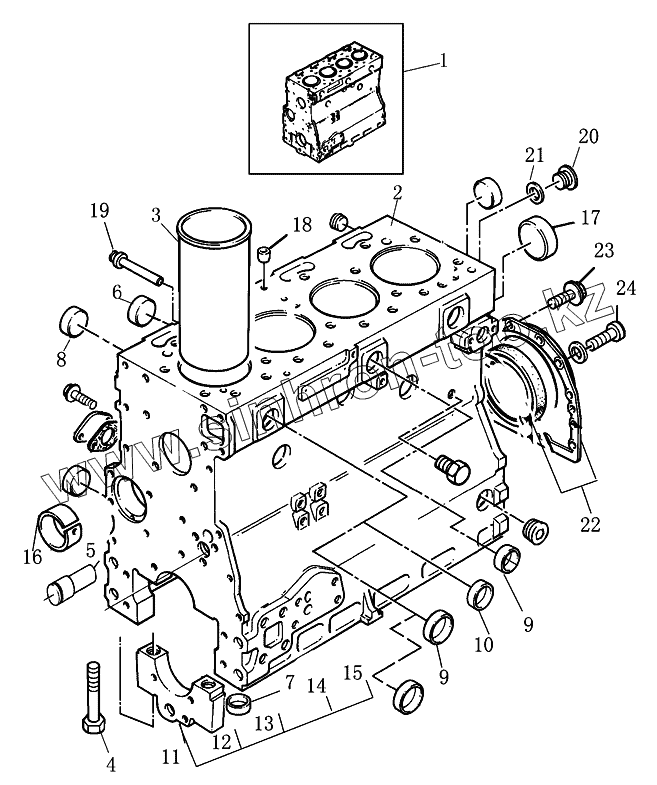
| Позиция на иллюстрации | Заводской номер детали | Название детали | |
|---|---|---|---|
| 1 | Т3711Н121FZ | Блок цилиндров в сборе | |
| 2 | Т3711Н121F | Блок цилиндров | |
| 3 | Т3135Х063 | Гильза цилиндра | |
| 4 | Т32166329 | Болт | |
| 5 | Т3271Н004 | Вал промежуточной шестерни | |
| 6 | Т3774А004 | Заглушка | |
| 7 | Т33142111 | Контрольная втулка | |
| 8 | Т32418122 | Заглушка | |
| 9 | Т0650710 | Заглушка | |
| 10 | Т32418124 | Заглушка | |
| 11 | Т3133К021С | Крышка подшипника | |
| 12 | Т3133К022 | Крышка подшипника | |
| 13 | Т3133К023 | Крышка подшипника | |
| 14 | Т3133К024 | Крышка подшипника | |
| 15 | Т3133К025 | Крышка подшипника | |
| 16 | Т31134165 | Втулка | |
| 17 | Т32416119 | Заглушка | |
| 18 | Т32417134 | Заглушка | |
| 19 | Т64404002 | Заглушка | |
| 20 | Т32168212 | Заглушка | |
| 21 | Т72101002 | Шайба | |
| 22 | Т2418F701 | Задний сальник | |
| 23 | Т3211С002 | Болт | |
| 24 | Т3211С002 | Болт | |
| 25 | Т0650588 | Заглушка | |
| 26 | Т0650588 | Заглушка |
Содержащиеся в справочниках-каталогах запасные части и детали не предлагаются к продаже, а носят исключительно информационный характер