Вернуться на главную
Поиск
Каталоги запчастей к технике
Грузовые автомобили и прицепы
Foton
BJ1051, BJ1061 (Aumark)
1S10611720101 Управляющий механизм коробки передач
Каталог запасных частей к технике: Foton BJ1051, BJ1061 (Aumark). 1S10611720101 Управляющий механизм коробки передач
zoom-in
zoom-out
enlarge
shrink
circle-right
circle-left
file-text2
info
cart
Тип техники
Не выбрано
Легковые автомобили
Грузовые автомобили и прицепы
Автобусы
Сельхозтехника
Спецтехника
Двигатели
Мототехника
Марка
Не выбрано
BAW
DAF
DongFeng
FAW
Foton
HOWO
Hyundai
IVECO
JAC Motors
LGMG
MAN
Shaanxi
SITRAK
Studebaker
Tata
Volvo
Автокомпонент Плюс
БелАЗ
Брянский Арсенал
ГАЗ
ЗИЛ
КАЗ
Камский автозавод
КрАЗ
Мадара
МАЗ
МЗКТ
МоАЗ
Нефтекамский автозавод
Ставропольский Завод АвтоПрицепов
ТАТРА
Тонар
УралАЗ
ЧМЗАП
Модель
Не выбрано
3253DLPJE-0RZA01 (2015)
4189SLFKA-AEZA01 (2012)
BJ1039, BJ1049 (Aumark III) (2008)
BJ1041, BJ1069 (Ollin) (2008)
BJ1051, BJ1061 (Aumark) (2009)
Foton-BJ1039 (2007)
Foton-BJ1049 (2007)
Foton-BJ1049 (2007)
Foton-BJ1069 (2007)
Foton-BJ1099 (2007)
Foton-BJ3251DLPJB (2007)
Оllin Express I (2008)
Схема
>
Не выбрано
1SB2005000205 Корпус кузова
1SB2005000315 Корпус кузова
1SB2005720108 Принадлежности крыши
1SB2005720107 Принадлежности крыши
1SB2005720101 Принадлежности крыши
1SB2005310305 Принадлежности переднего оперения
1SB2005310105 Принадлежности переднего оперения
1SB2005310106 Принадлежности переднего оперения
1SB2003710117 Освещение переднего оперения (боковая лампа указателя поворота на двери)
1SB1803720102 Освещение заднего оперения 24В
1SB2003720101 Освещение заднего оперения 24В
1S10693673001 Сигнализация
1S10433673002 Сигнализация
1S10513680003 Электрооборудование
1S10613680102 Электрооборудование
1S10513680002 Электрооборудование
1SB2005070102 Обтекатели
1SB2008210106 Зеркало заднего вида
1SB1808210304 Зеркало заднего вида
1SB2008210103 Зеркало заднего вида
1SB1808240101 Противосолнечное устройство
1SB2005350101 Панель приборов
1SB2005350103 Панель приборов
1SB2003760111 Устройство приборов
1SB2003760116 Устройство приборов
1SB2005250105 Дворник и омыватель
1SB2008110401 Отопление (1B20081100001 Монтажный чертеж отопления кузова)
1SB2008110401 Отопление (1B20081100502 E3.8 Монтажный чертеж отопления шасси)
11SB2008110128 Отопление
21SB2008110128 Отопление
11SB2008120401 Воздухоохладитель
1SB2008120401 Воздухоохладитель
1SB2008120128 Воздухоохладитель
1SB1806810101 Сидение водителя, 1SB2006910101 Передние сидения
1SB2005610102 Принадлежности заднего оперения
1SB2007040101 Спальное место
1SB2005210103 Запчасти ветрового стекла
1SB2005410103 Принадлежности бокового оперения
1SB2006120101 Принадлежности передних боковых дверей
1SB1806120101 Принадлежности передних боковых дверей
1SB1806120103 Принадлежности передних боковых дверей
1SB1806150154 Дверной замок
1SB1806150150 Дверной замок
1SB1806140109 Стеклоподъемник
1SB1806140105 Стеклоподъемник
1SB2003740165 Провода в кузове
1SB2003740177 Провода в кузове
1S10513500101 Вспомогательный тормоз
1S10613500001 Вспомогательный тормоз
1S10613500101 Вспомогательный тормоз
1S10511190108 Впускное устройство
1S10611190103 Впускное устройство
1S10511200101, 1S10611200101 Выпускное устройство
1S10511200102 Выпускное устройство
1S10511620101 Управляющее устройство сцепления
1S10611620101 Управляющее устройство сцепления
1S10431630114 Управляющий механизм сцепления
1S10511610101, 1S10611610101 Устройство сцепления
1S10811170101 Привод с ускорением – в кабине (для машины люкс-класса)
1S10433540103 Подвеска педали
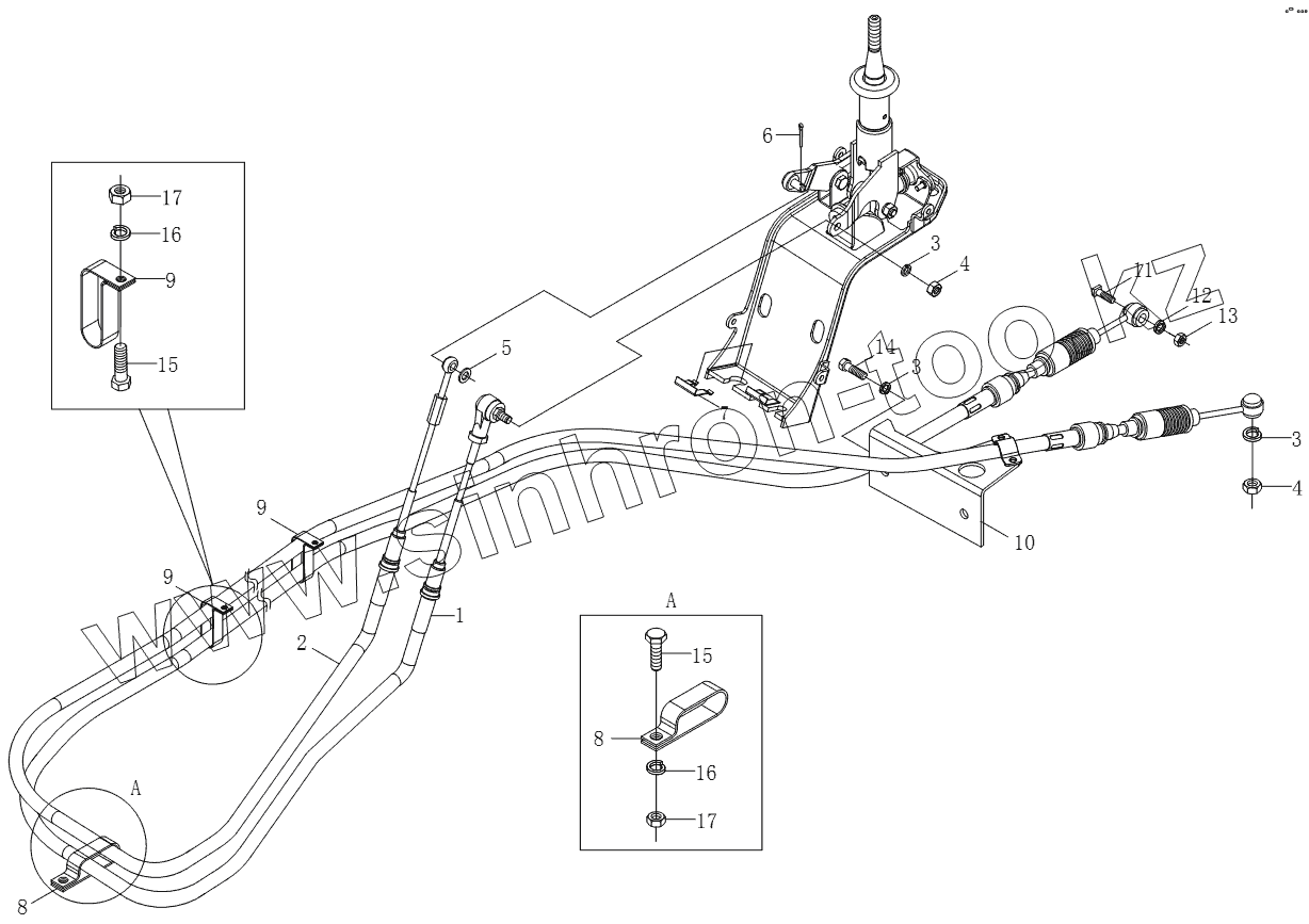
1S10511720101 Управляющий механизм коробки передач
1S10611720101 Управляющий механизм коробки передач
1S10511730101, 1S10611730102 Управляющий механизм переключения передач
1S10613590001 Тормозной трубопровод кузова
1SB2008450101 Подножки
1SB2005120114 Отделочная деталь пола
1SB1805050127 Внешняя отделка кузова
1SB1805050120 ВВнешняя отделка кузова
1SB2008430207 Брызговики колеса
1SB2008430202 Подножки
1SB2008430201 Брызговики кузова
1S10512920001 Передняя подвеска
1S10692920104 Передняя подвеска
1S10493110108 Колеса и шины
1S10693110107 Колеса и шины
1S10511010101 Подвеска силового агрегата
1S10611010101 Подвеска силового агрегата
1S10511710101 Коробка передач (1105117100001 Коробка передач)
1S10611710102 Коробка передач (1106117100002 Коробка передач)
1S10493530102 Управляющий механизм стояночного тормоза
1S10513580001 Управляющий механизм стояночного тормоза
1S10613580001 Управляющий механизм стояночного тормоза
1S10693570102 Стояночный тормоз
1S10333150102 Орган для монтажа запасной шины
1S10513400101 Рулевой механизм и принадлежности
1S10613400101 Рулевой механизм и принадлежности
1S10493420109 Рулевой привод
1S10511100101 Топливная система
1S10611100101 Топливная система
1S10512200101 Карданный вал
1S10692200201 Карданный вал
1S10512950002 Задняя подвеска
1S10692950102 Задняя подвеска
1S10513000103 Передний мост
1S10613000103 Передний мост
1S10512400105 Задний мост
1S10612400102 Задний мост
1S10512800104 Рама
1S10612800101 Рама
1SB2005020101 Опрокидывающий и блокирующий механизмы кузова (1B20050200010 Опрокидывающий механизм в сборе)
1SB2005020101 Опрокидывающий и блокирующий механизмы кузова (1B20050200200 Блокирующий механизм в сборе)
1SB2005020115 Опрокидывающий и блокирующий механизмы кузова (1B20050200610 Опрокидывающий механизм в сборе)
1SB2005020115 Опрокидывающий и блокирующий механизмы кузова (1B20050200200 Блокирующий механизм в сборе)
1S10511300101 Система охлаждения
1S10511300103 Система охлаждения
1S10611300101 Система охлаждения
1S10611300103 Система охлаждения
1S10663150000 Держатель запасного колеса
1S10693940132 Этикетки
1SB2008590145 Ограждение и принадлежности грузового ящика
1SB2008500191 Грузовой ящик (для экспорта в Россию)
1SB2008500193 Грузовой ящик (для экспорта в Россию, однорядный)
1SB2008500194 Грузовой ящик (для экспорта в Россию, полтора ряда)
1SB2008570132 Внешняя упаковка грузового ящика
1SB1808570126 Внешняя упаковка грузового ящика (для экспортируемых машин)
1SB1808570127 Вешняя упаковка грузового ящика (для экспортных вагонных машин)
1S10493930105 Таблички с надписью
1SB1808220101 Ремень безопасности
1SB1808250101 Огнетушитель
1S10433910105 Сопроводительные инструменты и принадлежности
1S10663910101 Сопроводительные инструменты и принадлежности
1S10463920103 Инструментальный ящик
1SB2008710201 Струйная окраска кузова
1SB2008710201 Струйная окраска кузова
1SB2008260103 Другие аксессуары
1SB1803780104 Электрические акссесуары
1SB1807910102 Звукотехника люкс-класса
1SB1807910104 Звукотехника
1SB1807910106 Типичная звукотехника
1S10513663001 Выключатель на шасси (для машины люкс-класса)
1S10513663002 Выключатель на шасси
1SB2003730159 Выключатели в кузове
1SB2003730168 Выключатели в кузове
1SB2003750204 Реле, контроллер (для машины люкс-класса)
1SB2003750203 Реле, контроллер (для машины люкс-класса)
1S10433613010 Аккумулятор
1S10513613002 Аккумулятор
1S10611720101
1
2
3
3
3
4
4
5
6
7
8
8
9
9
9
10
11
12
13
14
15
15
16
16
17
17
Позиция на иллюстрации
Заводской номер детали
Название детали
1S10611720101
1S10611720101
Управляющий механизм коробки передач
1
1108917200021
Гибкий вал переключения передач в сборе
2
1108917200022
Гибкий вал выбора передач в сборе
3
Q40308F30
Шайба пружинная
4
Q340B08F30
Шестигранная гайка типа 1
5
Q40108F30
Плоская шайба
6
Q5002032
Шплинт
7
1102917200003
Замковая пластина 8х60
8
Q687143F4
Многотрубчатый стрингер
9
1103917200007
Трехтрубный зажим
10
1106917200016
Кронштейн
11
1106617200005
Шарнирный палец
12
Q40310F30
Шайба пружинная
13
Q340B10F30
Шестигранная гайка типа 1
14
Q150B0820F30
Болт с шестигранной головкой
15
Q150B0620F30
Болт с шестигранной головкой
16
Q40306F30
Шайба пружинная
17
Q340B06F30
Шестигранная гайка типа 1
Содержащиеся в справочниках-каталогах запасные части и детали не предлагаются к продаже, а носят исключительно информационный характер
Дополнительная информация
×
Название:
Номер:
Примечание: