Вернуться на главную
Поиск
Каталоги запчастей к технике
Грузовые автомобили и прицепы
FAW
CA 5250 (GJBP66K2T1E4)
Система подачи топлива (II)
Каталог запасных частей к технике: FAW CA 5250 (GJBP66K2T1E4). Система подачи топлива (II)
zoom-in
zoom-out
enlarge
shrink
circle-right
circle-left
file-text2
info
cart
Тип техники
Не выбрано
Легковые автомобили
Грузовые автомобили и прицепы
Автобусы
Сельхозтехника
Спецтехника
Двигатели
Мототехника
Марка
Не выбрано
BAW
DAF
DongFeng
FAW
Foton
HOWO
Hyundai
IVECO
JAC Motors
LGMG
MAN
Shaanxi
SITRAK
Studebaker
Tata
Volvo
Автокомпонент Плюс
БелАЗ
Брянский Арсенал
ГАЗ
ЗИЛ
КАЗ
Камский автозавод
КрАЗ
Мадара
МАЗ
МЗКТ
МоАЗ
Нефтекамский автозавод
Ставропольский Завод АвтоПрицепов
ТАТРА
Тонар
УралАЗ
ЧМЗАП
Модель
Не выбрано
Altay-3310 (2009)
CA 3250 P66K2T1E5 (2017)
CA 3250 серии J6 (2012)
CA 3310 серии J6 (2012)
CA 4250 P66K24T1E (2017)
CA 5250 (GJBP66K2T1E4) (2014)
CA 5250 (JSQP64K1T1E4) (2014)
CA-1083 (2007)
CA-3250-P66K2L0BT1E4Z (2018)
CA-3250-P66K2L1BT1E4Z (2018)
CA-3250-P66K2L2BT1E4Z (2018)
CA-3252 (2005)
CA-3252 (P2K2BT1A) (2008)
CA-3252 (P2K2T1A) (2009)
CA-3312 (P2K2B2T4A2Z) (2011)
CA-3312 (P2K2LT4E) (2008)
CA-4180 (P66K22A) (2008)
CA-4180 (P66K2A) (2008)
CA-4250 (P66K22T1A1EX) (2008)
CA-4250 (P66K24T1E5) (2017)
CA-4250 (P66K2T1A1EX) (2008)
CA3250 (P66K24L1TE5Z) (2022)
CA3250 (P66K24T1E5) (2022)
CA3251 (P66K2L2T1E5Z) (2017)
CA3310 (P66K24T4E5) (2017)
CA3311 (2020)
CA4180 (P77K25E5) (2022)
Схема
>
Не выбрано
Двигатель (правая схема)
Двигатель (левая схема)
Подвеска двигателя
Составляющие элементы блока цилиндров
Блок цилиндров
Составляющие элементы головки блока цилиндров
Головка блока цилиндров
Поршни и шатуны
Коленчатый вал, шкив и маховик
Кулачковый механизм
Трансмиссионная система
Система газораспределения
Выхлопная труба
Масляный картер
Маслоприемник
Масляный насос
Масляный радиатор
Вентиляция картера
Центробежный масляный фильтр
Устройство отбора мощности
Система шестерен передней части
Система подачи топлива (I)
Система подачи топлива (II)
Штуцер возврата мочевины
Фильтр тонкой очистки топлива
Система турбонаддува
Водосливной кран
Термостат, водяной насос
Вентилятор с муфтой вентилятора
Масляный насос гидроусилителя руля
Воздушный компрессор (I)
Воздушный компрессор (II)
Блок управления двигателем
Датчик электронной системы управления
Генератор
Стартер
Жгут проводов двигателя
Провода маслораспылителя
Воздушный нагреватель
Компрессор с воздушным охлаждением
Топливный бак и топливопровод
Трубопровод мочевины
Воздушный фильтр
Топливный фильтр грубой очистки
Выпускная система
Клапан выхлопного тормоза
Система охлаждения
Промежуточный охладитель, трубопроводы
Сцепление (SACHS)
Сцепление (FAW)
Управление сцеплением
Сцепление и корпус КПП (CA10TA160M КПП)
1-ая ось (CA10TA160M КПП)
2-ая ось (CA10TA160M КПП)
Левый и правый промежуточные валы (CA10TA160M КПП)
Передача заднего хода (CA10TA160M КПП)
Приводная шестерня вспомогательной коробки передач (CA10TA160M КПП)
Левый верхний промежуточный вал вспомогательной КПП (CA10TA160M КПП)
Правый нижний промежуточный вал вспомогательной КПП (с механизмом отбора мощности, КПП CA10TA160M)
Шпиндель вспомогательной коробки передач (CA10TA160M КПП)
Корпус вспомогательной КПП (с механизмом отбора мощности, КПП CA10TA160M)
Цилиндр управления вспомогательной КПП (КПП CA10TA160M)
Клапаны, шланги и фитинги (КПП CA10TA160M)
Верхняя крышка (CA10TA160M КПП)
Крыша (CA10TA160M КПП)
Механизм управления коробкой передач
Задняя подвеска силового агрегата в сборе
Приводной вал заднего моста
Приводной вал среднего моста
Задний мост
Средний мост
Колесный редуктор
Рама и защита
Передняя подвеска
Задняя подвеска
Передняя ось и поперечная рулевая тяга
Продольная рулевая тяга
Ступица переднего колеса с тормозным барабаном
Ступица заднего колеса с тормозным барабаном
Колесо с шиной (12.00R20)
Колесо с шиной (315/80R22.5)
Подъемник запасного колеса
Рулевой механизм
Трубопровод ГУР
Тормоз переднего колеса
Тормоз среднего моста
Тормоз заднего моста
Тормозной трубопровод (I)
Тормозной трубопровод (II)
Педаль тормоза с тормозным клапаном и педаль сцепления с главным цилиндром сцепления
Модуль подачи пневматического тормоза
Внешний ресивер
Блок управления АБС
Датчик частоты вращения колеса передней оси
Датчик частоты вращения колеса заднего моста
Устройство нейтрализации отработавших газов
Датчик температуры наружного воздуха
Электрооборудование кабины
Электрооборудование шасси
Передняя комбинированная фара
Сигнализатор открытой двери
Лампа чтения для водителя
Комбинированный задний фонарь
Блок предохранителей с реле (I)
Блок предохранителей с реле (II)
Распределительная коробка с электрооборудованием
Передний габаритный фонарь
Задний габаритный фонарь
Противотуманная фара
Комбинированный переключатель
Контроллер дверей
Функциональный переключатель
Плеер-приемник
Аккумулятор
Возимый комплект инструментов
Передний буфер (I)
Передний буфер (II)
Кабина
Передняя подвеска кабины (I)
Передняя подвеска кабины (II)
Передняя подвеска кабины (III)
Задняя подвеска кабины (I)
Задняя подвеска кабины (II)
Задняя подвеска кабины (III)
Гидравлическая опора кабины (I)
Гидравлическая опора кабины (II)
Механизм управления опрокидыванием кабины (I)
Механизм управления опрокидыванием кабины (II)
Кронштейн огнетушителя
Кронштейн домкрата
Подножка и передний брызговик (I)
Подножка и передний брызговик (II)
Задний брызговик
Боковой щит двигателя
Верхнее крыло, верхний брызговик и трехступенчатая подножка (I)
Верхнее крыло, верхний брызговик и трехступенчатая подножка (II)
Верхнее крыло, верхний брызговик и трехступенчатая подножка (III)
Задняя звукоизоляция двигателя
Комбинированный коврик
Теплоизоляция пола
Заглушка отверстия пола
Теплоизоляция глушителя
Стеклоочиститель
Переднее ветровое стекло
Омыватель
Заглушка панели передка с водонепроницаемой пленкой
Молдинг панели передка кузова
Замок передней панели и ручка открывания
Боковой обтекатель
Панель передка кузова
Пневмопружина и кронштейн
Комбинированный поручень
Обшивка передней стойки
Передний посадочный поручень
Панель приборов (I)
Панель приборов (II)
Панель приборов (III)
Панель приборов (IV)
Панель приборов (V)
Панель приборов (VI)
Комбинированный верхний отсек (I, с автомобильным регулирующим устройством или узловым контроллером)
Комбинированный верхний отсек (II)
Комбинированный верхний отсек (III)
Внутренние декоративные элементы боковины кузова с посадочным поручнем
Боковой инструментальный ящик
Замок и трос привода замка бокового инструментального ящика
Стекло бокового окна
Комбинированная обшивка задка кузова
Заднее стекло
Вентиляционная решетка
Декоративный кожух задней боковой панели кузова
Заглушка отверстия панели задка кузова
Комбинированная обшивка крыши (I)
Комбинированная обшивка крыши (II)
Комбинированная обшивка крыши (III)
Солнцезащитный занавес на обивке потолка
Держатель контроля лампы скорости
Верхний спойлер
Молдинг крыши
Поручень двери
Передняя дверь
Нижняя декоративная накладка двери
Внутренний декоративный элемент двери
Уплотнитель двери
Ограничитель двери
Стопорное кольцо, держатель фиксатора и наружный уплотнитель двери
Дверной замок с электроприводом
Водительское сиденье
Передний держатель
Комбинированное нижнее спальное место (I)
Комбинированное нижнее спальное место (II)
Комбинированное нижнее спальное место (III)
Кондиционер
Фильтр наружного воздуха
Трубопроводы отопителя
Воздуховод
Конденсатор, резервуар
Трубопровод подачи фтора
Независимое устройство для обогрева топливного бака
Левое наружное зеркало заднего вида
Правое наружное зеркало заднего вида
Комбинированная пепельница
Солнцезащитный козырек на лобовое стекло
Боковой солнцезащитный козырек
Ручной акселератор с электронным приводом
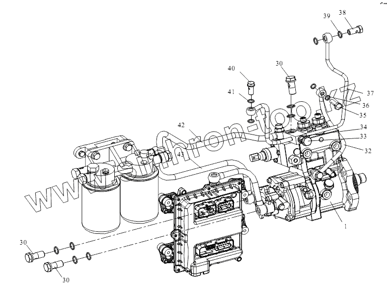
1
1
30
30
30
32
32
33
33
34
35
35
36
37
37
38
38
39
40
40
41
42
42
43
43
Позиция на иллюстрации
Заводской номер детали
Название детали
1
1111010-22Е
Топливный насос в сборе
1
1111010A630-0000
Топливный насос в сборе
30
1104036-73D
Полый болт
31
1111227-59D
Муфта
31
1104088-630-0000
Муфта
32
1104060-630-0000
Маслопровод в сборе
32
1104060-59D
Маслопровод в сборе
33
1117038-60D
Пустотелый болт
33
Q/XC3451.1-2002
Шарнирный болт М14x1.5
34
CQ72316T5
Уплотнительное кольцо
35
1104061-29D
Шарнирный болт
35
1104066-D6
Полый болт - маслопровод в сборе
36
CQ72310T5
Уплотнительное кольцо
37
1104050E630-0000
Обратный топливопровод в сборе
37
1104050-59D
Обратный топливопровод в сборе
38
Q/XC3451.1-2002 M14x1.5
Шарнирный болт
38
1104073-D6
Пустотелый болт возвратного масляного трубопровода
39
CQ72314T5
Уплотнительное кольцо
40
1104051-59D
Полый болт - масляный рельс
40
1104051-630-0000
Полый болт - масляный рельс
41
CQ72312T5
Уплотнительное кольцо
42
1104040-59D
Впускная труба в сборе - от топливного фильтра до сопла
42
1104040D630-0000
Масляный насос
43
1104030-59D
Впускная труба в сборе - от топливного насоса до топлива
43
1104030-630-0000
Фильтр тонкой очистки
44
CQ39608
Гайка
45
1111226-59D
Фиксатор
45
1104089-630-0000
Фиксатор
Содержащиеся в справочниках-каталогах запасные части и детали не предлагаются к продаже, а носят исключительно информационный характер
Дополнительная информация
×
Название:
Номер:
Примечание: