Вернуться на главную
Поиск
Каталоги запчастей к технике
Грузовые автомобили и прицепы
FAW
CA-4250 (P66K2T1A1EX)
Ступенька и передний брызговик (IV)
Каталог запасных частей к технике: FAW CA-4250 (P66K2T1A1EX). Ступенька и передний брызговик (IV)
zoom-in
zoom-out
enlarge
shrink
circle-right
circle-left
file-text2
info
cart
Тип техники
Не выбрано
Легковые автомобили
Грузовые автомобили и прицепы
Автобусы
Сельхозтехника
Спецтехника
Двигатели
Мототехника
Марка
Не выбрано
BAW
DAF
DongFeng
FAW
Foton
HOWO
Hyundai
IVECO
JAC Motors
LGMG
MAN
Shaanxi
SITRAK
Studebaker
Tata
Volvo
Автокомпонент Плюс
БелАЗ
Брянский Арсенал
ГАЗ
ЗИЛ
КАЗ
Камский автозавод
КрАЗ
Мадара
МАЗ
МЗКТ
МоАЗ
Нефтекамский автозавод
Ставропольский Завод АвтоПрицепов
ТАТРА
Тонар
УралАЗ
ЧМЗАП
Модель
Не выбрано
Altay-3310 (2009)
CA 3250 P66K2T1E5 (2017)
CA 3250 серии J6 (2012)
CA 3310 серии J6 (2012)
CA 4250 P66K24T1E (2017)
CA 5250 (GJBP66K2T1E4) (2014)
CA 5250 (JSQP64K1T1E4) (2014)
CA-1083 (2007)
CA-3250-P66K2L0BT1E4Z (2018)
CA-3250-P66K2L1BT1E4Z (2018)
CA-3250-P66K2L2BT1E4Z (2018)
CA-3252 (2005)
CA-3252 (P2K2BT1A) (2008)
CA-3252 (P2K2T1A) (2009)
CA-3312 (P2K2B2T4A2Z) (2011)
CA-3312 (P2K2LT4E) (2008)
CA-4180 (P66K22A) (2008)
CA-4180 (P66K2A) (2008)
CA-4250 (P66K22T1A1EX) (2008)
CA-4250 (P66K24T1E5) (2017)
CA-4250 (P66K2T1A1EX) (2008)
CA3250 (P66K24L1TE5Z) (2022)
CA3250 (P66K24T1E5) (2022)
CA3251 (P66K2L2T1E5Z) (2017)
CA3310 (P66K24T4E5) (2017)
CA3311 (2020)
CA4180 (P77K25E5) (2022)
Схема
>
Не выбрано
Передний бампер (I)
Передний бампер (II)
Передний бампер (III)
Передний бампер (IV)
Сварочная кабина в сборе (плоская крышка)
Сварочная кабина в сборе (высокая крышка)
Устройство передней подвески кабины (I)
Устройство передней подвески кабины (II)
Устройство передней подвески кабины (III)
Устройство передней подвески кабины (I, воздушная рессора)
Устройство передней подвески кабины (II, воздушная рессора)
Устройство передней подвески кабины (III, воздушная рессора)
Устройство передней подвески кабины (IV, воздушная рессора)
Устройство задней подвески кабины (I)
Устройство задней подвески кабины (винтовая пружина)
Устройство задней подвески кабины (I, воздушная пружина)
Устройство задней подвески кабины (II, воздушная пружина)
Устройство воздухопровода передней и задней подвески кабины (воздушная пружина с 4 точками)
Устройство воздухопровода заднней подвестки кабины (воздушная пружина с 2 точками)
Гидравлическое поддерживающее устройство кабины (I)
Гидравлический упорный механизм кабины (II)
Гидравлический упорный механизм кабины (воздушная пружина с 4 точками)
Устройство управления опрокидыванием кабины (I)
Устройство управления опрокидыванием кабины (II)
Стойка огнетушителя
Опора домкрата
Ступенька и передний брызговик (I)
Ступенька и передний брызговик (II)
Ступенька и передний брызговик (III)
Ступенька и передний брызговик (IV)
Задний брызговик
Боковой щиток двигателя
Верхнее крыло, верхний брызговик и трехступенчатая ступенька (I)
Верхнее крыло, верхний брызговик и трехступенчатая ступенька (II)
Верхнее крыло, верхний брызговик и трехступенчатая ступенька (III)
Блок ковра
Теплоизоляционная прокладка пола
Пробка пола
Теплоизоляционная прокладка глушителя
Стеклоочиститель
Стекло переднего ветрового окна
Омыватель
Блок поручня
Пробка передней обшивки и водопроницаемая пленка
Декоративная лента наружной пластины передней обшивки
Замок передней обшивки и ручка открывания
Боковой обтекатель
Наружная пластина передней обшивки
Воздушная пружина и стойка
Поручень двери
Щиток передней колонны
Передний поручень посадки
Блок приборной панели (I)
Блок приборной панели (II)
Блок приборной панели (III)
Блок приборной панели (IV)
Блок приборной панели (V)
Блок приборной панели (VI)
Блок высокого короба (I, оборудован записным аппаратом движения или узловом контроллером)
Блок высокого короба (II, оборудован записным аппаратом движения или узловым контроллером)
Блок высокого короба (III, высокая крышка)
Блок высокого короба (IV, высокая крышка)
Блок высокого короба (V, высокая крышка)
Блок высокого короба (VI, высокая крышка)
Внутренняя облицовка боковой обшивки и блок задней скобы
Внутренняя облицовка левой боковой обшивки и блок задней скобы (высокая крышка)
Внутренняя облицовка правой боковой обшивки и блок задней скобы (высокая крышка, оборудована многофункциональной панелью)
Инструментальный ящик боковой обшивки
Замок инструментального ящика и оттяжка боковой обшивки
Стекло бокового окна открытого типа (плоская крышка)
Стекло бокового окна
Блок щитка задней обшивки
Стекло заднего окна
Вентиляционная решетка
Обтекатель задней обшивки (плоская крышка)
Декоративный кожух задней боковой обшивки
Пробка задней обшивки
Блок облицовки крышки (I, плоская крышка, с окном крышки)
Блок облицовки крышки (I, высокая крышка, без окна крышки)
Блок облицовки крышки (II, плоская крышка)
Блок облицовки крышки (III)
Светозащитная солнечная бленда крышки
Держатель скоростной лампы (плоская крышка)
Держатель скоростной лампы (высокая крышка)
Верхний интерцептор (высокая крышка)
Декоративная лента – крышка (высокая крышка)
Поручень двери
Передняя дверь (с электрическим стеклоподъемником)
Нижняя декоративная пластина двери
Внутренняя декоративная пластина двери
Механизм электрического замка двери
Кольцо замка, гнездо фиксатора и наружный штабик двер
Штапик двери
Ограничитель двери
Сиденье водительское
Переднее сиденье
Среднее сиденье
Блок нижнего спального места (I)
Блок нижнего спального места (II)
Блок нижнего спального места (III)
Блок верхнего спального места (I)
Блок верхнего спального места (II)
Блок верхнего спального места (III)
Блок верхнего спального места (IV)
Кондиционерная установка
Механизм управления
Ветродвигатель, фильтр наружного воздуха
Два прибора
Трубопровод отопления
Компрессор холодного воздуха
Воздуховод
Конденсатор, бак для хранения жидкости
Фтортрубопровод
Лево-наружное зеркало заднего вида
Право-наружное зеркало заднего вида
Блок пепельницы
Блок противосолнечного козырька (I)
Блок противосолнечного козырька (II)
Двигатель
Подвеска двигателя
Блок блока-цилиндра
Блок-цилиндр
Блок крышки цилиндра
Крышка цилиндра
Кожух крышки цилиндра
Поршень, шатун
Коленчатый вал, шкив и маховик
Кулачковый механизм
Передаточная система
Система газораспределения (согласуется с тормозом двигателя)
Система газораспределения (не согласуется с тормозом двигателя)
Выпускной коллектор
Масляный поддон
Маслозаливная горловина и щуп
Маслосборник
Масляный насос
Охладитель моторного масла
Вентиляция картера
Центробежный масляный фильтр
Ременный привод
Топливный бак и топливная магистраль
Управляющий механизм акселератора
Топливный фильтр грубой очистки
Воздушный фильтр
Топливный фильтр тонкой очистки
Система подачи топлива (I)
Система подачи топлива (II)
Система турбонаддува
Промежуточный охладитель, трубопровод
Выпускная система
Система охлаждения
Сливной кран
Терморегулятор, водяной насос
Вентилятор и муфта вентилятора
Выхлопной тормозной клапан
Сцепление
Механизм управления переключением скоростей
Крышка коробки передач
Корпус коробки передач
Коробка переключения скоростей и вал
Трансмиссия заднего моста
Трансмиссия промежуточная
Задний мост
Средний мост
Бортовой редуктор
Рама
Вспомогательное устройство прицепа и рабочая площадка
Щиток двигателя
Заднее крыло
Боковое ограждение
Система передней подвески
Система задней подвески
Передняя ось и поперечный рычаг
Передний рулевой продольный рычаг
Колеса и шины
Ступица переднего колеса и тормозной барабан
Ступица заднего колеса и тормозной барабан
Стойка рулевой колонки
Штурвал и поворотный привод
Силовая рулевая магистраль
Тормозная магистраль
Модуль снабжения энергии пневтормоза и аккумулятора
Электрооборудование в кабине
Электрооборудование шасси
Комбинированная передняя фара
Лампа предупреждения открывания двери
Осветительная лампа в кабине
Читальная лампа спального места
Читальная лампа водителя
Лампа ступеньки
Контроллер для света лампы в сборе
Комбинированная задняя фара
Коробка предохраниетеля в сборе – с реле
Распределительная коробка источника питания и ее электроприборы
Передняя габаритная фара (плоская крышка)
Передняя габаритная фара (высокая крышка)
Задняя габаритная фара (плоская крышка)
Противотуманная фара
Функциональный выключатель
Комбинированный выключатель
Контроллер двери (для выбора)
Лампа предупреждения
Лампа номерного знака
Магнитола
Сопроводительные инструменты
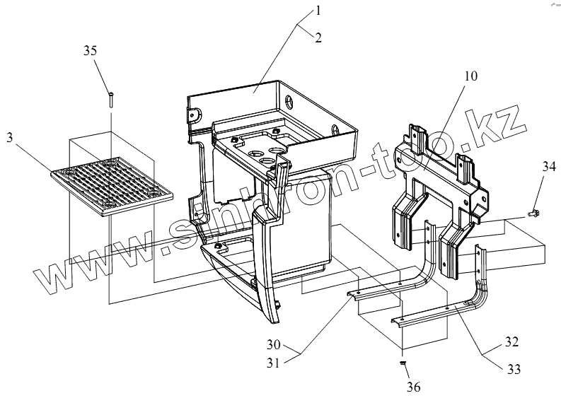
1
2
3
10
30
31
32
33
34
35
36
Позиция на иллюстрации
Заводской номер детали
Название детали
1
5103015-50A
Декоративный кожух левой ступеньки в сборе
2
5103020-50A
Декоративный кожух правой ступеньки в сборе
3
5103031-50A
Первая и вторая ступенька
10
5103035-50A
Стойка ступеньки в сборе
30
5103051-50A
Передний кронштейн левой ступеньки
31
5103052-50A
Передний кронштейн правой ступеньки
32
5103053-50A
Задний кронштейн левой ступеньки
33
5103054-50A
Задний кронштейн правой ступеньки
34
CQ1460820
Установочное место для болта
35
Q2320632
Комбинированный винт с крестообразными шлицами
36
CQ39606
Гайка
Содержащиеся в справочниках-каталогах запасные части и детали не предлагаются к продаже, а носят исключительно информационный характер
Дополнительная информация
×
Название:
Номер:
Примечание: