Вернуться на главную
Поиск
Каталоги запчастей к технике
Грузовые автомобили и прицепы
FAW
CA 3310 серии J6
Комбинированный переключатель
Каталог запасных частей к технике: FAW CA 3310 серии J6. Комбинированный переключатель
zoom-in
zoom-out
enlarge
shrink
circle-right
circle-left
file-text2
info
cart
Тип техники
Не выбрано
Легковые автомобили
Грузовые автомобили и прицепы
Автобусы
Сельхозтехника
Спецтехника
Двигатели
Мототехника
Марка
Не выбрано
BAW
DAF
DongFeng
FAW
Foton
HOWO
Hyundai
IVECO
JAC Motors
LGMG
MAN
Shaanxi
SITRAK
Studebaker
Tata
Volvo
Автокомпонент Плюс
БелАЗ
Брянский Арсенал
ГАЗ
ЗИЛ
КАЗ
Камский автозавод
КрАЗ
Мадара
МАЗ
МЗКТ
МоАЗ
Нефтекамский автозавод
Ставропольский Завод АвтоПрицепов
ТАТРА
Тонар
УралАЗ
ЧМЗАП
Модель
Не выбрано
Altay-3310 (2009)
CA 3250 P66K2T1E5 (2017)
CA 3250 серии J6 (2012)
CA 3310 серии J6 (2012)
CA 4250 P66K24T1E (2017)
CA 5250 (GJBP66K2T1E4) (2014)
CA 5250 (JSQP64K1T1E4) (2014)
CA-1083 (2007)
CA-3250-P66K2L0BT1E4Z (2018)
CA-3250-P66K2L1BT1E4Z (2018)
CA-3250-P66K2L2BT1E4Z (2018)
CA-3252 (2005)
CA-3252 (P2K2BT1A) (2008)
CA-3252 (P2K2T1A) (2009)
CA-3312 (P2K2B2T4A2Z) (2011)
CA-3312 (P2K2LT4E) (2008)
CA-4180 (P66K22A) (2008)
CA-4180 (P66K2A) (2008)
CA-4250 (P66K22T1A1EX) (2008)
CA-4250 (P66K24T1E5) (2017)
CA-4250 (P66K2T1A1EX) (2008)
CA3250 (P66K24L1TE5Z) (2022)
CA3250 (P66K24T1E5) (2022)
CA3251 (P66K2L2T1E5Z) (2017)
CA3310 (P66K24T4E5) (2017)
CA3311 (2020)
CA4180 (P77K25E5) (2022)
Схема
>
Не выбрано
Передний бампер (I)
Передний бампер (II)
Кабина
Передняя подвеска кабины (I)
Передняя подвеска кабины (II)
Передняя подвеска кабины (III)
Задняя подвеска кабины (I)
Задняя подвеска кабины (II)
Задняя подвеска кабины (III)
Гидравлическая опора кабины (I)
Гидравлическая опора кабины (II)
Механизм управления опрокидыванием кабины (I)
Механизм управления опрокидыванием кабины (II)
Кронштейн огнетушителя
Кронштейн домкрата
Подножки и передние брызговики (I)
Подножки и передние брызговики (II)
Задние брызговики
Боковые перегородки двигателя
Верхние крылья, верхние брызговики и подножки третьей ступени (I)
Верхние крылья, верхние брызговики и подножки третьей ступени (II)
Верхние крылья, верхние брызговики и подножки третьей ступени (III)
Задняя звукоизоляционная накладка двигателя
Составляющие элементы ковриков
Теплоизоляционные подкладки пола
Заглушки отверстий пола
Теплоизоляционные подкладки глушителя
Стеклоочиститель
Лобовое стекло
Омыватель
Заглушки отверстий в панели передка и водонепроницаемая пленка
Молдинги наружной панели передка
Замок панели передка и рычаг открывания
Боковые обтекатели
Наружная панель передка
Пневматическая рессора и кронштейны
Комбинированные поручни
Обшивки передних стоек
Передние посадочные поручни
Приборная панель (I)
Приборная панель (II)
Приборная панель (III)
Приборная панель (IV)
Приборная панель (V)
Приборная панель (VI)
Составляющие элементы верхнего отсека (I. с таймерсчетчиком или узловым контроллером)
Составляющие элементы верхнего отсека (II)
Составляющие элементы верхнего отсека (III)
Внутренние обшивки боковых панелей и составляющие элементы посадочных поручней
Боковой инструментальный ящик
Замок бокового инструментального ящика с тросом
Боковые стекла
Составляющие элементы обшивки панели задка
Заднее стекло
Вентиляционная решетка
Декоративная накладка боковой панели задка
Заглушки отверстий в панели задка
Составляющие элементы обшивок крыши (I)
Составляющие элементы обшивок крыши (II)
Составляющие элементы обшивок крыши (III)
Противосолнечный брызговик крыши
Держатель фонаря безопасного обгона
Верхний интерцептор
Молдинги крыши
Поручни дверей
Передние двери
Нижние декоративные панели дверей
Внутренние обшивки дверей
Уплотнители дверей
Ограничители дверей
Стопорные кольца, держатели фиксаторов и наружные уплотнители дверей
Электрические замки дверей
Водительское сиденье
Переднее сиденье
Составляющие элементы нижнего спального места (I)
Составляющие элементы нижнего спального места (II)
Составляющие элементы нижнего спального места (III)
Кондиционер
Фильтр очистки наружного воздуха
Трубопроводы отопителя
Воздуховод
Конденсатор и резервуар рабочей жидкости
Трубопроводы подачи жидкого фреона
Независимый топливный обогреватель
Левое наружное зеркало заднего вида
Правое зеркало заднего вида
Составляющие элементы пепельницы
Боковые противосолнечные козырьки
Противосолнечные козырьки на лобовое стекло
Двигатель
Подвеска двигателя
Составляющие элементы блока цилиндров
Блок цилиндров
Составляющие элементы головки блока цилиндров
Головка блока цилиндров
Крышка головки блока цилиндров
Поршни и шатуны
Коленчатый вал и маховик
Распределительный вал
Трансмиссионная система
Система газораспределения
Выхлопные коллекторы
Масляный картер
Маслоприемник
Масляный насос
Клапан регулировки давления
Масляный фильтр
Вентиляция картера
Центробежный масляный фильтр
Натяжной шкив
Масляный радиатор
Система топливоподачи
Штуцеры заборного и циркуляционных водопроводов
Фильтр тонкой очистки топлива
Система турбонаддува
Топливный бак и топливопроводы
Трубопроводы
Воздушный фильтр
Фильтр грубой очистки топлива
Радиатор, трубопроводы, воздухоотражатель вентилятора
Расширительный бак, пробка водоналивной горловины, кронштейн расширительного бака, трубопроводы
Промежуточный охладитель, трубопроводы, подвеска, защитная сетка
Водосливной кран
Термостат, крышка термостата, штуцера циркуляции по малому кругу
Водяной насос
Масляный насос гидроусилителя рулевого управления
Воздушный компрессор (I)
Воздушный компрессор (II)
Электронная система управления двигателем (I)
Электронная система управления двигателем (II)
Генератор
Стартер
Пучок проводов двигателя
Воздухоподогреватель
Холодильный компрессор
Выхлопная система
Клапан выхлопного тормоза
Сцепление
Механизм управления сцеплением
Корпусы сцепления и КПП
Первичный вал
Вторичный вал
Левый и правый промежуточные валы
Передача заднего хода
Шестерня привода вспомогательной КПП
Левый верхний промежуточный вал вспомогательной КПП
Правый нижний промежуточный вал вспомогательной КПП (с устройством отбора мощности)
Шпиндель вспомогательной КПП
Корпус вспомогательной КПП
Цилиндр переключения вспомогательных передач
Клапан, шланги и фитинги
Верхняя крышка
Верхняя торцевая крышка
Механизм управления переключением передач
Задняя подвеска энергоагрегата
Приводной вал заднего моста
Промежуточный приводной вал
Задний мост
Промежуточный мост
Приводной вал промежуточного моста
Колесный редуктор
Рама
Переднее крыло
Устройство боковой защиты
Передняя подвеска
Вторая передняя подвеска
Задняя подвеска
Первая передняя ось и поперечная рулевая тяга
Вторая передняя ось и поперечная рулевая тяга
Рулевые тяги
Передняя продольная рулевая тяга
Переходная тяга
Промежуточная рулевая сошка и кронштейн
Задняя продольная рулевая тяга
Ступица переднего колеса с тормозным барабаном (первой передней оси)
Ступица переднего колеса с тормозным барабаном (второй передней оси)
Ступица заднего колеса с тормозным барабаном
Колеса с шинами (12.00R20)
Колеса с шинами (315/80R22.5)
Механизм рулевого управления и привод
Трубопроводы рулевого механизма с гидроусилителем
Тормозные механизмы передних колес
Тормозные механизмы колес промежуточного моста
Тормозные механизмы задних колес
Тормозные трубопроводы
Педаль тормоза с тормозным краном и педаль сцепления с главным цилиндром сцепления
Пневматический тормозной модуль
Внешний ресивер
Блок управления АБС
Датчики частоты вращения колес передней оси
Датчики частоты вращения колес заднего моста
Электрооборудование кабины
Электрооборудование шасси
Передние комбинированные фары
Сигнальный индикатор незакрытых дверей
Лампа чтения для водителя
Задние комбинированные фонари
Блок предохранителей с реле
Блок предохранителей с реле 1
Распределительная коробка с комплектующими
Передние габаритные фонари
Задние контурные фонари
Противотуманные фары
Комбинированный переключатель
Контроллер дверей
Функциональные переключатели
Магнитола
Аккумулятор
Возимый комплект инструментов
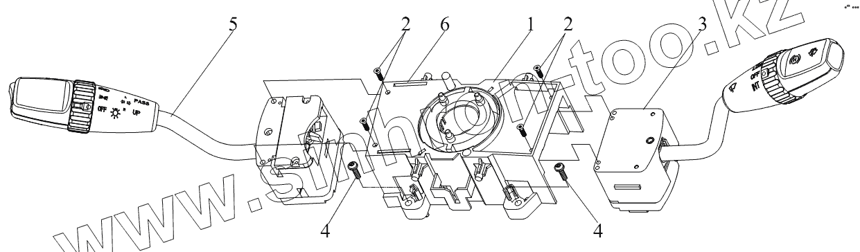
1
2
2
3
4
4
5
6
Позиция на иллюстрации
Заводской номер детали
Название детали
1
3735010GA01
Комбинированный выключатель
2
CQ2782913
Винт
3
3735040AA01
Переключатель стеклоочистителей и тормоза-замедлителя
4
Q2360520
Винт
5
3735035EA01
Передняя фара и выключатель перемены света в сборе
6
3735045-A01
Стойка комбинированного выключателя с электрощеткой мегафона в сборе
Содержащиеся в справочниках-каталогах запасные части и детали не предлагаются к продаже, а носят исключительно информационный характер
Дополнительная информация
×
Название:
Номер:
Примечание: