Каталог запасных частей к технике: FAW CA 3310 серии J6. Электрооборудование шасси
1
2
3
4
5
6
7
8
9
10
11
12
13
14
15
16
17
17
18
19
20
21
22
23
24
25
26
27
28
29
30
31
32
33
34
35
36
37
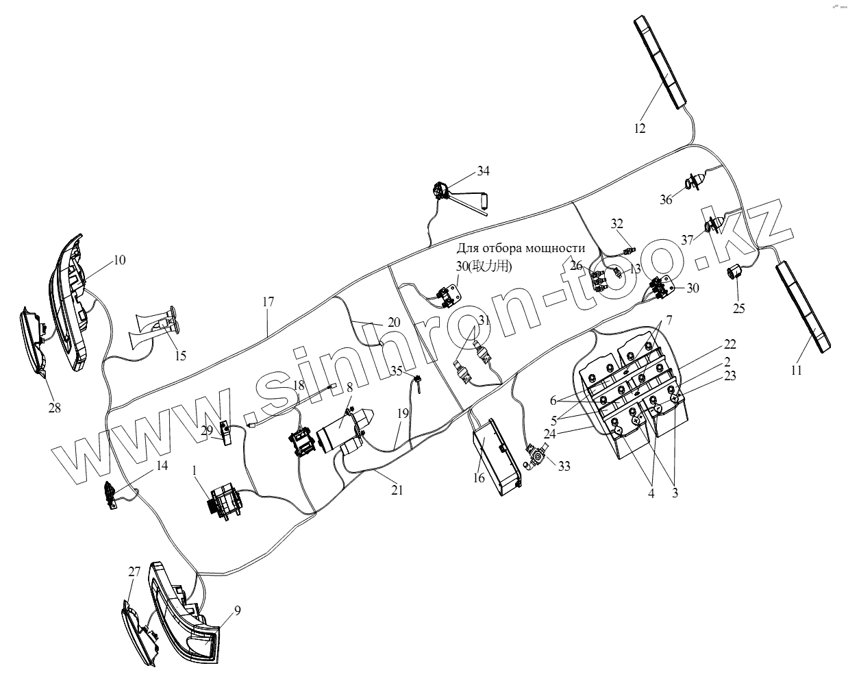
| Позиция на иллюстрации | Заводской номер детали | Название детали | |
|---|---|---|---|
| 3729100-71A | 3729100-71A | Переключатель фонарей заднего хода | |
| 3754010-80a | 3754010-80a | Электромагнитный клапан в сборе | |
| 1 | 3701010-36D | Генератор переменного тока | |
| 2 | 3703010B242 | Аккумулятор (180 Ач) | |
| 3 | 3703021-242 | Защитный кожух-аккумулятор (+) | |
| 4 | 3703022-242 | Защитный кожух-аккумулятор (-) | |
| 5 | 3703161-242 | Нижняя скоба аккумулятора | |
| 6 | 3703162-240 | Верхняя скоба аккумулятора | |
| 7 | 3703163-242 | Крепежный болт аккумулятора | |
| 8 | 3708010-53D | Стартер в сборе | |
| 9 | 3711015-59A | Левая передняя комбинированная фара в сборе | |
| 10 | 3711020-59A | Комбинированная передняя фара в сборе | |
| 11 | 3716015-362 | Левый задний комбинированный фонарь | |
| 12 | 3716020-362 | Правый задний комбинированный фонарь | |
| 13 | 3720010-55A | Выключатель тормозной лампы в сборе | |
| 14 | 3721010-116 | Электрический звуковой сигнал | |
| 15 | 3721115-116 | Пневматический звуковой сигнал | |
| 16 | 3722080-437 | Распределительная коробка с комплектующими в сборе | |
| 17 | 3724045-87V | Пучок проводов шасси в сборе | |
| 17 | 3724045-88V | Пучок проводов шасси в сборе | |
| 18 | 3724020-51B | Пучок проводов двигателя в сборе | |
| 19 | 3724070-80A | Заземляющий провод в сборе между двигателем и рамой | |
| 20 | 3724150-90C | Пучок проводов КПП в сборе | |
| 21 | 3724160-62A | Провод в сборе между стартером и главным выключателем источника питания | |
| 22 | 3724165-55A | Провод в сборе между главным выключателем источника питания и аккумулятором | |
| 23 | 3724180-50A | Провод в сборе | |
| 24 | 3724200-55A | Замля-масса в сборе | |
| 25 | 3729050-50A | Зуммер заднего хода в сборе | |
| 26 | 3729100-240 | Выключатель лампы заднего хода | |
| 27 | 3732015-53A | Левая противотуманная фара в сборе | |
| 28 | 3732020-53a | Правя передняя противотуманная фара в сборе | |
| 29 | 3750010-81d | Воздухоподогреватель в сборе | |
| 30 | 3754010-73a | Электромагнитный клапан | |
| 31 | 3757010-50a | Переключатель сигнализатора давления воздуха в сборе | |
| 32 | 3757050-50a | Переключатель сигнализатора стояночного тормоза с пневматическим приводом в сборе | |
| 33 | 3754010-57a | Электромагнитный клапан подогревателя насоса для мочевины в сборе | |
| 34 | 3806040c56a | Топливный датчик в сборе | |
| 35 | 3818080-50a | Переключатель сигнализатора низкого уровня воды в сборе | |
| 36 | 3724115-55a | Пучок проводов гнезда для подключения питания прицепа с АБС в сборе | |
| 37 | 3730010-363 | Розетка для прицепа |
Содержащиеся в справочниках-каталогах запасные части и детали не предлагаются к продаже, а носят исключительно информационный характер