Каталог запасных частей к технике: FAW CA-3252 (P2K2BT1A). Задняя подвеска кабины
1
2
3
3
4
4
5
5
6
7
7
8
8
9
9
10
10
11
11
12
12
13
13
14
14
15
15
16
16
17
17
18
18
19
19
20
20
21
21
22
22
22
22
23
23
23
23
24
24
24
24
25
25
26
26
27
27
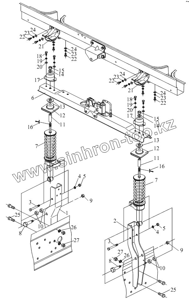
| Позиция на иллюстрации | Заводской номер детали | Название детали | |
|---|---|---|---|
| 1 | 5001225B242 | Левая опора задней подвески в сборе | |
| 2 | 5001230B242 | Правая опора задней подвески в сборе | |
| 3 | CQ15112105 | Болт | |
| 4 | Q40312 | Пружинная шайба | |
| 5 | CQ34112 | Гайка | |
| 6 | 5001270B242 | Задняя подвесная балка | |
| 7 | 5001290B242 | Амортизатор задней подвески | |
| 8 | 5001291B242 | Палец амортизатора задней подвески | |
| 9 | CQ39614 | Гайка | |
| 10 | 5001292B242 | Втулка | |
| 11 | 5001293B242 | Втулка | |
| 12 | 5001295B242 | Резиновый упор в сборе | |
| 13 | 5001296B242 | Ограничительная пластина амортизатора | |
| 14 | 5001297B242 | Прокладка амортизатора | |
| 15 | CQ33316 | Гайка | |
| 16 | Q5003020 | Шплинт | |
| 17 | 5001315B242 | Резиновая подушка | |
| 18 | CQ1501025 | Болт | |
| 19 | Q40310 | Пружинная шайба | |
| 20 | Q40110 | Шайба | |
| 21 | 5001320B242 | Задний держатель | |
| 22 | CQ1511020 | Болт | |
| 23 | Q40310 | Пружинная шайба | |
| 24 | Q40110 | Шайба | |
| 25 | CQ1511650 | Болт | |
| 26 | Q40316 | Пружинная шайба | |
| 27 | CQ34116 | Гайка |
Содержащиеся в справочниках-каталогах запасные части и детали не предлагаются к продаже, а носят исключительно информационный характер