Вернуться на главную
Поиск
Каталоги запчастей к технике
Грузовые автомобили и прицепы
FAW
CA-3252 (P2K2BT1A)
Выключатели функционирования
Каталог запасных частей к технике: FAW CA-3252 (P2K2BT1A). Выключатели функционирования
zoom-in
zoom-out
enlarge
shrink
circle-right
circle-left
file-text2
info
cart
Тип техники
Не выбрано
Легковые автомобили
Грузовые автомобили и прицепы
Автобусы
Сельхозтехника
Спецтехника
Двигатели
Мототехника
Марка
Не выбрано
BAW
DAF
DongFeng
FAW
Foton
HOWO
Hyundai
IVECO
JAC Motors
LGMG
MAN
Shaanxi
SITRAK
Studebaker
Tata
Volvo
Автокомпонент Плюс
БелАЗ
Брянский Арсенал
ГАЗ
ЗИЛ
КАЗ
Камский автозавод
КрАЗ
Мадара
МАЗ
МЗКТ
МоАЗ
Нефтекамский автозавод
Ставропольский Завод АвтоПрицепов
ТАТРА
Тонар
УралАЗ
ЧМЗАП
Модель
Не выбрано
Altay-3310 (2009)
CA 3250 P66K2T1E5 (2017)
CA 3250 серии J6 (2012)
CA 3310 серии J6 (2012)
CA 4250 P66K24T1E (2017)
CA 5250 (GJBP66K2T1E4) (2014)
CA 5250 (JSQP64K1T1E4) (2014)
CA-1083 (2007)
CA-3250-P66K2L0BT1E4Z (2018)
CA-3250-P66K2L1BT1E4Z (2018)
CA-3250-P66K2L2BT1E4Z (2018)
CA-3252 (2005)
CA-3252 (P2K2BT1A) (2008)
CA-3252 (P2K2T1A) (2009)
CA-3312 (P2K2B2T4A2Z) (2011)
CA-3312 (P2K2LT4E) (2008)
CA-4180 (P66K22A) (2008)
CA-4180 (P66K2A) (2008)
CA-4250 (P66K22T1A1EX) (2008)
CA-4250 (P66K24T1E5) (2017)
CA-4250 (P66K2T1A1EX) (2008)
CA3250 (P66K24L1TE5Z) (2022)
CA3250 (P66K24T1E5) (2022)
CA3251 (P66K2L2T1E5Z) (2017)
CA3310 (P66K24T4E5) (2017)
CA3311 (2020)
CA4180 (P77K25E5) (2022)
Схема
>
Не выбрано
Передний бампер
Передняя подвеска кабины
Задняя подвеска кабины
Гидравлическая опора и управляющий механизм опрокидывания кабины
Крылья
Ножная педаль
Задний грязезащитный козырек
Коврик
Верхняя отделочная плита переднего ветрового стекла
Низкая отделочная плита переднего ветрового стекла
Уплотнительная пленка внешней панели ветрового стекла
Дворник
Ветровое стекло и уплотнитель
Омыватель ветрового стекла
Передняя боковая внешняя панель
Переднии оперение
Рычаг включения внешней панели
Замок чеки
Компоненты вспомогательных приборов
Компоненты щитка приборов (I)
Компоненты щитка приборов (II)
Компоненты щитка приборов (III)
Щиток бокового оперения
Боковое окошко
Интерьер заднего оперения
Окна заднего оперения
Внутрений щиток покрышки
Противосолнечный козырек покрышки
Боковой отделочный колпак покрышки
Дверь в сборе
Стекло и уплотнитель двери
Интерьер двери
Замковый механизм двери
Водительское сиденье
Переднее сиденье
Спальное место
Отопитель
Водопровод отопителя
Охладительный компрессор
Охлаждающее устройство
Перевозочный трубопровод фреона, контенсатор, резервуар
Внутреннее зеркало заднего вида
Левое внешнее зеркало заднего вида
Правое внешнее зеркало заднего вида
Левый противосолнечный козырек
Правый противосолнечный козырек
Зеркало верхнего вида
Ремень безопасности
Вспомогательная рама в сборе
Фургон в сборе
Вводный механизм подогревателя отработанных газов в сборе
Боковое ограждение в сборе
Заднее ограждение в сборе
Стойка топливного бака в сборе
Крепежный механизм в сборе
Топливный цилиндр «Хайао» и схема установки системы
Двигатель - правая сторона
Двигатель - левая сторона
Передняя подвеска двигателя
Задняя подвеска двигателя
Компонент блока головки цилиндров
Головка цилиндров в сборе
Покрышка головки цилиндров
Поршень, шатун
Коленчатый вал, шкив и маховик
Кулачковый механизм
Трансмиссионная система
Газораспределительная система
Выпускной трубопровод
Масляный диск
Заправочное масляное отверстие и масляная рейка
Масляный сборник
Масляный насос
Масляный охладитель
Вентиляция коробки коленчатого вала
Центробежный масляный фильтр
Передний набор
Топливный бак и топливная магистраль
Управляющий механизм акселератора
Топливный фильтр грубой очистки
Воздушный фильтр
Топливный фильтр тонкой очистки
Система подачи топлива
Система турбонаддува
Центральное охлаждение, магистраль
Выпускная система
Радиатор, подвеска, магистраль, чехол вентилятора
Шлюз
Термостат, водяной насос, стойка вентилятора
Расширительный бак, крышка заливного отверстия, магистраль
Вентилятор и муфта вентилятора
Выпускной тормозной клапан
Сцепление
Регулирующий механизм сцепления
Сцепление и блок сцепления
2-Ая Ось
Левая и правая средние оси
1-Ая Ось
Средний вал ступени заднего хода
Верхняя крышка
Регулирующий механизм
Регулятор воздушного фильтра
Приводная шестерня вспомогательной коробки
Ведущий вал вспомогательной коробки
Левая, правая средние оси вспомогательной коробки
Задняя крышка
Цилиндр вспомогательной коробки
Регулирующая магистраль коробки передач
Управляющий механизм рычага передач
Сброс мощности QH50 (шлицевой заставленный тип)
Карданный вал заднего хода
Карданный вал среднего моста
Средний карданный вал среднего моста [595]
Задний мост
Задний мост (колесная часть)
Средний мост
Средний мост (колесная часть)
Рама
Система передней подвески
Задняя подвеска
Передний вал и рулевая поперечная штанга
Рулевая вертикальная штанга
Колеса и шины
Ступицы и тормозные барабаны передних колес
Подъемник запасного колеса
Стойка рулевой колонки
Рулевое колесо и привод рулевого управления
Силовая рулевая магистраль
Тормозные механизмы передних колес
Средний мост (тормозная система)
Задний мост (тормозная часть)
Тормозная магистраль
Воздушный резервуар
Секция управления двигателем
Провода распылителя
Секция управления антиблокировкой
Электрооборудование
Лампа чтенья для водителя
Передние фары
Комбинированные задние лампы
Блок предохранителей
Прикуритель
Комбинированные выключатели
Выключатели функционирования
Блок регулятора
Аккумулятор в сборе
Распределительный блок источника питания и принадлежающие оборудования
Распределительный блок источника питания и принадлежающая стойка
Приборы
Приемник-магнитола
Сопроводительные инструменты
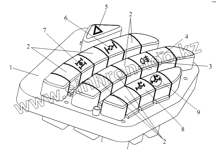
3735020-541
1
2
2
2
3
4
5
6
7
8
9
Позиция на иллюстрации
Заводской номер детали
Название детали
3735020-541
3735020-541
Выключатель функционирования в сборе
1
3735070-362
Основание панели переключателей
2
3735021-362
Переключатели
3
3732070-369
Включатель противотуманных фар
4
3721120-362
Переключатель звукового сигнала
5
3726050-362
Включатель сигнализации
6
3834050-369
Включатель межколесного дифференциала
7
3834010-362
Включатель межосевого дифференциала
8
3772030A369
Включатель отбора мощности
9
3772030-369
Включатель отбора мощности на остановке
Содержащиеся в справочниках-каталогах запасные части и детали не предлагаются к продаже, а носят исключительно информационный характер
Дополнительная информация
×
Название:
Номер:
Примечание: