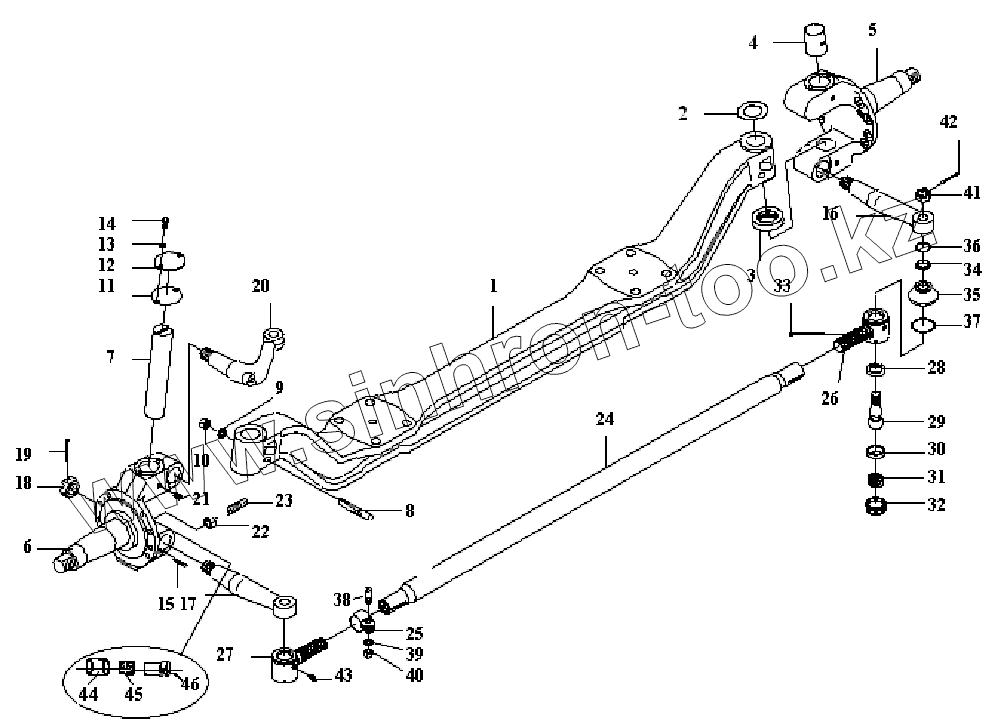
Каталог запасных частей к технике: FAW CA-3252 (P2K2BT1A). Передний вал и рулевая поперечная штанга
1
2
3
4
5
6
7
8
9
10
11
12
13
14
15
16
17
18
19
20
21
22
23
24
25
26
27
28
29
30
31
32
33
34
35
36
37
38
39
40
41
42
43
44
45
46
| Позиция на иллюстрации | Заводской номер детали | Название детали | |
|---|---|---|---|
| 3003062-1H | 3003062-1H | Правый наконечник поперечной рулевой тяги | |
| 3003050-174 | 3003050-174 | Поперечная рулевая тяга в сборе | |
| 3001042-4E | 3001042-4E | Шайба поворотного кулака передней оси | |
| 3001043-4E | 3001043-4E | Шайба поворотного кулака передней оси | |
| 3001049-4E | 3001049-4E | Шайба поворотного кулака передней оси | |
| 3003061-1H | 3003061-1H | Левый наконечник поперечной рулевой тяги | |
| 3000010-448/523 | 3000010-448/523 | Передняя ось в сборе | |
| 3001021B1H | 3001021B1H | Левый поворотный кулак | |
| 3001022B1H | 3001022B1H | Правый поворотный кулак | |
| 1 | 3001011-242 | Передняя ось | |
| 2 | 3001041-4e | Шайба - рулевой шарнир передней оси | |
| 3 | 329910A-1 | Упорный подшипник поворотного кулака | |
| 4 | 3001026-4E | Втулка поворотного кулака | |
| 5 | 3001020B1H | Правый поворотный кулак и втулка | |
| 6 | 3001015B1H | Левый поворотный кулак и втулка | |
| 7 | 3001044-4E | Шкворень поворотного кулака | |
| 8 | 3001046-4E | Штифт | |
| 9 | Q40314 | Пружинная шайба | |
| 10 | CQ34014 | Гайка | |
| 11 | 3001048-4E | Прокладка | |
| 12 | 3001047-4E | Накладка | |
| 13 | Q40308 | Пружинная шайба | |
| 14 | CQ1500814 | Болт | |
| 15 | Q5510832 | Шпонка | |
| 16 | 3001032-174 | Правый рычаг поворотного кулака | |
| 17 | 3001031-174 | Левый рычаг поворотного кулака | |
| 18 | CQ38736 | Гайка | |
| 19 | Q5006070 | Штифт | |
| 20 | 3001034A1H | Верхний рычаг поворотного кулака | |
| 21 | CQ70001 | Масленка | |
| 22 | CQ34116 | Гайка | |
| 23 | 3001036-4E | Стопор | |
| 24 | 3003054-174 | Поперечная рулевая тяга | |
| 25 | 3003056-1H | Хомут рулевой тяги | |
| 26 | 3003060-1H | Правый наконечник поперечной рулевой тяги в сборе | |
| 27 | 3003055-1H | Левый наконечник поперечной рулевой тяги в сборе | |
| 28 | 3003067-1H | Верхняя шаровая чашка рулевой тяги | |
| 29 | 3003032-1H | Шаровой палец | |
| 30 | 3003066-1H | Нижняя шаровая чашка рулевой тяги | |
| 31 | 3003068-01 | Пружина | |
| 32 | 3003069-1H | Пробка | |
| 33 | Q5005080 | Шплинт | |
| 34 | 3003074-4E | Стопорная втулка | |
| 35 | 3003071-1H | Уплотнительный чехол | |
| 36 | 3003077-4E | Верхняя пружина | |
| 37 | 3003076-4E | Нижняя пружина | |
| 38 | CQ1501460 | Болт | |
| 39 | Q40314 | Пружинная шайба | |
| 40 | CQ34014 | Гайка | |
| 41 | CQ38722 | Гайка | |
| 42 | Q5005045 | Шплинт | |
| 43 | CQ70001 | Масленка | |
| 44 | 3550111B1H | Тормозные механизмы передних колес цоколя датчика | |
| 45 | 3550360-6S | Датчик оборотов в сборе | |
| 46 | 3550361-6S | Втулка датчика |
Содержащиеся в справочниках-каталогах запасные части и детали не предлагаются к продаже, а носят исключительно информационный характер