Вернуться на главную
Поиск
Каталоги запчастей к технике
Грузовые автомобили и прицепы
FAW
CA-3252
Панель переключателей
Каталог запасных частей к технике: FAW CA-3252. Панель переключателей
zoom-in
zoom-out
enlarge
shrink
circle-right
circle-left
file-text2
info
cart
Тип техники
Не выбрано
Легковые автомобили
Грузовые автомобили и прицепы
Автобусы
Сельхозтехника
Спецтехника
Двигатели
Мототехника
Марка
Не выбрано
BAW
DAF
DongFeng
FAW
Foton
HOWO
Hyundai
IVECO
JAC Motors
LGMG
MAN
Shaanxi
SITRAK
Studebaker
Tata
Volvo
Автокомпонент Плюс
БелАЗ
Брянский Арсенал
ГАЗ
ЗИЛ
КАЗ
Камский автозавод
КрАЗ
Мадара
МАЗ
МЗКТ
МоАЗ
Нефтекамский автозавод
Ставропольский Завод АвтоПрицепов
ТАТРА
Тонар
УралАЗ
ЧМЗАП
Модель
Не выбрано
Altay-3310 (2009)
CA 3250 P66K2T1E5 (2017)
CA 3250 серии J6 (2012)
CA 3310 серии J6 (2012)
CA 4250 P66K24T1E (2017)
CA 5250 (GJBP66K2T1E4) (2014)
CA 5250 (JSQP64K1T1E4) (2014)
CA-1083 (2007)
CA-3250-P66K2L0BT1E4Z (2018)
CA-3250-P66K2L1BT1E4Z (2018)
CA-3250-P66K2L2BT1E4Z (2018)
CA-3252 (2005)
CA-3252 (P2K2BT1A) (2008)
CA-3252 (P2K2T1A) (2009)
CA-3312 (P2K2B2T4A2Z) (2011)
CA-3312 (P2K2LT4E) (2008)
CA-4180 (P66K22A) (2008)
CA-4180 (P66K2A) (2008)
CA-4250 (P66K22T1A1EX) (2008)
CA-4250 (P66K24T1E5) (2017)
CA-4250 (P66K2T1A1EX) (2008)
CA3250 (P66K24L1TE5Z) (2022)
CA3250 (P66K24T1E5) (2022)
CA3251 (P66K2L2T1E5Z) (2017)
CA3310 (P66K24T4E5) (2017)
CA3311 (2020)
CA4180 (P77K25E5) (2022)
Схема
>
Не выбрано
Передняя подвеска кабины
Задняя подвеска кабины
Гидравлическое устройство опрокидывания кабины (электрический насос)
Гидравлическое устройство опрокидывания кабины (интегральный электрический насос)
Гидравлическое устройство опрокидывания кабины (ручной насос)
Стеклоочиститель
Омыватель ветрового стекла
Левое наружное зеркало заднего вида
Правое наружное зеркало заднего вида
Бордюрное зеркало
Коврик
Панель приборов
Сиденье водителя
Переднее сиденье
Полка
Левый противосолнечный козырек
Правый противосолнечный козырек
Внутреннее зеркало заднего вида
Ветровое стекло
Боковое окно
Заднее окно
Механический стеклоподъемник
Стекло двери
Внутренняя облицовка двери
Замок двери
Ремень безопасности
Передний бампер
Крыло
Ступенька
Левый задний брызговик
Правый задний брызговик
Отделочная панель над ветровым стеклом
Отделочная панель под ветровым стеклом
Герметическая пленка над ветровым стеклом
Передняя наружная панель
Передняя наружная панель
Защелка
Замок
Нижняя панель
Внутренняя облицовка панели приборов
Наружная облицовка панели приборов
Внутренняя облицовка бокового окна
Внутренняя облицовка заднего окна
Внутренняя облицовка крыши
Козырек на крыше
Боковой отделочный кожух на крыше
Трубопроводы системы отопления
Система вентиляции и отопления
Компрессор кондиционера
Трубопровод хладагента, конденсор, резервуар
Автономный обогреватель
Кондиционер
Двигатель (вид справа)
Двигатель (вид слева)
Двигатель без подогрева топлива (вид справа)
Двигатель без подогрева топлива (вид слева)
Подвеска двигателя
Элементы блока цилиндров
Блок цилиндров в сборе
Головка блока цилиндров в сборе
Элементы головки блока цилиндров
Поршень и шатун
Крышка головки блока цилиндров в сборе
Коленвал, шкив, маховик
Распределительный вал
Система привода
Механизм газораспределения
Привод навесных агрегатов (с кондиционером)
Привод навесных агрегатов (без кондиционера)
Топливный бак и топливопровод
Топливный бак и топливопровод (без подогрева топлива)
Управление акселератором
Воздушный фильтр
Система подачи топлива высокого давления
Система подачи топлива высокого давления (без подогрева топлива)
Фильтр предварительной очистки топлива
Фильтр тонкой очистки топлива
Турбонагнетатель
Промежуточный охладитель воздуха и трубопроводы
Выпускной коллектор
Выхлопная система
Масляный картер
Маслоналивная горловина и масляный щуп
Масляный насос
Вентиляция картера
Маслозаборник
Центробежный масляный фильтр
Маслоохладитель
Радиатор
Термостат, водяной насос и опора вентилятора
Сливной кран
Вентилятор, муфта вентилятора
Расширительный бачок и трубопроводы
Сцепление
Привод сцепления
Картер сцепления, картер коробки передач
Вторичный вал
Левый и правый промежуточные валы
Первичный вал
Промежуточный вал передачи заднего хода
Верхняя крышка коробки переключения передач
Механизм переключения передач
Регулятор давления
Приводная шестерня делителя
Главный вал делителя
Левый и правый промежуточные валы делителя
Задняя крышка
Цилиндр механизма переключения передач
Пневмосистема коробки передач
Элементы пневмосистемы коробки передач
Управление переключением передач
Карданный вал среднего моста
Промежуточный карданный вал среднего моста
Карданный вал заднего моста
Средний мост в сборе
Средний мост: корпус
Средний мост: дифференциал
Средний мост: ступица
Задний мост в сборе
Задний мост: дифференциал
Задний мост: полуоси и блокировка дифференциала
Рама
Передняя подвеска
Задняя подвеска
Передняя ось
Колесо
Ступица переднего колеса и тормозной барабан
Подъемник запасного колеса
Продольная рулевая тяга
Опора рулевой колонки
Рулевой механизм
Усилитель рулевого управления
Тормоз переднего колеса
Тормоз среднего моста
Тормоз заднего моста
Схема тормозной системы
Схема тормозной системы тягача
Ресивер
Ресивер тягача
Лампа для чтения в кабине
Фары передние
Указатели поворота
Задний комбинированный фонарь
Электрооборудование
Коробка предохранителей
Прикуриватель
Комбинированный переключатель
Панель переключателей
Блок контроллеров
Аккумулятор
Распределительная коробка электрического питания
Кронштейн распределительной коробки
Комбинация приборов
Магнитола
Механизм отбора мощности
Комплект инструментов
1
1
2
3
4
5
6
7
9
10
11
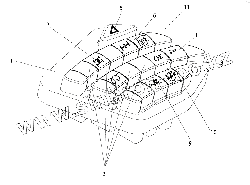
Позиция на иллюстрации
Заводской номер детали
Название детали
1
3735070-362
Основание панели переключателей
1
3735020-523
Панель переключателей
2
3735021-362
Переключатели
3
3732070-369
Включатель противотуманных фар
4
3721120-362
Переключатель звукового сигнала
5
3726050-362
Включатель сигнализации
6
3834050-369
Включатель межколесного дифференциала
7
3834010-362
Включатель межосевого дифференциала
8
3750050-362
Включатель отопителя
9
3772030A369
Включатель отбора мощности
10
3772030-369
Включатель отбора мощности на остановке
11
3750055-447
Включатель подогрева топлива
Содержащиеся в справочниках-каталогах запасные части и детали не предлагаются к продаже, а носят исключительно информационный характер
Дополнительная информация
×
Название:
Номер:
Примечание: