Каталог запасных частей к технике: FAW CA-3250-P66K2L2BT1E4Z. Электрооборудование шасси
3754010-80A/D
3754010-80A/D
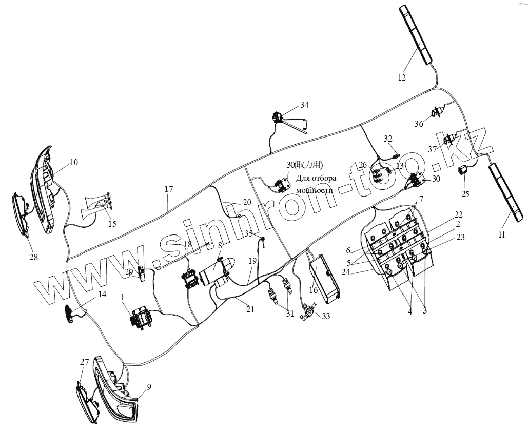
1
2
3
4
5
6
7
8
9
10
11
12
13
14
15
16
17
17
17
17
17
17
18
19
20
21
22
23
24
25
26
26
26
26
27
28
29
30
30
31
32
33
34
35
36
37
| Позиция на иллюстрации | Заводской номер детали | Название детали | |
|---|---|---|---|
| 3754010-80A/D | 3754010-80A/D | Электромагнитный клапана в сборе | |
| 1 | 3701010-36D | Генератор переменного тока | |
| 2 | 3703010А1086-C00/A | Аккумуляторный электролит | |
| 3 | 3703021-242 | Защитный кожух-аккумулятор (+) | |
| 4 | 3703022-242 | Защитный кожух-аккумулятор (-) | |
| 5 | 3703161-242 | Нижняя скоба аккумулятора | |
| 6 | 3703162-240/А | Верхняя прижимная пластина АКБ | |
| 7 | 3703163-242 | Крепежный болт аккумулятора | |
| 8 | 3708010-29D | Стартер | |
| 9 | 3711015-59А/С | Комбинация левого переднего освещения в сборе | |
| 10 | 3711020-59А/С | Комбинация правого переднего освещения в сборе | |
| 11 | 3716015-362/D | Левый комбинированный задний фонарь в сборе | |
| 12 | 3716020-362/В | Правый комбинированный задний фонарь в сборе | |
| 13 | 3720010-55 А/А | Переключатель стоп-сигналов в сборе | |
| 14 | 3721010-116/С | Распределительная коробка с вспомогательными устройствами в сборе | |
| 15 | 3721115-50А/А | Пневматический звуковой сигнал | |
| 16 | 3722080-382/В | Распределительная коробка с комплектующими в сборе | |
| 17 | 3724045-73W | Пучок проводов шасси | |
| 17 | 3724045-74W | Пучок проводов шасси | |
| 17 | 3724045X75 WJ/C | Пучок проводов шасси в сборе | |
| 18 | 3724020-22Е | Жгут проводов двигателя в сборе | |
| 19 | 3724070-55А/С | Заземляющий провод в сборе между двигателем и рамой | |
| 20 | 3724150А73С | Жгут проводов КПП в сборе | |
| 21 | 3724160-43 А/А | Провод в сборе между стартером и главным выключателем источника питания | |
| 22 | 3724165A61B/AL 02 | Провод в сборе между главным выключателем источника питания и аккумулятором | |
| 23 | 3724180-50А/С | Электропровод в сборе - для присоединения с аккумулятором | |
| 24 | 3724200-55А/С | Заземляющий провод в сборе между отрицательной клеммой аккумулятора и рамой | |
| 25 | 3729050-91W/B | Зуммер заднего хода в сборе | |
| 26 | 3729100-240 | Выключатель лампы заднего хода | |
| 26 | 3729100-71А | Переключатель фонарей заднего хода в сборе | |
| 27 | 3732015-53А/В | Левая передняя ПТФ в сборе | |
| 28 | 3732020-53А/В | Кронштейн комбинации правого заднего освещения в сборе | |
| 29 | 3750010-29D | Отопитель | |
| 30 | 3754010-73 А/Е | Электромагнитный клапан в сборе | |
| 31 | 3757010-50А/С | Переключатель сигнализатора давления воздуха в сборе | |
| 32 | 3757050-50A/D | Выключатель тревоги пневматического стояночного тормоза в сборе | |
| 33 | 3754010-57А/В | Электромагнитный клапан подогревателя насоса для мочевины в сборе | |
| 34 | 3806040С56А | Датчик уровня топлива в сборе | |
| 35 | 3818080-50А | Выключатель предупреждения уровня воды в сборе | |
| 36 | 3724115-55А | Жгут проводов буксы прицепа для АБС | |
| 37 | 3730010-363 | Розетка для прицепа |
Содержащиеся в справочниках-каталогах запасные части и детали не предлагаются к продаже, а носят исключительно информационный характер