Каталог запасных частей к технике: FAW CA-3250-P66K2L1BT1E4Z. Пневматический тормозной модуль
Q151C1230
Q40312
CQ34012
CQ1501225
Q40312
Q1841480
CQ32614
CQ32608
CQ32608
Q1841465
Q1841495
CQ32614
CQ1500885
CQ1500885
1
1
2
2
2
3
3
4
4
5
6
7
8
9
10
10
11
11
12
13
13
13
14
14
14
14
14
14
16
17
17
18
18
19
20
21
22
23
24
25
26
27
28
29
30
31
32
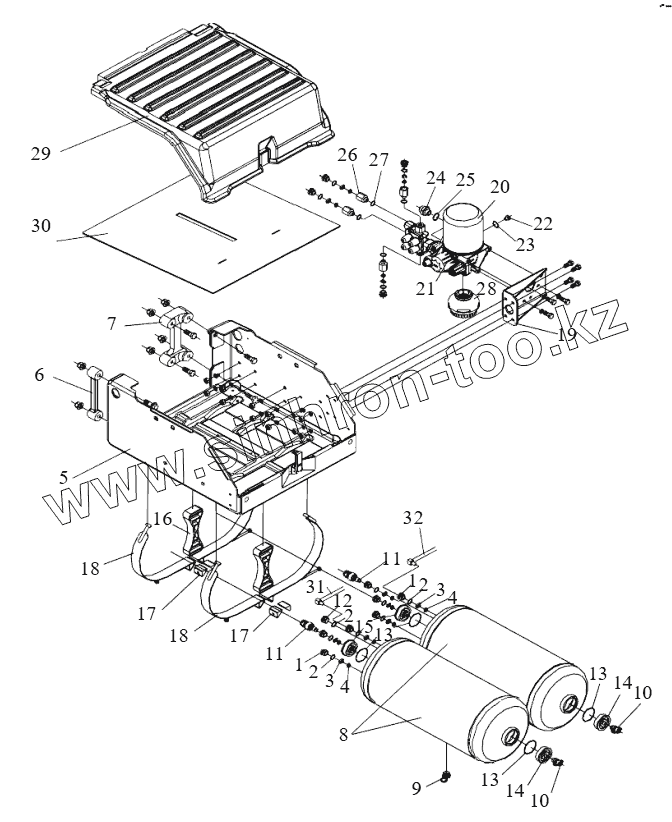
| Позиция на иллюстрации | Заводской номер детали | Название детали | |
|---|---|---|---|
| Q151C1230 | Q151C1230 | Шестигранный нитевидный болт | |
| Q40312 | Q40312 | Пружинная шайба | |
| CQ34012 | CQ34012 | Гайка | |
| CQ1501225 | CQ1501225 | Болт | |
| Q40312 | Q40312 | Пружинная шайба | |
| Q1841480 | Q1841480 | Шестигранный фланцевый болт | |
| CQ32614 | CQ32614 | Гайка | |
| CQ32608 | CQ32608 | Шайба | |
| Q1841465 | Q1841465 | Шестигранный фланцевый болт | |
| Q1841495 | Q1841495 | Болт | |
| CQ32614 | CQ32614 | Гайка | |
| CQ1500885 | CQ1500885 | Шестигранный болт | |
| 1 | 3513406-50А | Втулка | |
| 2 | 3513408-50А | Уплотнительное кольцо | |
| 3 | 3513407-50А | Рым | |
| 4 | 3513403-50А | Уплотнительное кольцо | |
| 5 | 3513800-50А/Е | Кронштейн ресивера и аккумулятора в сборе | |
| 6 | 3513826-80В/А | Кронштейн блока подачи воздуха | |
| 7 | 3513827-80В/А | Кронштейн блока подачи воздуха | |
| 8 | 3513020-94С/А | Ресивер в сборе | |
| 9 | 3513100-240 | Клапан слива воды | |
| 10 | 3506700-240 | Проверочный штуцер | |
| 11 | 3757010-50А | Переключатель сигнализатора давления в сборе | |
| 12 | 3506421-50А | Пробка | |
| 13 | 3513028-73А | Уплотнительное кольцо | |
| 14 | 3513027-73А | Переходник | |
| 14 | 3513026-73А | Переходник | |
| 16 | 3513411-50А/А | Перегородка ресивера | |
| 17 | 3513094-50А/С | Клин крепежного ремня в сборе | |
| 18 | 3513090-50А | Бандажная лента в сборе - ресиверы переднего и заднего тормозов | |
| 19 | 3515012-61В/В | Кронштейн блока обработки воздуха | |
| 20 | 3511020-50А | Воздушный сушильный резервуар в сборе | |
| 21 | 3515020-73А | Блок обработки воздуха | |
| 22 | 3515421-55А | Заглушка | |
| 23 | CQ734190B | О - образное резиновое кольцо для гидравлической | |
| 24 | 3506204-50А/В | Конечный штуцер - секция воздушной обработки | |
| 25 | CQ7341180В | О-образное резиновое уплотнительное кольцо гидропневматического привода | |
| 26 | 3515409-469 | Переходный штуцер | |
| 27 | CQ7341132B | О-образное резиновое кольцо для гидравлической | |
| 28 | 3515025-523/А | Глушитель | |
| 29 | 3513801-50A/D | Накладка кронштейна ресивера и аккумулятора | |
| 30 | 3513807-240 | Резиновый амортизатор аккумулятора | |
| 31 | 3506235-94С/А | Воздухопровод в сборе между присоединительным отверстием 22 блока обработки воздуха и задним отверстием ресивера тормоза переднего колеса | |
| 32 | 3506240-73A/D | Воздухопровод в сборе между присоединительным отверстием 21 блока обработки воздуха и задним отверстием ресивера тормоза заднего колеса |
Содержащиеся в справочниках-каталогах запасные части и детали не предлагаются к продаже, а носят исключительно информационный характер