Вернуться на главную
Поиск
Каталоги запчастей к технике
Грузовые автомобили и прицепы
FAW
CA-1083
Задний брызговик
Каталог запасных частей к технике: FAW CA-1083. Задний брызговик
zoom-in
zoom-out
enlarge
shrink
circle-right
circle-left
file-text2
info
cart
Тип техники
Не выбрано
Легковые автомобили
Грузовые автомобили и прицепы
Автобусы
Сельхозтехника
Спецтехника
Двигатели
Мототехника
Марка
Не выбрано
BAW
DAF
DongFeng
FAW
Foton
HOWO
Hyundai
IVECO
JAC Motors
LGMG
MAN
Shaanxi
SITRAK
Studebaker
Tata
Volvo
Автокомпонент Плюс
БелАЗ
Брянский Арсенал
ГАЗ
ЗИЛ
КАЗ
Камский автозавод
КрАЗ
Мадара
МАЗ
МЗКТ
МоАЗ
Нефтекамский автозавод
Ставропольский Завод АвтоПрицепов
ТАТРА
Тонар
УралАЗ
ЧМЗАП
Модель
Не выбрано
Altay-3310 (2009)
CA 3250 P66K2T1E5 (2017)
CA 3250 серии J6 (2012)
CA 3310 серии J6 (2012)
CA 4250 P66K24T1E (2017)
CA 5250 (GJBP66K2T1E4) (2014)
CA 5250 (JSQP64K1T1E4) (2014)
CA-1083 (2007)
CA-3250-P66K2L0BT1E4Z (2018)
CA-3250-P66K2L1BT1E4Z (2018)
CA-3250-P66K2L2BT1E4Z (2018)
CA-3252 (2005)
CA-3252 (P2K2BT1A) (2008)
CA-3252 (P2K2T1A) (2009)
CA-3312 (P2K2B2T4A2Z) (2011)
CA-3312 (P2K2LT4E) (2008)
CA-4180 (P66K22A) (2008)
CA-4180 (P66K2A) (2008)
CA-4250 (P66K22T1A1EX) (2008)
CA-4250 (P66K24T1E5) (2017)
CA-4250 (P66K2T1A1EX) (2008)
CA3250 (P66K24L1TE5Z) (2022)
CA3250 (P66K24T1E5) (2022)
CA3251 (P66K2L2T1E5Z) (2017)
CA3310 (P66K24T4E5) (2017)
CA3311 (2020)
CA4180 (P77K25E5) (2022)
Схема
>
Не выбрано
Передний бампер
Крыльевая панель и педаль
Задний брызговик
Боковой щит двигателя
Опорная установка кабины
Задняя подвеска кабины
Устройства для фиксации кабины
Устройства шарнира кабины
Отделочная панель ветрового окна
Нижняя отделочная панель
Стеклоочиститель
Стекло ветровое и уплотнения
Омыватель ветрового стекла
Наружная панель передка
Передняя наружная панель
Внешние декоративные панели передней стойки
Отделочные панели передней стойки
Передний знак и знак (JIEFANG)
Боковое окно
Заднее окно
Обтекатель крыши (выбор)
Боковой отделочный кожух крыши
Кожух радиатора
Нижняя отделочная панель с блоком фар
Второй блок щита приборов
Блок щита приборов I
Блок щита приборов II
Блок щита приборов III
Боковая облицовка
Задний блок
Внутренняя облицовка крыши
Пол
Дверь
Стекло двери и уплотнительная плёнка
Внутренняя отделка двери
Замки двери
Отопление, управляющее устройство
Трубопровод отопления
Сиденье водителя
Переднее сиденье
Среднее сиденье
Полка
Внутреннее зеркало заднего вида
Левое наружное зеркало заднего вида
Правое наружное зеркало заднего вида
Левый козырек
Правый козырек
Ремень безопасности
Двигатель (правый)
Двигатель (левый)
Подвеска двигателя
Блок цилиндра
Головка цилиндра
Поршень и шатун
Коленвал и маховик
Распредвал
Клапаны
Впускные и выпускные газопроводы
Шестерни двигателя
Картер
Масляный насос и трубопровод
Масляный фильтр
Масляный охладитель
Топливный трубопровод
Механизм подачи топлива
Воздушный фильтр
Фильтр топлива
Топливный бак и топливный трубопровод
Топливный насос
Распылитель
Нагнетатель
Охлаждающая система
Вентилятор, муфта вентилятора
Расширительный бак, крышка отверстия водозаливки, опора расширительного бака, трубопровод
Термостат
Водяной насос
Аппарат промежуточного охлаждения и трубопровод
Гидравлический рулевой насос в сборе
Воздушный компрессор
Воздушный компрессор
Компонент датчика системы электроуправления
Компонент исполнителя системы электроуправления
Компонент проводов двигателя
Выхлопная система
Выхлопной тормоз
Сцепление
Управляющее устройство сцепления
Крышка и верхняя крышка вариатора
Корпус вариатора
Шестерня и ось вариатора
Управляющее устройство вариатора
Приводной вал заднего моста
Промежуточный приводной вал
Безопасное крепление приводного вала (выбор)
Задний мост
Тележка
Передняя подвеска
Задняя подвеска
Передний вал и поперечный рычаг для поворота
Тяга рулевая
Обод передних колес и тормозной барабан
Обод задних колес и тормозной барабан
Подъемник запасного колеса
Колесо и шины
Опора поворота
Руль и устройство инфлектора
Приводная поворотная цепь
Тормоз переднего колеса
Тормоз заднего колеса
Тормозная цепь
Газгольдер
Электрическое устройство (Кузов и шасси)
Передняя фара
Передняя противотуманная фара
Фонарь поворота
Передняя габаритная фара
Лампы в кабине
Задние комбинационные ламбы
Прикуриватель
Комбинационный выключатель
Функциональный переключатель с 5 кнопками
Функциональный переключатель с 2 кнопками
Коробка передохратителей в сборе реле и регулятор
Переключатель стартера
Аккумулятор
Распределительная коробка
Пневматический маслопрерыватель
Инструменты с машиной
1
1
2
3
4
5
6
7
8
9
9
10
11
12
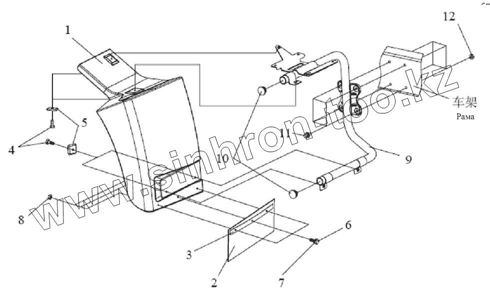
Позиция на иллюстрации
Заводской номер детали
Название детали
1
5103317-392
Левый задний брызговик
1
5103318-392
Правый задний брызговик
2
5103351А109
Задний нижний мягкий пластмассовый щит
3
5103352-392
Планка заднего нижнего мягкого пластмассового щита
4
CQ1420616
Болт
5
5103321-392
Шайба - Задний брызговик
6
CQ1500612
Болт
7
Q41206
Шайба
8
CQ39606
Гайка
9
5103335-392
Агрегат заднего опорного рычага левого заднего брызговика
9
5103340-392
Агрегат заднего опорного рычага правого заднего брызговика
10
5103336-392
Пробка опорной трубы брызговика
11
CQ1461040
Болт
12
CQ34010
Гайка
Содержащиеся в справочниках-каталогах запасные части и детали не предлагаются к продаже, а носят исключительно информационный характер
Дополнительная информация
×
Название:
Номер:
Примечание: