Каталог запасных частей к технике: FAW CA-1083. Тормоз заднего колеса
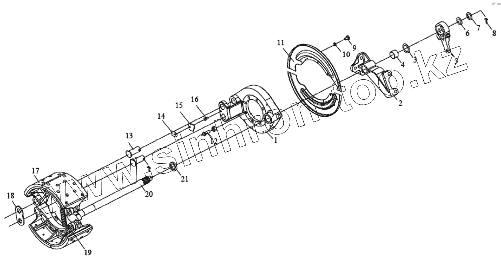
1
2
3
4
5
6
7
8
9
10
11
12
13
14
15
16
17
18
19
20
21
| Позиция на иллюстрации | Заводской номер детали | Название детали | |
|---|---|---|---|
| 3502127-348 | 3502127-348 | Левый кронштейн - Задний правый тормозной кулак | |
| 3502151-348 | 3502151-348 | Задний левый тормозной кулак | |
| 3501080NJ1063DD | 3501080NJ1063DD | Тормозной блок | |
| 3502032-5K1D | 3502032-5K1D | Левый нижний пылезащитный диск заднего тормоза | |
| 3502210-348 | 3502210-348 | Правый задний тормозной регуляционный рычаг в сборе | |
| 1 | 3502250NJ1063DD | Шайба - планка вала | |
| 2 | 3502128-348 | Правый кронштейн - Задний правый тормозной кулак | |
| 3 | 3501156-01 | Регулировочная шайба | |
| 4 | 3502129-02 | Втулка - Задний тормозной кронштейн | |
| 5 | 3502205-348 | Левый задний тормозной регуляционный рычаг в сборе | |
| 6 | 3501157-01 | Регулировочная шайба | |
| 7 | 3501158-02 | Шайба | |
| 8 | Q500B6336 | Шплинт | |
| 9 | CQ1500816 | Болт | |
| 10 | Q40306 | Пружинная шайба | |
| 11 | 3502031-5K1D | Левый верхний пылезащитный диск заднего тормоза | |
| 12 | CQ1501435T | Болт | |
| 13 | 3501211Z11QZ | Вал заднего тормоза | |
| 14 | 3501087-4Е | Застежка крепежного болта отбойника вала колодки | |
| 15 | 3501086-4Е | Планка | |
| 16 | CQ1501016 | Болт | |
| 17 | 3501080NJ1063DD | Тормозной блок | |
| 18 | 3501433-02 | Разделительная пластинка | |
| 19 | 3501118NJ1063DD | Пружина возврата - Задняя тормозная прокладка | |
| 20 | 3502152-348 | Задний правый тормозной кулак | |
| 21 | 3501158-02 | Шайба |
Содержащиеся в справочниках-каталогах запасные части и детали не предлагаются к продаже, а носят исключительно информационный характер