Вернуться на главную
Поиск
Каталоги запчастей к технике
Грузовые автомобили и прицепы
FAW
CA3311
Рулевое управляющее и приводное устройство
Каталог запасных частей к технике: FAW CA3311. Рулевое управляющее и приводное устройство
zoom-in
zoom-out
enlarge
shrink
circle-right
circle-left
file-text2
info
cart
Тип техники
Не выбрано
Легковые автомобили
Грузовые автомобили и прицепы
Автобусы
Сельхозтехника
Спецтехника
Двигатели
Мототехника
Марка
Не выбрано
BAW
DAF
DongFeng
FAW
Foton
HOWO
Hyundai
IVECO
JAC Motors
LGMG
MAN
Shaanxi
SITRAK
Studebaker
Tata
Volvo
Автокомпонент Плюс
БелАЗ
Брянский Арсенал
ГАЗ
ЗИЛ
КАЗ
Камский автозавод
КрАЗ
Мадара
МАЗ
МЗКТ
МоАЗ
Нефтекамский автозавод
Ставропольский Завод АвтоПрицепов
ТАТРА
Тонар
УралАЗ
ЧМЗАП
Модель
Не выбрано
Altay-3310 (2009)
CA 3250 P66K2T1E5 (2017)
CA 3250 серии J6 (2012)
CA 3310 серии J6 (2012)
CA 4250 P66K24T1E (2017)
CA 5250 (GJBP66K2T1E4) (2014)
CA 5250 (JSQP64K1T1E4) (2014)
CA-1083 (2007)
CA-3250-P66K2L0BT1E4Z (2018)
CA-3250-P66K2L1BT1E4Z (2018)
CA-3250-P66K2L2BT1E4Z (2018)
CA-3252 (2005)
CA-3252 (P2K2BT1A) (2008)
CA-3252 (P2K2T1A) (2009)
CA-3312 (P2K2B2T4A2Z) (2011)
CA-3312 (P2K2LT4E) (2008)
CA-4180 (P66K22A) (2008)
CA-4180 (P66K2A) (2008)
CA-4250 (P66K22T1A1EX) (2008)
CA-4250 (P66K24T1E5) (2017)
CA-4250 (P66K2T1A1EX) (2008)
CA3250 (P66K24L1TE5Z) (2022)
CA3250 (P66K24T1E5) (2022)
CA3251 (P66K2L2T1E5Z) (2017)
CA3310 (P66K24T4E5) (2017)
CA3311 (2020)
CA4180 (P77K25E5) (2022)
Схема
>
Не выбрано
Двигатель
Подвеска двигателя
Узел корпуса цилиндра
Корпус цилиндра
Узел крышки цилиндра
Крышка цилиндра
Крышка крышки цилиндра
Поршень и шатун
Коленчатый вал и маховик
Кулачковой вал
Приводная система
Газораспределительная система
Выпускной коллектор
Масляный поддон
Масляный маслосборник
Масляный насос
Клапан регулировки давления
Масляный фильтр
Вентиляция коробки коленчатого вала
Центробежный масляный фильтр
Натяжное колесо
Система маслоснабжения
Силовой поворотный масляный насос
Соединитель для забора охлаждающей воды
Система турбонаддува
Масляный охладитель
Сливной переключатель
Термостат, крышка термостата, соединительная труба малой циркуляции
Водяной насос
Радиатор, трубопровод, кожух вентилятора
Расширительный бачок, крышка заливной горловины, кронштейн расширительного бачка, трубопровод
Промежуточный охладитель, трубопровод, подвеска, блокирующая сетка
Воздушный компрессор (I)
Воздушный компрессор (II)
Воздушный отопитель
Компрессор холодного воздуха
Система электрического управления двигателем (I)
Система электрического управления двигателем (II)
Генератор
Стартер
Жгут проводов двигателя
Топливной фильтр тонкой очистки
Топливный бак и топливопровод
Трубопровод мочевины
Воздушный фильтр
Топливный фильтр грубой очистки
Система выпускного воздуха
Выпускной тормозной клапан
Сцепление
Управляющий механизм сцепления
Механизм переключения передач
Вал 1 в сборе
Промежуточный вал в сборе
Корпус коробки передач в сборе
Корпус сцепления в сборе
Промежуточный вал передачи заднего хода
Корпус задней крышки в сборе
Управляющее устройство в сборе
Вал 2 в сборе
Верхняя крышка в сборе
Прочие детали
Прочие детали
Устройство отбора мощности
Приводной вал заднего моста
Промежуточный приводной вал
Приводной среднего моста
Задний мост
Средний мост
Колесный редуктор
Рама
Передняя подвеска
Вторая передняя подвеска
Задняя подвеска
Первый передний вал
Второй передний вал
Устройство рулевой тяги
Передняя рулевая продольная тяга
Переходная тяга
Средний рычаг рулевого управления и кронштейн
Задняя продольная рулевая тяга
Ступица переднего колеса и тормозной барабан (первый передний вал)
Ступица переднего колеса и тормозной барабан (второй передний вал)
Ступица заднего колеса и тормозной барабан
Колеса и шины
Рулевое управляющее и приводное устройство
Силовой поворотный трубопровод
Тормоз переднего колеса
Тормоз среднего колеса
Тормоз заднего колеса
Тормозной трубопровод (1)
Тормозной трубопровод (2)
Тормозная педаль с тормозным клапаном и педаль сцепления с главным насосом сцепления
Модуль питания энергии пневматического тормоза
Вспомогательный воздухобак (1)
Вспомогательный воздухобак (2)
Блок антиблокировочного управления
Датчик скорости вращения колеса переднего вала
Датчик скорости вращения колеса заднего моста
Электрооборудование кабины водителя
Электрооборудование шасси
Передний комбинированный фонарь
Сигнальная лампа при открытии двери
Лампа для чтения водителя
Комбинированный задний фонарь
Коробка предохранителей с реле
Коробка предохранителей 1-с реле
Распределительная коробка электропитания и вспомогательное электрооборудование
Передние габаритные фонари
Противотуманные фары
Функциональный переключатель
Аккумулятор
Передний бампер
Кабина водителя
Переднее подвесное устройство кабины водителя (1)
Переднее подвесное устройство кабины водителя (2)
Переднее подвесное устройство кабины водителя (3)
Заднее подвесное устройство кабины водителя (1)
Заднее подвесное устройство кабины водителя (2)
Гидравлическое упорное устройство кабины водителя (1)
Гидравлическое упорное устройство кабины водителя (2)
Устройство управления опрокидыванием кабины водителя (1) (электрическое)
Устройство управления опрокидыванием кабины водителя (1) (ручное)
Устройство управления опрокидыванием кабины водителя (2)
Узел кожуха переключения передач
Кронштейн огнетушителя
Кронштейн домкрата
Боковая перегородка двигателя
Верхнее крыло, верхнее брызговик и трехступенчатая педаль
Задняя звукоизоляционная пластина двигателя
Ножная педаль и передний брызговик (1)
Ножная педаль и передний брызговик (2)
Задний брызговик
Компоненты ковров
Теплоизоляционная прокладка пола
Пробка пола
Звукоизоляционная и теплоизоляционная прокладка
Стеклоочиститель
Переднее ветровое стекло
Скруббер
Заглушка переднего борта и водонепроницаемая мембрана
Замок переднего борта и открывающаяся ручка
Боковой направляющий кожух
Наружная плита переднего борта
Пневморессора и кронштейн
Узел подлокотника
Передний подлокотник для подъема автомобиля
Панель приборов (1)
Панель приборов (2)
Панель приборов (3)
Панель приборов (4)
Панель приборов (5)
Панель приборов (6)
Панель приборов (7)
Узел ящика на высоте (1)
Узел ящика на высоте (2) (с регистратором движения)
Боковая защитная пластина (1)
Боковая защитная пластина (2)
Ящик инструментов бокового борта
Замок и трос ящика инструментов бокового борта
Стекло бокового окна
Защитная пластина заднего борта
Стекло заднего окна
Вентиляционная решетка
Задняя боковая декоративная крышка
Узел защитной поверхности верхней крышки (1)
Узел защитной поверхности верхней крышки (2)
Солнцезащитный козырек верхней крышки
Патрон лампы скорости
Дверные подлокотники
Передняя дверь
Нижняя декоративная панель двери
Внутренняя отделка двери автомобиля
Уплотнительная лента двери
Ограничитель двери автомобиля
Стопорного кольцо, седло фиксирующего штифта и наружная уплотнительная лента двери
Электрический дверный замок двери
Сиденье водителя
Переднее сиденье
Узел нижнего спального места
Оборудование кондиционирования воздуха
Внешний воздушный фильтр
Воздуховод
Реактор и регенератор в сборе
Радиатор кондиционера
Трубопровод отопления
Направляющая труба для доставки фтора
Лево-внешнее зеркало заднего вида
Право-внешнее зеркало заднего вида
Узел пепельницы
Передний солнцезащитный козырек
Бортовые инструменты
3403063-10W
Q2140616
Q40606
Q40506
Q40512
Q40105
CQ2714213
CQ2714245
N015448
3403166-50A
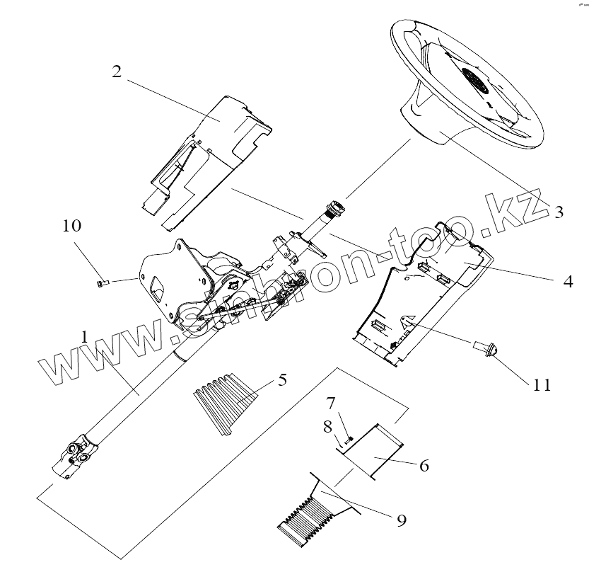
1
2
3
4
5
6
7
8
9
10
11
Позиция на иллюстрации
Заводской номер детали
Название детали
3403063-10W
3403063-10W
Clamp
Q2140616
Q2140616
Винт
Q40606
Q40606
Плоская шайба
Q40506
Q40506
Пружинная шайба
Q40512
Q40512
Пружинная шайба
Q40105
Q40105
Шайба
CQ2714213
CQ2714213
Самонарезающий винт
CQ2714245
CQ2714245
Самонарезающий винт с крестообразными шлицами
N015448
N015448
Пружинная гайка
3403166-50A
3403166-50A
Застежка-втулка рулевой передней колонки
1
3403010-60W
Кронштейн рулевой колонки и шарнир в сборе
2
3403061-10W
Передний защитный кожух рулевой колонки
3
3402010-10W
Рулевое колесо с кнопкой в сборе
4
3403062-10W
Задний защитный кожух рулевой колонки
5
3403049-10W
Dust cover
6
3403051-50A
Нижняя втулка рулевой колонки
7
CQ1420625F6B
Assembling bolt
8
Q40206F6
Шайба
9
3403067-50A
Пылезащитный кожух
10
CQ1421235
Болт
11
Q2360616
Винт
Содержащиеся в справочниках-каталогах запасные части и детали не предлагаются к продаже, а носят исключительно информационный характер
Дополнительная информация
×
Название:
Номер:
Примечание: