Вернуться на главную
Поиск
Каталоги запчастей к технике
Грузовые автомобили и прицепы
FAW
CA3310 (P66K24T4E5)
Трубопроводы подачи жидкого фреона
Каталог запасных частей к технике: FAW CA3310 (P66K24T4E5). Трубопроводы подачи жидкого фреона
zoom-in
zoom-out
enlarge
shrink
circle-right
circle-left
file-text2
info
cart
Тип техники
Не выбрано
Легковые автомобили
Грузовые автомобили и прицепы
Автобусы
Сельхозтехника
Спецтехника
Двигатели
Мототехника
Марка
Не выбрано
BAW
DAF
DongFeng
FAW
Foton
HOWO
Hyundai
IVECO
JAC Motors
LGMG
MAN
Shaanxi
SITRAK
Studebaker
Tata
Volvo
Автокомпонент Плюс
БелАЗ
Брянский Арсенал
ГАЗ
ЗИЛ
КАЗ
Камский автозавод
КрАЗ
Мадара
МАЗ
МЗКТ
МоАЗ
Нефтекамский автозавод
Ставропольский Завод АвтоПрицепов
ТАТРА
Тонар
УралАЗ
ЧМЗАП
Модель
Не выбрано
Altay-3310 (2009)
CA 3250 P66K2T1E5 (2017)
CA 3250 серии J6 (2012)
CA 3310 серии J6 (2012)
CA 4250 P66K24T1E (2017)
CA 5250 (GJBP66K2T1E4) (2014)
CA 5250 (JSQP64K1T1E4) (2014)
CA-1083 (2007)
CA-3250-P66K2L0BT1E4Z (2018)
CA-3250-P66K2L1BT1E4Z (2018)
CA-3250-P66K2L2BT1E4Z (2018)
CA-3252 (2005)
CA-3252 (P2K2BT1A) (2008)
CA-3252 (P2K2T1A) (2009)
CA-3312 (P2K2B2T4A2Z) (2011)
CA-3312 (P2K2LT4E) (2008)
CA-4180 (P66K22A) (2008)
CA-4180 (P66K2A) (2008)
CA-4250 (P66K22T1A1EX) (2008)
CA-4250 (P66K24T1E5) (2017)
CA-4250 (P66K2T1A1EX) (2008)
CA3250 (P66K24L1TE5Z) (2022)
CA3250 (P66K24T1E5) (2022)
CA3251 (P66K2L2T1E5Z) (2017)
CA3310 (P66K24T4E5) (2017)
CA3311 (2020)
CA4180 (P77K25E5) (2022)
Схема
>
Не выбрано
Двигатель CA6DM2-39E51-5
Подвеска двигателя
Составляющие элементы блока цилиндра
Блок цилиндров
Составляющие элементы головки блока цилиндров
Головка блока цилиндров
Крышка головки блока цилиндров
Поршни и шатуны
Коленчатый вал и маховик
Распределительный вал
Трансмиссионная система
Система газораспределения
Выхлопные коллекторы
Выхлопная система
Клапан выхлопного тормоза
Масляный картер
Маслоприемник
Масляный насос
Клапан регулировки давления
Масляный фильтр
Вентиляция картера
Центробежный масляный фильтр
Натяжной шкив
Система топливоподачи
Штуцеры заборного и циркуляционных водопроводов
Фильтр тонкой очистки топлива
Система турбонаддува
Воздухоподогреватель
Холодильный компрессор
Топливный бак и топливопроводы
Трубопроводы мочевины
Воздушный фильтр
Фильтр грубой очистки топлива
Масляный радиатор
Водосливной кран
Термостат, крышка термостата, штуцера циркуляции по малому кругу
Водяной насос
Радиатор, трубопроводы, воздухоотражатель вентилятора
Расширительный бак, пробка водоналивной горловины, кронштейн расширительного бака, трубопроводы
Промежуточный охладитель, трубопроводы, подвеска, защитная сетка
Воздушный компрессор (I)
Воздушный компрессор (II)
Электронная система управления двигателем (I)
Электронная система управления двигателем (II)
Генератор
Стартер
Пучок проводов двигателя
Сцепление
Механизм управления сцеплением
Механизм управления сцеплением
Приводной вал заднего моста
Промежуточный приводной вал
Приводной вал промежуточного моста
Задний мост
Промежуточный мост
Колесный редуктор
Рама
Передняя подвеска
Вторая передняя подвеска
Задняя подвеска
Первая передняя ось
Вторая передняя ось
Рулевые тяги
Передняя продольная рулевая тяга
Переходная тяга
Промежуточная рулевая сошка и кронштейн
Задняя продольная рулевая тяга
Ступица переднего колеса с тормозным барабаном (первой передней оси)
Ступица переднего колеса с тормозным барабаном (второй передней оси)
Ступица заднего колеса с тормозным барабаном
Колеса с шинами
Механизм рулевого управления и привод
Трубопроводы рулевого механизма с гидроусилителем
Масляный насос гидроусилителя рулевого управления
Тормозные механизмы передних колес
Тормозные механизмы колес промежуточного моста
Тормозные механизмы задних колес
Тормозные трубопроводы (I)
Тормозные трубопроводы (II)
Педаль тормоза с тормозным краном и педаль сцепления с главным цилиндром сцепления
Пневматический тормозной модуль
Вспомогательный ресервуар (1)
Вспомогательный ресервуар (2)
Блок управления АБС
Датчики частоты вращения колес передней оси
Датчики частоты вращения колес заднего моста
Электрооборудование кабины
Электрооборудование шасси
Передние комбинированные фары
Сигнальный индикатор незакрытых дверей
Лампа чтения для водителя
Задние комбинированные фонари
Блок предохранителей с реле
Блок предохранителей с реле 1
Распределительная коробка с комплектующими
Передние габаритные фонари
Задние контурные фонари
Противотуманные фары
Функциональные переключатели
Аккумулятор
Передний бампер
Кабина
Передняя подвеска кабины (I)
Передняя подвеска кабины (II)
Передняя подвеска кабины (III)
Задняя подвеска кабины (I)
Задняя подвеска кабины (II)
Гидравлическая опора кабины (I)
Гидравлическая опора кабины (II)
Механизм управления опрокидыванием кабины (I)(Электрический)
Механизм управления опрокидыванием кабины (I)(ручной)
Механизм управления опрокидыванием кабины (II)
Составляющие элементы хомута переключения передач
Кронштейн огнетушителя
Кронштейн домкрата
Подножки и передние брызговики (I)
Задние брызговики
Боковые перегородки двигателя
Верхние крылья, верхние брызговики и подножки третьей ступени
Задняя звукоизоляционная накладка двигателя
Составляющие элементы ковриков
Теплоизоляционные подкладки пола
Заглушки отверстий пола
Теплоизоляционные подкладки глушителя
Стеклоочиститель
Лобовое стекло
Омыватель
Заглушки отверстий в панели передка и водонепроницаемая пленка
Замок панели передка и рычаг открывания
Боковые обтекатели
Наружная панель передка
Пневматическая рессора и кронштейны
Комбинированные поручни
Передние посадочные поручни
Приборная панель (I)
Приборная панель (II)
Приборная панель (III)
Приборная панель (IV)
Приборная панель (V)
Приборная панель (VI)
Приборная панель (VII)
Составляющие элементы верхнего отсека (I)
Составляющие элементы верхнего отсека (II. с таймер счетчиком)
Боковая панель (I)
Боковая панель (II)
Боковой инструментальный ящик
Замок бокового инструментального ящика с тросом
Боковые стекла
Обшивки панели задка
Заднее стекло
Вентиляционная решетка
Декоративная накладка боковой панели задка
Составляющие элементы обшивок крыши (I)
Составляющие элементы обшивок крыши (II)
Противосолнечный брызговик крыши
Держатель фонаря безопасного обгона
Поручни дверей
Передние двери
Нижние декоративные панели дверей
Внутренние обшивки дверей
Уплотнители дверей
Ограничители дверей
Стопорные кольца, держатели фиксаторов и наружные уплотнители дверей
Электрические замки дверей
Водительское сиденье
Переднее сиденье
Составляющие элементы нижнего спального места
Кондиционер
Фильтр очистки наружного воздуха
Воздуховод
Испаритель и радиатор в сборе
Конденсатор
Трубопроводы отопителя
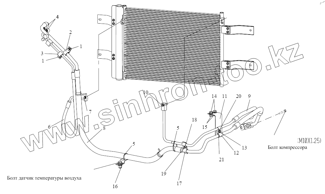
Трубопроводы подачи жидкого фреона
Левое наружное зеркало заднего вида
Левое наружное зеркало заднего вида
Правое зеркало заднего вида
Правое зеркало заднего вида
Составляющие элементы пепельницы
Противосолнечные козырьки
Возимый комплект инструментов
1
1
2
3
4
5
5
6
7
8
9
10
11
12
13
14
15
16
17
18
19
20
21
Позиция на иллюстрации
Заводской номер детали
Название детали
1
CQ1460612
Комбинированный болт
2
8108075-50А
Кольцевой хомут в сборе Е
3
8108065-50А
Кольцевой хомут в сборе А
4
CQ1460625
Болт
5
Т67427946
Пластмассовая бандажная лента
6
8108130-81W-C00
Гибкий трубопровод высокого давления в сборе между конденсатором и охладителем
7
CQ1460630
Комбинированный болт
8
8108060-13С-С00
Гибкая трубка низкого давления в сборе - холодильник
9
8108080-13С-С00
Гибкий трубопровод высокого давления в сборе - компрессор
10
CQ1460635
Болт
11
8108155-90U
Кронштейн крепления фреоновой трубки в сборе
12
8108153-90U
Двухтрубный хомут
13
CQ34006
Шестигранная гайка
14
CQ1461025
Болт
15
CQ34010
Гайка
16
8108121-90U
Кронштейн
17
8108076-742
Трубный зажим
18
8108075-742
Трубный зажим в сборе
19
CQ1460616
Болт
20
Q40306
Пружинная шайба
21
Q40106
Шайба
Содержащиеся в справочниках-каталогах запасные части и детали не предлагаются к продаже, а носят исключительно информационный характер
Дополнительная информация
×
Название:
Номер:
Примечание: