Каталог запасных частей к технике: FAW CA3251 (P66K2L2T1E5Z). Система подачи топлива
1
1
1
1
1
1
1
1
1
1
1
1
1
1
1
1
1
1
1
1
1
1
1
1
1
32
33
33
34
35
35
36
37
38
38
39
40
40
41
42
43
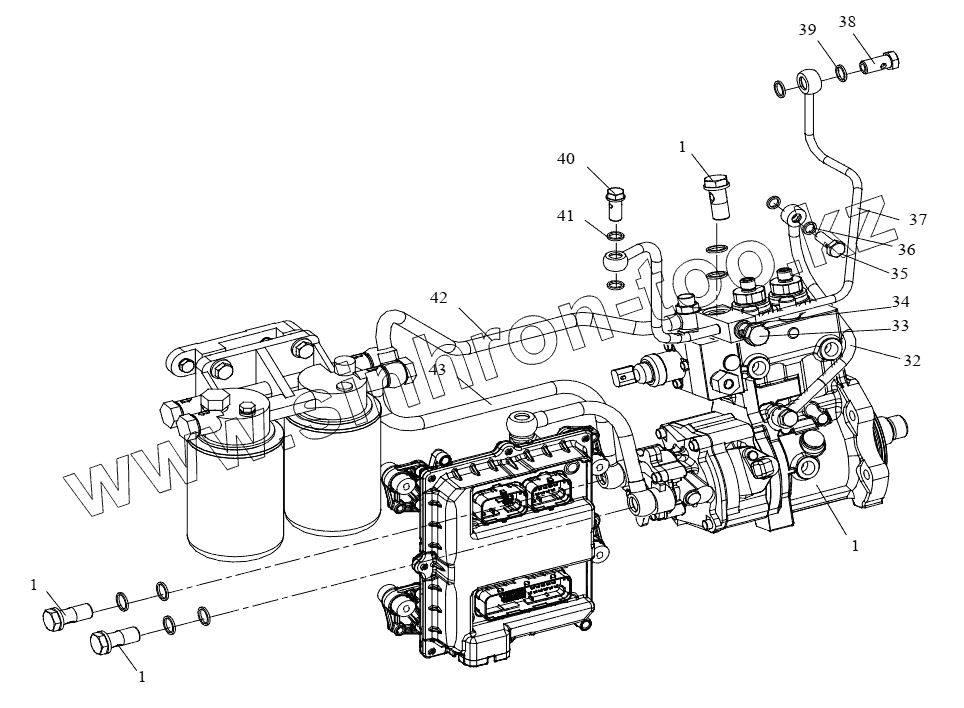
| Позиция на иллюстрации | Заводской номер детали | Название детали | |
|---|---|---|---|
| 1 | Пружинная шайба | Пружинная шайба крепления приводной шестерни | |
| 1 | 1111010-68F-0000 | Топливный насос в сборе | |
| 1 | Болт | Пустотелый болт | |
| 1 | Гайка | Шестигранная гайка - для крепления приводной шестерни | |
| 1 | Болт | Пустотелый болт | |
| 2 | CQ1201035 | Шпилька | |
| 3 | CQ39610 | Гайка | |
| 4 | 1111228А630-0000 | Присоединительный фланец | |
| 5 | Q1841045T | Шестигранный фланцевый болт | |
| 6 | Q1841030 | Болт | |
| 7 | CQ73421500B | О-образное резиновое кольцо для гидравлической | |
| 7 | 1002063-29D | О-образное кольцо - перекрышка PTO | |
| 8 | 1111216-630-0000 | Передаточная шестерня топливного насоса | |
| 9 | 1129080A640-0000J | Топливопровод высокого давления в сборе | |
| 10 | 1129070A640-0000J | Топливопровод высокого давления в сборе | |
| 11 | 1129060-22Е | Маслопровод высокого давления 6 -ого цилиндра в сборе | |
| 12 | 1129072-59D | Кронштейн крепления -топливопровода высокого давления | |
| 13 | 1129075-48D | Трубодержатель трубки высокого давления в сборе I | |
| 14 | 1129065А621-0000 | Комплект зажима масляной трубы высокого давления | |
| 15 | Q1840816 | Болт | |
| 16 | 1129050-22Е | Маслопровод высокого давления 5 -ого цилиндра в сборе | |
| 17 | Q1840820 | Болт | |
| 18 | 1129040-22Е | Маслопровод высокого давления 4 -ого цилиндра в сборе | |
| 19 | 1129030-22Е | Маслопровод высокого давления 3 -ого цилиндра в сборе | |
| 20 | 1129020-22Е | Маслопровод высокого давления 2 -ого цилиндра в сборе | |
| 21 | 1129010-22Е | Маслопровод высокого давления 1 -ого цилиндра в сборе | |
| 22 | 1129071-59D | Крепежная стойка I - труба высокого давления | |
| 23 | 1112031-29D | Промежуточная гайка штуцера трубки высокого давления | |
| 24 | 1112030-630-0000К | Штуцер топливопровода высокого давления в сборе | |
| 25 | 1129110-640-0000 | Топливная рампа высокого давления в сборе | |
| 26 | 1112013K29D | Болт прижимной планки форсунки | |
| 27 | GB849 8 | Сферическая шайба | |
| 27 | GB849-1988 8 | Сферическая шайба | |
| 28 | 1112011А630-0000 | Зажимная пластинка распылителя | |
| 29 | 1112010-640-0000 | Маслораспылитель в сборе | |
| 30 | CQ39608 | Гайка | |
| 31 | 1111227-59D | Муфта | |
| 32 | 1104060-630-0000 | Маслопровод в сборе | |
| 33 | 1117038-60D | Пустотелый болт | |
| 33 | Q/XC3451.1-2002 | Шарнирный болт М14x1.5 | |
| 34 | CQ72316T5 | Уплотнительное кольцо | |
| 35 | 1104066-D6 | Полый болт - маслопровод в сборе | |
| 35 | 1104061-29D | Шарнирный болт | |
| 36 | CQ72310T5 | Уплотнительное кольцо | |
| 37 | 1104050А640-0863 | Возвратный маслопровод в сборе | |
| 38 | 1104073-D6 | Пустотелый болт возвратного масляного трубопровода | |
| 38 | Q/XC3451.1-2002 | Шарнирный болт М14x1.5 | |
| 39 | CQ72314T5 | Уплотнительное кольцо | |
| 40 | 1104051-59D | Полый болт - масляный рельс | |
| 40 | 1104051-630-0000 | Полый болт - масляный рельс | |
| 41 | CQ72312T5 | Уплотнительное кольцо | |
| 42 | 1104040Е630-0000 | Подводящий топливопровод в сборе между фильтром тонкой очистки топлива и топливным насосом | |
| 43 | 1104030А640-0000 | Подводящий топливопровод в сборе между топливоподкачивающим насосом и фильтром тонкой очистки топлива | |
| 44 | 1111226-59D | Фиксатор |
Содержащиеся в справочниках-каталогах запасные части и детали не предлагаются к продаже, а носят исключительно информационный характер