Каталог запасных частей к технике: FAW CA3251 (P66K2L2T1E5Z). Электрооборудование шасси
1
2
3
4
5
6
7
8
9
10
11
12
13
14
15
16
17
18
18
19
20
21
22
23
24
25
26
27
28
29
30
31
32
33
34
35
36
37
38
39
39
40
40
41
41
42
42
42
42
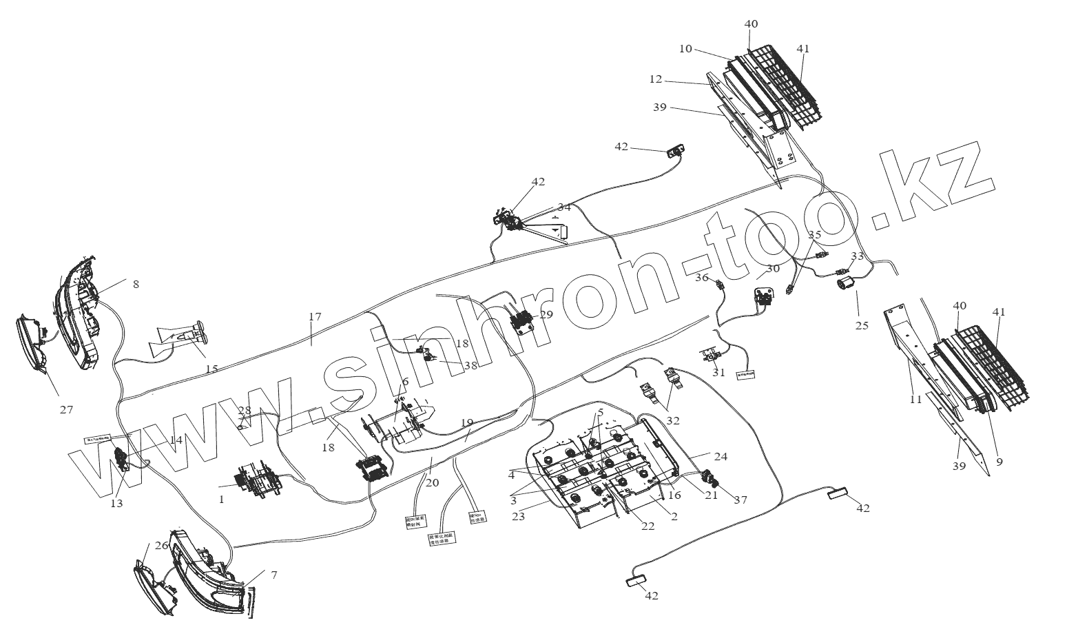
| Позиция на иллюстрации | Заводской номер детали | Название детали | |
|---|---|---|---|
| 3724045B77C/ A | 3724045B77C/ A | Жгут проводов шасси в сборе(с ручным приводом подъема) | |
| 1 | 3701010-14В | Генератор переменного тока в сборе | |
| 2 | 3703010А1086-С00/В | АКБ с электролитом | |
| 3 | 3703161-242 | Нижняя скоба аккумулятора | |
| 4 | 3703162-240/А | Верхняя прижимная пластина АКБ | |
| 5 | 3703163-242 | Крепежный болт аккумулятора | |
| 6 | 3708010-29DB | Стартер в сборе | |
| 7 | 3711015-59А/С | Комбинация левого переднего освещения в сборе | |
| 8 | 3711020-59А/С | Комбинация правого переднего освещения в сборе | |
| 9 | 3716015-362-С00/А | Комбинация левого заднего освещения в сборе | |
| 10 | 3716020-362-С00/А | Комбинация правого заднего освещения в сборAе | |
| 11 | 3716025-89А/В | Кронштейн комбинации левого заднего освещения в сборе | |
| 12 | 3716030-89А/А | Кронштейн электрического звукового сигнала | |
| 13 | 3721211-50А/А | Высокочастотный электрический звуковой сигнал | |
| 14 | 3754010-41U/A | Пневматический звуковой сигнал | |
| 15 | 3721115-50А | Пневматический мегафон | |
| 16 | 3721010-116/С | Распределительная коробка с вспомогательными устройствами в сборе | |
| 17 | 3724045А77С/А | Жгут проводов шасси в сборе | |
| 18 | 3724020-22Е | Жгут проводов двигателя в сборе | |
| 19 | 3724070-55А/С | Заземляющий провод в сборе между двигателем и рамой | |
| 20 | 3724160-37V/A | Провод в сборе между стартером и распределительной коробкой | |
| 21 | 3724175-75С/А | Провод в сборе между главным выключателем источника питания и АКБ | |
| 22 | 3724180-50А/С | Электропровод в сборе - для присоединения с аккумулятором | |
| 23 | 3724200-50А/В | Заземляющий провод в сборе между отрицательной клеммой АКБ и рамой | |
| 24 | 3724145-72U/E | Провод в сборе между главным выключателем источника питания и распределительной коробкой | |
| 25 | 3729050-91W/C | Зуммер заднего хода в сборе | |
| 26 | 3732015-53А/В | Левая передняя ПТФ в сборе | |
| 27 | 3732020-53А/В | Кронштейн комбинации правого заднего освещения в сборе | |
| 28 | 3750010-С10-000 0 | Воздухоподогреватель в сборе | |
| 29 | 3754010-73А/Е | Электромагнитный клапан в сборе | |
| 30 | 3754010-80A/D | Электромагнитный клапана в сборе | |
| 31 | 3754020-41U/C | Электромагнитный клапан обогрева насоса для мочевины в сборе | |
| 32 | 3757010-61В/С | Датчик давления воздуха в сборе | |
| 33 | 3757050-50A/D | Выключатель тревоги пневматического стояночного тормоза в сборе | |
| 34 | 3806040-79W/A | Датчик уровня топлива в сборе | |
| 35 | 3834050-А0Е | Переключатель блокировки межколесного дифференциала | |
| 36 | 3834050-А0Е | Переключатель блокировки межколесного дифференциала | |
| 37 | 3736010-77С/А | Главный выключатель источника питания в сборе | |
| 38 | 3802020-76А | Датчик одометра в сборе | |
| 39 | 3716017-595/В | Пластина заднего номерного знака | |
| 40 | 3716021-502/А | Соединительная деталь защитной сетки комбинации заднего освещения | |
| 41 | 3716040-502/А | Защитная сетка комбинации заднего освещения в сборе | |
| 42 | 3733010-55A/D | Боковой опознавательный фонарь в сборе |
Содержащиеся в справочниках-каталогах запасные части и детали не предлагаются к продаже, а носят исключительно информационный характер