Вернуться на главную
Поиск
Каталоги запчастей к технике
Грузовые автомобили и прицепы
FAW
Altay-3310
ОСНОВАНИЕ УПРАВЛЯЮЩЕГО УСТРОЙСТВА С КОНТРОЛЛЕРОМ
Каталог запасных частей к технике: FAW Altay-3310. ОСНОВАНИЕ УПРАВЛЯЮЩЕГО УСТРОЙСТВА С КОНТРОЛЛЕРОМ
zoom-in
zoom-out
enlarge
shrink
circle-right
circle-left
file-text2
info
cart
Тип техники
Не выбрано
Легковые автомобили
Грузовые автомобили и прицепы
Автобусы
Сельхозтехника
Спецтехника
Двигатели
Мототехника
Марка
Не выбрано
BAW
DAF
DongFeng
FAW
Foton
HOWO
Hyundai
IVECO
JAC Motors
LGMG
MAN
Shaanxi
SITRAK
Studebaker
Tata
Volvo
Автокомпонент Плюс
БелАЗ
Брянский Арсенал
ГАЗ
ЗИЛ
КАЗ
Камский автозавод
КрАЗ
Мадара
МАЗ
МЗКТ
МоАЗ
Нефтекамский автозавод
Ставропольский Завод АвтоПрицепов
ТАТРА
Тонар
УралАЗ
ЧМЗАП
Модель
Не выбрано
Altay-3310 (2009)
CA 3250 P66K2T1E5 (2017)
CA 3250 серии J6 (2012)
CA 3310 серии J6 (2012)
CA 4250 P66K24T1E (2017)
CA 5250 (GJBP66K2T1E4) (2014)
CA 5250 (JSQP64K1T1E4) (2014)
CA-1083 (2007)
CA-3250-P66K2L0BT1E4Z (2018)
CA-3250-P66K2L1BT1E4Z (2018)
CA-3250-P66K2L2BT1E4Z (2018)
CA-3252 (2005)
CA-3252 (P2K2BT1A) (2008)
CA-3252 (P2K2T1A) (2009)
CA-3312 (P2K2B2T4A2Z) (2011)
CA-3312 (P2K2LT4E) (2008)
CA-4180 (P66K22A) (2008)
CA-4180 (P66K2A) (2008)
CA-4250 (P66K22T1A1EX) (2008)
CA-4250 (P66K24T1E5) (2017)
CA-4250 (P66K2T1A1EX) (2008)
CA3250 (P66K24L1TE5Z) (2022)
CA3250 (P66K24T1E5) (2022)
CA3251 (P66K2L2T1E5Z) (2017)
CA3310 (P66K24T4E5) (2017)
CA3311 (2020)
CA4180 (P77K25E5) (2022)
Схема
>
Не выбрано
СТОЙКА КАБИНЫ
МЕХАНИЗМ ЗАМКА КАБИНЫ
ЗАДНЕЕ КРЕПЛЕНИЕ КАБИНЫ
ПЕРЕДНЕЕ КРЫЛО И ПЕДАЛЬ
БРЫЗГОВИК
ГРЯЗЕЗАЩИТНЫЙ ЩИТОК ДВИГАТЕЛЯ
КОВРИК
ТЕПЛОИЗОЛЯЦИОННОЕ НАПОЛЬНОЕ ПОКРЫТИЕ
ДВОРНИК
ВЕТРОВОЕ СТЕКЛО И УПЛОТНИТЕЛЬ
ОМЫВАТЕЛЬ ВЕТРОВОГО СТЕКЛА
ВНЕШНЯЯ ПЛАСТИНА ПЕРЕДНЕЙ СТЕНКИ И НАКЛОНЯЮЩИЙ МЕХАНИЗМ
ВНЕШНЯЯ ОТДЕЛКА КАБИНЫ
ВСПОМОГАТЕЛЬНАЯ ИНСТРУМЕНТАЛЬНАЯ ПАНЕЛЬ
ПРИБОРНАЯ ПАНЕЛЬ
БОКОВАЯ ПАНЕЛЬ
БОКОВОЕ ОКНО
ДЕТАЛИ ОТДЕЛКИ ЗАДНЕЙ СТЕНКИ
ПАНЕЛЬ ЗАДНЕГО ОКНА
ЗАДНЕЕ ОКНО
ВНУТРЕННЕЕ ПОКРЫТИЕ ОБШИВКИ КРЫШИ
ОТДЕЛКА ПОКРЫТИЯ КРЫШИ
ДВЕРЬ И ШАРНИР ДВЕРИ
ПАНЕЛЬ ВНУТРЕННЕЙ ОТДЕЛКИ ДВЕРИ
ДВЕРНОЕ СТЕКЛО И УПЛОТНИТЕЛЬ (ФОРТОЧКА)
СТЕКЛОПОДЪЁМНИК
ДВЕРНОЙ ЗАМОК
СИДЕНЬЕ ВОДИТЕЛЯ
ПЕРЕДНЕЕ СИДЕНЬЕ
СПАЛЬНОЕ МЕСТО
ОБОГРЕВАТЕЛЬ
ВОДООБМЕННЫЕ ТРУБКИ ОБОГРЕВАТЕЛЯ
ВНУТРЕННЕЕ ЗЕРКАЛО ЗАДНЕГО ВИДА
ЛЕВОЕ ЗЕРКАЛО ЗАДНЕГО ВИДА
ПРАВОЕ ЗЕРКАЛО ЗАДНЕГО ВИДА
ЛЕВЫЙ ПРОТИВОСОЛНЕЧНЫЙ КОЗЫРЁК
ПРАВЫЙ ПРОТИВОСОЛНЕЧНЫЙ КОЗЫРЁК
РЕМЕНЬ БЕЗОПАСНОСТИ
M3000-1002000 Сборка блока цилиндров
М3000-100300А Сборка крышки цилиндра и чехла крышки цилиндра
М3000-1004000 Сборка поршня и шатуна
М3000-1005000 Сборка коленчатого вала и маховика
М3000-1006000 Сборка распределительного вала
М3000-1007000 Зубчатая передача клапана
М3000-1008100А Части всасывающего водопровода
М3000-1008200А Части выхлопного патрубка
М3000-1009000 Сборка масло отстойника
М3000-1010000В Сборка масляного фильтра
М3400-1011000 Сборка масляного насоса
М3000-101200 Сборка масляного фильтра
М3400-1013000 Сборка маслоохладителя
Топливный бак и топливопровод
Механизм управления подачей топлива
Воздушный фильтр
Фильтр предварительной очистки топлива
М3000-1104000 Сборка топливопровода
М3000-1105000 Сборка топливного фильтра
М3000-1109000 Сборка воздухоочистителя
М3000-1111000 Сборка топливного насоса
М3000-1112000 Сборка топливного инжектора
М3000-1118000 Сборка турбокомпрессора
Система выпуска
М3000-1201000 Сборка глушителя
Система промежуточного охлаждения
Радиатор
Расширитель, кронштейн расширителя, трубопровод
М3000-1303000 Сборка трубопровода радиатора и шланга
М3000-1306000 Сборка термостата
М3000-1307000 Сборка водяного насоса
М3000-1308000 Сборка вентилятора
М3000-1600000 Сборка сцепления
Сцепление
Механизм управления сцеплением
Картер сцепления и коробки передач
Выходной вал
Промежуточные валы
Входной вал
Промежуточный вал заднего хода
Сборка верхней крышки
Механизм управления
Регулятор воздушного фильтра
Ведущая шестарня вспомогательной коробки передач
Основной вал вспомогательной коробки передач
Промежуточные валы вспомогательной коробки передач
Сборка задней крышки
Цилиндр вспомогательной коробки передач
Усилитель для переключения передач
Механизм управления трансмиссией
Проводка для управления коробкой передач
Вспомогательное крепление трансмиссии
Ведущий вал задней оси
Ведущий вал промежуточного вала
Промежуточный вал средней оси
Задняя ось
Средняя ось
Рама
ПЕРЕДНЯЯ ПОДВЕСКА (ОСЬ №1)
ПЕРЕДНЯЯ ПОДВЕСКА (ОСЬ №2)
ЗАДНЯЯ ПОДВЕСКА
ПЕРЕДНЯЯ ОСЬ И СОЕДИНИТЕЛЬНАЯ РУЛЕВАЯ ТЯГА
ПРОДОЛЬНАЯ РУЛЕВАЯ ТЯГА
ПЕРЕДНЯЯ ПРОДОЛЬНАЯ РУЛЕВАЯ ТЯГА
ПЕРЕХОДНЫЙ РЫЧАГ №1
ПЕРЕХОДНЫЙ РЫЧАГ №2
ЗАДНЯЯ ПРОДОЛЬНАЯ РУЛЕВАЯ ТЯГА
СРЕДНЯЯ РУЛЕВАЯ СОШКА №1 И КРОНШТЕЙН
СРЕДНЯЯ РУЛЕВАЯ СОШКА №2 И КРОНШТЕЙН
КОЛЕСО И ШИНА
СТУПИЦА ПЕРЕДНЕГО КОЛЕСА И ТОРМОЗНОЙ БАРАБАН
СТУПИЦА ЗАДНЕГО КОЛЕСА И ТОРМОЗНОЙ БАРАБАН
ПОДЪЁМНИК ЗАПАСНОГО КОЛЕСА
КРОНШТЕЙН РУЛЕВОЙ КОЛОНКИ
ПРОВОДКА УСИЛИТЕЛЯ РУЛЕВОГО УПРАВЛЕНИЯ
М3000-3509000 Сборка воздушного компрессора пневматического тормоза
ПЕРЕДНИЙ ТОРМОЗ (ОСЬ №1 И №2)
ТОРМОЗ ЗАДНЕГО КОЛЕСА (СРЕДНЕЕ/ЗАДНЕЕ КОЛЕСО)
ТОРМОЗНАЯ ПРОВОДКА
ВОЗДУШНЫЙ РЕЗЕРВУАР
ЭЛЕКТРООБОРУДОВАНИЕ
ФАРЫ
ИНДИВИДУАЛЬНАЯ ПОДСВЕТКА ВОДИТЕЛЯ
ПЕРЕДНИЕ ГАБАРИТЫ
ПЕРЕДНИЕ ПРОТИВОТУМАННЫЕ ФАРЫ
СИГНАЛЫ ПОВОРОТА
ПЕРЕДНИЙ ИНДИКАТОР ШИРИНЫ (ГАБАРИТ)
ИНДИВИДУАЛЬНОЕ ОСВЕЩЕНИТЕ СПАЛЬНЫХ МЕСТ
КОМБИНИРОВАННЫЕ ЗАДНИЕ ГАБАРИТЫ
РАСПРЕДЕЛИТЕЛЬНАЯ КОРОБКА ЭЛЕКТРОПИТАНИЯ
КОРОБКА ПРЕДОХРАНИТЕЛЕЙ С РЕЛЕ И ПРЕРЫВАТЕЛЕМ
ФУНКЦИОНАЛЬНЫЙ ПЕРЕКЛЮЧАТЕЛЬ
ОСНОВАНИЕ УПРАВЛЯЮЩЕГО УСТРОЙСТВА С КОНТРОЛЛЕРОМ
ВКЛЮЧАТЕЛЬ СТАРТЕРА
АККУМУЛЯТОР
М3000-3701000 Сборка зарядного генератора
М3000-3708000 Сборка стартера
ИНСТРУМЕНТАРИЙ
3722901-262/B262
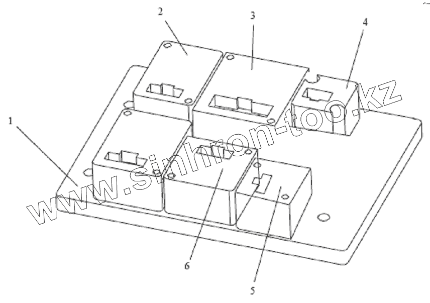
1
2
3
4
5
6
Позиция на иллюстрации
Заводской номер детали
Название детали
3722901-262/B262
3722901-262/B262
Основание управляющего устройства с контроллером
1
3722051-240
Основание управляющего устройства
2
3741060-240
Контроллер стеклоочистителя с прерывистым режимом работы
3
3763040-262
Контроллер скорости
4
3720030-240
Контроллер предохранителей индикаторов торможения
5
3818080-240
Контроллер уровня охлаждающей жидкости
6
3750030-240
Контроллер подогрева
Содержащиеся в справочниках-каталогах запасные части и детали не предлагаются к продаже, а носят исключительно информационный характер
Дополнительная информация
×
Название:
Номер:
Примечание: