Вернуться на главную
Поиск
Каталоги запчастей к технике
Грузовые автомобили и прицепы
DongFeng
L3251A3 (вар.)
Gear Housing Subassembly
Каталог запасных частей к технике: DongFeng L3251A3 (вар.). Gear Housing Subassembly
zoom-in
zoom-out
enlarge
shrink
circle-right
circle-left
file-text2
info
cart
Тип техники
Не выбрано
Легковые автомобили
Грузовые автомобили и прицепы
Автобусы
Сельхозтехника
Спецтехника
Двигатели
Мототехника
Марка
Не выбрано
BAW
DAF
DongFeng
FAW
Foton
HOWO
Hyundai
IVECO
JAC Motors
LGMG
MAN
Shaanxi
SITRAK
Studebaker
Tata
Volvo
Автокомпонент Плюс
БелАЗ
Брянский Арсенал
ГАЗ
ЗИЛ
КАЗ
Камский автозавод
КрАЗ
Мадара
МАЗ
МЗКТ
МоАЗ
Нефтекамский автозавод
Ставропольский Завод АвтоПрицепов
ТАТРА
Тонар
УралАЗ
ЧМЗАП
Модель
Не выбрано
DFL-3250A1-K09-003-01 (2007)
DFL-3251A (2008)
DFL-3251A Euro3 (2008)
DFL-3251AW1 (2013)
DFL-3251AW1 (2017)
DFL-3251AXA Euro3 (2008)
DFL-4181A (2008)
DFL-4251A (2008)
DFL-4251A8-T31R-931-02 (2011)
DFL-4251AXA Euro3 (2014)
DFL4251A-T04-930-00CA (2007)
EQ-1074 (2006)
L3251A3 (вар.) (2007)
Схема
>
Не выбрано
Engine Assembly
Relay Installation Bracket Subassembly
Nameplate Subassembly
Cylinder Body Subassembly
Cylinder Body Pipeline Connection Subassembly
Cylinder Body Cooling Pipeline Subassembly
Gear Housing Subassembly
Crankcase Ventilation Subassembly
Air Compressor Cooling Water Pipe Subassembly
A/C Drive Subassembly
Air Conditioner Subassembly
Coolant Auxiliary Connecting Pipe Subassembly
Air Compressor Intake Pipe Subassembly
Transmission First Front Bearing
Air Compressor Subassembly
Torsional Vibration Damper Subassembly
Earth Wire Subassembly
Exhaust Brake Subassembly
Thermostat Subassembly
Mark Subassembly
Generator Subassembly
Generator Installation Subassembly
Engine Front Suspension Bracket Subassembly
Sensor Assembly
Fan Drive Subassembly
Fan Drive Subassembly
Supercharger Compensation Connecting Pipe Subassembly
Fuel Filter Subassembly
Fuel Filter Connecting Pipeline Subassembly
Flywheel Case Subassembly
Fuel Pump Installation Subassembly
Basic Fuel Pump Subassembly
Fuel Transfer Pump Assembly
Fuel Pipeline Subassembly
Fuel Cut Solenoid Valve Subassembly
Flywheel Installation Subassembly
Flywheel Subassembly
Gear Housing Cover Installation Subassembly
Gear Housing Cover Subassembly
Warm Air Blower Installation Subassembly
Hydraulic Steering Pump Subassembly
Air Inlet Connection Subassembly
Intake Manifold Subassembly
Engine Lifting Lug Installation Subassembly
Engine Lifting Lug Subassembly
Engine Oil Cooler Subassembly
Oil Filter Subassembly
Oil Level Gauge Subassembly
Engine Oil Subassembly
Oil Pump Subassembly
Throttle Control Subassembly
Cylinder Body Filler Subassembly
Cylinder Body Filler Subassembly
Oil Sump Subassembly
Accessory Driving Pulley Subassembly
Functional Part Subassembly
Supercharger Subassembly
Fuel Injector Pipeline Subassembly
Cylinder Cap Pipeline Subassembly
Cylinder Cap
Rocking Arm Subassembly
Engine Exhaust Pipe Subassembly
Water Temperature Sensor Subassembly
Pressure Warning Sensor Subassembly
Starter Installation Subassembly
Paint Subassembly
Starter Subassembly
Supercharger Positioning Subassembly
Torque Converter Cooling Subassembly
Supercharger Pipeline Subassembly
Air Valve Chamber Cover Subassembly
Water Filter Position Subassembly
Water Inlet Connecting Pipe Subassembly
Water Outlet Connecting Pipe Subassembly
Water Pump Subassembly
Belt Tensioner Subassembly
Water Pump Accessory Drive Subassembly
Supercharger Exhaust Connection Subassembly
Engine Front Suspension Subassembly-Complete Vehicle
Engine Rear Suspension Subassembly-Engine
Engine Auxiliary Suspension Subassembly-Complete Vehicle
Engine Level Gauge Installation Subassembly-Complete Vehicle
Fuel Tank Installation Subassembly
Fuel Tank Subassembly
Fuel Supply Pipeline Subassembly-Complete Vehicle, Main Fuel Tank
Fuel Supply Pipeline Subassembly-Engine
Fuel Return Pipeline Subassembly
Fuel Primary Filter Subassembly
Fuel Primary Filter Installation Subassembly
Throttle Control Installation Subassembly-Complete Vehicle
Control Cable Auxiliary Fixing Wire
Air Filter Subassembly
Air Filter Installation Subassembly
Intake Pipe Subassembly-From Air Filter to Engine
Air Filter Clog Alarm
Air Compressor Intake Pipe Subassembly
Intercooler Subassembly
Intercooler Fastener
Intercooler Pipeline Subassembly
Muffler Subassembly
Muffler Installation Subassembly
Muffler Intake Pipe Subassembly
Muffler Exhaust Pipe Subassembly
Supercharger Outlet Connecting Pipe Subassembly
Radiator Subassembly
Radiator Protection Subassembly
Radiator Installation Subassembly
Radiator Water Inlet / Outlet Pipe Subassembly
Fan Subassembly
Fan Fastener
Fan Cowl Subassembly
Expansion Tank Subassembly
Expansion Tank Installation Subassembly
Air Removal Circulation Pipeline Subassembly-Complete Trailer
Clutch Subassembly
Clutch Case Installation Subassembly
Clutch System Pipeline Subassembly-To Transmission
Clutch Booster Subassembly
Gear Control Handle Subassembly
Gear Control Lever Subassembly
Gear Lever Subassembly Single Lever
Transmission Assembly
Clutch & Transmission Case Assembly
Second Shaft Assembly
Left/Right Counter Shaft Assembly
First Shaft Assembly
Reverse Gear Counter Shaft Assembly
Upper Cover Assembly
Control Assembly
Air Filter Adjuster Assembly
Auxiliary Gearbox Driving Gear Assembly
Auxiliary Gearbox Main Shaft Assembly
Auxiliary Gearbox Left/Right Counter Shaft
Rear Cover Assembly
Auxiliary Gearbox Cylinder Assembly
QH7 Power Takeoff Assembly
Driving Shaft Subassembly
Middle Driving Shaft & Support Assembly
Driving Shaft & Sliding Fork Assembly
Driving Shaft & Spline Shaft Fork Assembly
Vehicle Frame & Bracket Assembly
Engine Rear Suspension Subassembly-Vehicle Frame
Engine Front Suspension Subassembly-Rivetted and Welded Vehicle Frame
Engine Auxiliary Suspension Subassembly-Rivetted and Welded Vehicle Frame
Cross Beam Subassembly-Reinforced Beam
Cross Beam Subassembly Front
Cross Beam Subassembly-Equilibrium Suspension
Cross Beam Subassembly-Rear
Rear Towing Attachment Subassembly
Front Towing Hook Subassembly
Cross Beam Subassembly-Second Cross Beam
Cover Plate Subassembly
U-Bolt Subassembly
Front Leaf Suspension Installation Subassembly-Trailer Frame
Spring Pin Subassembly
Lifting Lug Subassembly
Vibration Damper Upper Pin & Fastener
Vibration Damper Lower Bracket & Lower Pin Subassembly
Vibration Damper Lifting Lug Connecting Rod
Stopper Subassembly
Equilibrium Suspension Connection Subassembly-Cover Plate, Bolt
Equilibrium Suspension Installation Subassembly-Trailer Frame
Equilibrium Suspension Installation Subassembly-Balancing Shaft
Side Guard Subassembly
Front Leaf Spring Subassembly
Rear Leaf Spring Subassembly
Vibration Damper Subassembly
Rear Thrust Rod Subassembly
Front Axle Assembly
Front Axle Subassembly
Front Wheel Hub & Brake Drum Subassembly
Tie Rod Subassembly
Front Left Brake Subassembly
Front Right Brake Subassembly
Front Left Brake Adjusting Arm
Front Right Brake Adjusting Arm
Assembly
Rear Axle Installation Subassembly
Rear Axle Case Subassembly
Rear Axle Main Retarder Assembly
Rear Left Brake Subassembly
Rear Right Brake Subassembly
Middle Axle Assembly
Middle Axle Installation Subassembly
Middle Axle Case Subassembly
Middle Axle Main Retarder
Middle Left Brake Subassembly
Middle Right Brake Subassembly
Wheel End Retarder Assembly
Clutch System Steel Pipe Subassembly-Complete Trailer
Inter-axle Differential Lock Control Pipeline Subassembly
Wheel Assembly
Front Wheel Nut Subassembly
Rear Wheel Nut Subassembly
Spare Type Fixing Hook Subassembly
Extended Type Valve Subassembly
Steering Gear Bracket Subassembly
Monoblock Power Steering Gear Assembly
Power Steering Pipeline Subassembly
Power Steering Oil Reservoir Subassembly
Tie Rod Subassembly
Diagram of Exhaust Brake Pipeline
Front/Rear Air Reservoir Subassembly
One Way Valve Subassembly
Differential Valve Subassembly
Quick Release Valve Subassembly
Exhaust Brake Subassembly
Load Apportioning Valve Subassembly
Load Apportioning Valve Pull Rod Subassembly
Air Drier Subassembly
Front ABS
Rear ABS
Battery Subassembly
Electric Horn Subassembly
Vehicle Frame Harness Subassembly
Power Cord Subassembly
Earth Wire Subassembly
Engine Harness Subassembly
Starter Relay Subassembly
Intake Preheating Relay Subassembly
Main Power Switch Subassembly
Solenoid Valve Subassembly
Rear Combination Lamp Subassembly
Back-up Buzzer Subassembly
Fuel Level Sensor Subassembly
Air Filter Clog Sensor Subassembly
Speedometer Sensor
Water Level Warning Sensor Subassembly
Power Takeoff Controller Subassembly
Jack Subassembly
Tool Box Subassembly
Driver Tool Subassembly
Cab Assembly
Accelerator Pedal Subassembly
Throttle Drive Subassembly
Throttle Cable Subassembly
Idle Throttle Controller Subassembly
Air Inlet Pipe Subassembly-Cab
Clutch Pedal Subassembly
Clutch Master Cylinder Subassembly
Oil Storage Tank Subassembly
Clutch System Pipeline Subassembly-Cab
Gearbox Control Bracket
Steering Drive Subassembly
Brake Pedal Subassembly
Hand Brake Pipeline Subassembly-Cab
Exhaust Brake Valve Subassembly
Hand Brake Valve Subassembly
ABS ECU Subassembly
Comprehensive Alarm Controller Subassembly
Dome Lamp Subassembly
Maintenance / Working Lamp Subassembly
Step Lamp Subassembly
Reading Lamp Subassembly
Air Horn Subassembly
Fuse Box Subassembly
Cab Harness Subassembly
Vehicle Door Harness Subassembly
Dome Harness Subassembly
Front Wall Harness Subassembly
Bumper Harness Subassembly
Cab Floor Harness Subassembly
Cab Floor Lower Harness Subassembly
Front Wall Harness Sheet Guard Subassembly
Cigarette Lighter Subassembly
Turn Lamp Subassembly
Front Outline Lamp Subassembly
Front Fog Lamp Subassembly
Relay Subassembly-Cab
Flasher Subassembly
Exhaust Brake Linked Relay Subassembly
Wiper Relay Subassembly
A/C Warm Air Blower Relay Subassembly
Front Fog Lamp Relay Subassembly
Windscreen Washer Subassembly
Rocker Switch Subassembly
Preheating Switch Subassembly
Door Lamp Switch Subassembly
Differential Lock Switch Subassembly
Power Take/Lifting Switch Subassembly
Clutch Brake Lamp Switch Subassembly
Clutch Switch Subassembly
ABS Switch Subassembly
Power Takeoff Switch Subassembly
Front Fog Lamp Switch Subassembly
Switch Blanking Cover Subassembly-Electric Rearview Mirror Switch
Switch Blanking Cover Subassembly-Rocker Switch
Reflector Subassembly
Preheating Controller Subassembly
Front Combination Lamp Subassembly
Combination Switch Subassembly
Radio & CD Player Subassembly
Combination Instrument Subassembly
Air Pressure warning Sensor Subassembly
Buzzer Subassembly
Fire Extinguisher Subassembly
Front Logo Subassembly
Cab Weld Assembly Connection Subassembly
Cab Plug Subassembly
Cab Front Suspension Subassembly-T1 Semi-floating
Cab Rear Suspension Subassembly -T1 Flat-roof Semi-floating
Cab Outside Logo Subassembly-375PS
Cab Outside Logo Subassembly-Dongfeng Logo (Engineering Truck)
Tilt Cylinder Subassembly
Tilt Oil Cylinder Installation Subassembly-Cab
Tilting Oil Pump Subassembly
Floor Decoration Subassembly
Gear Shift Lever Decoration Subassembly
Driver Side Glove Box Subassembly
Passenger Side Glove Box Subassembly
Steering Wheel Subassembly
Steering Column Decoration Subassembly
Cab Carpet Subassembly
Floor Lower Insulating Mattress Subassembly
Floor Cushion Blocking Subassembly
Wiper Subassembly
Front Windscreen & Sealing Strip Subassembly
Front Wall Face Shield Subassembly
Front Wall Face Shield Subassembly
Front Wall Outside Plate Subassembly
Instrument Board Glove Box Subassembly
Instrument Board Subassembly
Instrument Frame Subassembly
Instrument Board Subassembly
Left Wall Interior Decoration Subassembly
Right Side Wall Interior Decoration Subassembly
Left Side Wall Window Subassembly
Right Side Wall Window Subassembly
Rear Wall Interior Decoration Subassembly
Rear Window Subassembly
Top Cover Interior Decoration Subassembly
Top Cover Glove Box Subassembly
Driver Seat Belt Subassembly
Passenger Seat Belt Subassembly
Left Door Weld Subassembly-With No Bar Fender and Visible Window
Right Door Weld Subassembly-With No Bar Fender and Visible Window
Door Buffer Subassembly
Front Left Door Decoration Subassembly
Front Right Door Decoration Subassembly
Left Door Window Subassembly
Right Door Window Subassembly
Left Glass Lifter Subassembly
Right Glass Lifter Subassembly
Ignition Lock & Door Lock (Hand-operated, With No Visible Window) Subassembly
Left Door Sealing Strip Subassembly
Right Door Sealing Strip Subassembly
Driver Seat Subassembly
Passenger Seat Subassembly
Berth Subassembly
GPS Subassembly
Warm Air Blower Subassembly
Warm Air Blower Pipeline Subassembly
Warm Air Blower Water Inlet / Outlet Pipe Subassembly
Warm Air Blower Water Pipe Subassembly
Ventilation Subassembly
Condenser Subassembly
A/C Pipeline Subassembly
A/C Pipeline Subassembly - Cab
A/C Controller Subassembly
Driver Side Exterior Rearview Mirror Subassembly
Passenger Side Exterior Rearview Mirror Subassembly
Driver Side Exterior Rearview Mirror Installation Subassembly - Cab
Passenger Side Exterior Rearview Mirror Installation Subassembly - Cab
Interior Rearview Mirror Subassembly
Ash Tray Subassembly
Sun Visor Subassembly
Window Curtain Subassembly
Window Curtain Sliding Rail Subassembly
Exterior Armrest Subassembly
Interior Armrest Subassembly
Lower Mirror Subassembly
Rear Left Fender Subassembly
Rear Right Fender Subassembly
Front Left Fender Subassembly
Front Right Fender Subassembly
Left Inner Fender Subassembly
Right Inner Fender Subassembly
Left Upper Wheel Cover Subassembly
Right Upper Wheel Cover Subassembly
Left Wheel Cover Subassembly - Complete Vehicle
Right Wheel Cover Subassembly - Complete Vehicle
Left Acoustic Board Subassembly
Right Acoustic Board Subassembly - Complete Vehicle
Left Footrest Subassembly - Cab
Right Footrest Subassembly - Cab
Left Footrest Subassembly - Complete Vehicle
Right Footrest Subassembly - Complete Vehicle
Front Bumper Subassembly
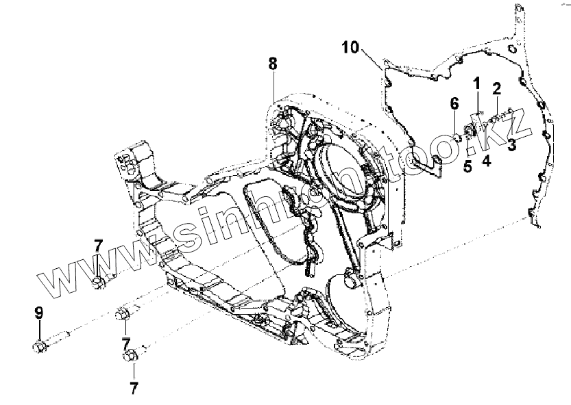
1
2
3
4
5
6
7
7
7
8
9
10
Позиция на иллюстрации
Заводской номер детали
Название детали
C3913995
C3913995
Палец для установки поршня в верхнюю мертвую точку
1
C3907998
Винт
2
C3903924
Палец
3
C3904849
Стопорное кольцо
4
C3913994
Уплотнительная шайба
5
C3919683
Втулка
6
C3915772
Уплотнительное кольцо
7
C3926846
Болт
8
C3938086
Картер блока распределительных шестерён
9
C3943885
Болт
10
C3944293
Прокладка
Содержащиеся в справочниках-каталогах запасные части и детали не предлагаются к продаже, а носят исключительно информационный характер
Дополнительная информация
×
Название:
Номер:
Примечание: