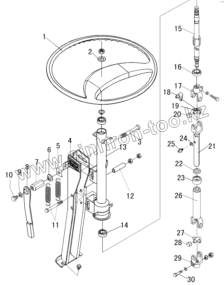
Каталог запасных частей к технике: DongFeng EQ-1074. Управление рулевое
1
2
3
4
5
6
7
8
9
10
11
12
13
14
15
16
17
18
19
20
21
22
23
24
25
26
27
28
29
30
| Позиция на иллюстрации | Заводской номер детали | Название детали | |
|---|---|---|---|
| Q40410 | Q40410 | Шайба | |
| 3404V65А-001 | 3404V65А-001 | Рулевое управление в сборе | |
| Q40308 | Q40308 | Пружинная шайба | |
| Q43120 | Q43120 | Пружинная шайба | |
| 3404V50-030 | 3404V50-030 | Крестовина с подшипниками в сборе | |
| 3405МВ-030 | 3405МВ-030 | Крестовина с подшипником в сборе | |
| 3404V65А-090 | 3404V65А-090 | Колонка рулевая с подшипником и скользящей вилкой в сборе | |
| 3404V65А-070 | 3404V65А-070 | Колонка рулевая с валом в сборе | |
| 3404V65А-045 | 3404V65А-045 | Карданный вал с соединительной вилкой в сборе | |
| 341В08 | 341В08 | Гайка | |
| Q341В10 | Q341В10 | Гайка | |
| 3404V65А-040 | 3404V65А-040 | Вилка скользящая карданного вала с соединительной вилкой в сборе | |
| 3405V65А-015 | 3405V65А-015 | Вилка скользящая карданного вала в сборе | |
| Q151В1065 | Q151В1065 | Болт | |
| 1 | 3402V50-001 | Рулевое колесо в сборе | |
| 2 | 3404С-014 | Шайба | |
| 3 | 3404QА-057-В | Болт регулировочный | |
| 4 | 3404V65-080 | Кронштейн рулевой колонки в сборе | |
| 5 | 3404QА-055 | Пластина | |
| 6 | RQ42412 | Шайба | |
| 7 | 3404QА-053-В | Гайка | |
| 8 | 3404V65-050 | Рычаг регулировочный | |
| 9 | 3404МВ-059 | Шайба | |
| 10 | 3404М-052 | Болт | |
| 11 | 3404QА-058 | Пружина | |
| 12 | 3404QF16-066 | Втулка | |
| 13 | 3404V50-015 | Корпус рулевой колонки | |
| 14 | 3404V50-032 | Втулка | |
| 15 | 3404V50-011 | Колонка рулевая | |
| 16 | 3404V50-025 | Подшипник | |
| 17 | 3405МВ-022 | Вилка соединительная | |
| 18 | Q701В90 | Масленка | |
| 19 | 3405МВ-021 | Крестовина | |
| 20 | 3405МВ-025 | Подшипник крестовины в сборе | |
| 21 | 3405МВ-016 | Вилка скользящая карданного вала рулевой колонки | |
| 22 | 3405МВ-017 | Сальник | |
| 23 | 3405МВ-018 | Крышка сальника | |
| 24 | 3405МВ-020 | Прокладка масленки | |
| 25 | Q700В06 | Масленка | |
| 26 | 3404V65А-065 | Карданный вал | |
| 27 | 3405V50-021 | Крестовина | |
| 28 | 3405V50-025 | Подшипник игольчатый | |
| 29 | 3405V50-022 | Вилка соединительная | |
| 30 | 3405V50-014 | Болт |
Содержащиеся в справочниках-каталогах запасные части и детали не предлагаются к продаже, а носят исключительно информационный характер