Вернуться на главную
Поиск
Каталоги запчастей к технике
Грузовые автомобили и прицепы
DongFeng
EQ-1074
Термостат и кронштейн генератора
Каталог запасных частей к технике: DongFeng EQ-1074. Термостат и кронштейн генератора
zoom-in
zoom-out
enlarge
shrink
circle-right
circle-left
file-text2
info
cart
Тип техники
Не выбрано
Легковые автомобили
Грузовые автомобили и прицепы
Автобусы
Сельхозтехника
Спецтехника
Двигатели
Мототехника
Марка
Не выбрано
BAW
DAF
DongFeng
FAW
Foton
HOWO
Hyundai
IVECO
JAC Motors
LGMG
MAN
Shaanxi
SITRAK
Studebaker
Tata
Volvo
Автокомпонент Плюс
БелАЗ
Брянский Арсенал
ГАЗ
ЗИЛ
КАЗ
Камский автозавод
КрАЗ
Мадара
МАЗ
МЗКТ
МоАЗ
Нефтекамский автозавод
Ставропольский Завод АвтоПрицепов
ТАТРА
Тонар
УралАЗ
ЧМЗАП
Модель
Не выбрано
DFL-3250A1-K09-003-01 (2007)
DFL-3251A (2008)
DFL-3251A Euro3 (2008)
DFL-3251AW1 (2013)
DFL-3251AW1 (2017)
DFL-3251AXA Euro3 (2008)
DFL-4181A (2008)
DFL-4251A (2008)
DFL-4251A8-T31R-931-02 (2011)
DFL-4251AXA Euro3 (2014)
DFL4251A-T04-930-00CA (2007)
EQ-1074 (2006)
L3251A3 (вар.) (2007)
Схема
>
Не выбрано
Кабина
Подвеска кабины передняя
Подвеска кабины задняя
Механизм опрокидывания кабины
Панель передняя и крыша
Пол кабины
Коврики кабины
Остекление кабины
Стеклоочиститель
Панель приборов
Стенка боковая
Стенка задняя
Дверь
Сиденья
Отопитель
Кондиционер
Установка компрессора кондиционера
Аксессуары кабины
Ремни безопасности
Облицовка кабины передняя
Брызговики
Подвеска двигателя
Блок цилиндров
Вал коленчатый
Поршень и шатун
Крышки распределительных шестерен
Вал распределительный
Головка блока цилиндров и клапанный механизм
Крышка боковая головки блока цилиндров
Маховик
Картер маховика
Крышка цилиндра
Насос масляный
Фильтр масляный и маслоохладитель
Щуп масляный
Картер масляный
Насос топливный и система впрыска топлива
Насос топливоподкачивающий
Фильтр топливный
Турбокомпрессор и выпускной коллектор
Бак топливный
Педаль управления акселератором
Система впуска воздуха
Охладитель промежуточный
Система выпуска
Насос водяной
Установка вентилятора
Термостат и кронштейн генератора
Система охлаждения
Картер сцепления
Сцепление
Сцепление
Трубопроводы управления сцеплением
Механизм управления сцеплением
Картер коробки передач
Вал первичный и шестерни коробки передач
Вал вторичный и вал заднего хода
Крышка коробки передач
Механизм управления переключением передач
Вал карданный
Вал карданный промежуточный
Картер заднего моста и полуоси
Передача главная и дифференциал
Рама
Амортизатор передний
Амортизатор задний
Подвеска передняя
Подвеска задняя
Ось передняя
Колесо
Ступица переднего колеса и тормозной барабан
Ступица заднего колеса и тормозной барабан
Подвеска запасного колеса
Управление рулевое
Тяга рулевая
Трубопроводы рулевого управления
Облицовка рулевой колонки
Тормоз передний
Тормоз задний
Управление тормозом в кабине
Педаль тормоза
Кран тормозной
Система тормозная
Установка ресиверов
Стартер и генератор
Установка аккумулятора
Жгуты проводов кабины
Освещение переднее
Жгут проводов кабины
Жгут проводов шасси
Освещение заднее
Электрооборудование кабины
Элементы электрооборудования монтажные
Комплект инструментов
Ящик инструментальный
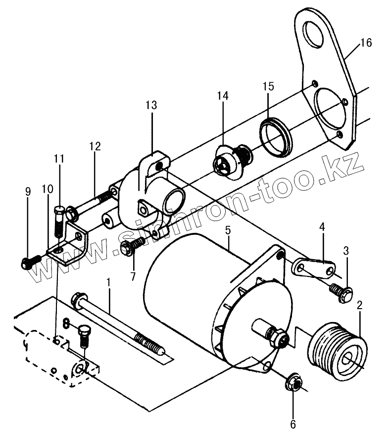
1
2
3
4
5
6
7
8
9
10
11
12
13
14
15
16
Позиция на иллюстрации
Заводской номер детали
Название детали
Q40310
Q40310
Пружинная шайба
Q40310
Q40310
Пружинная шайба
1
А3903105
Болт
2
А3920560
Шкив генератора
3
Q1841225
Болт
4
А3960350
Кронштейн генератора
5
37V66-01010
Генератор в сборе
6
Q32012
Гайка
7
А3900632
Болт
8
Q150В1025
Болт
9
Q1840825
Болт
10
А3960083
Кронштейн
11
Q150В1040
Болт
12
А3903096
Болт
13
А3960078
Корпус термостата
14
1306R2-010-В2
Термостат
15
А3923331
Уплотнитель
16
А3913929
Кронштейн передний
Содержащиеся в справочниках-каталогах запасные части и детали не предлагаются к продаже, а носят исключительно информационный характер
Дополнительная информация
×
Название:
Номер:
Примечание: