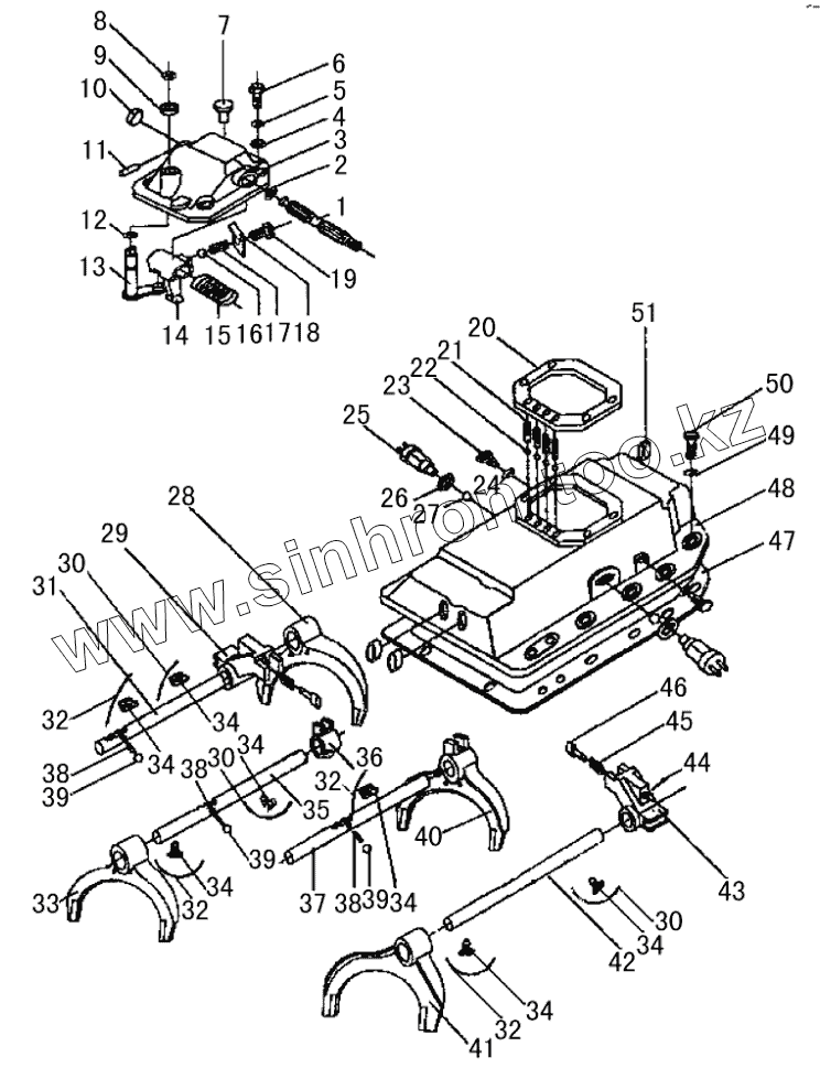
Каталог запасных частей к технике: DongFeng EQ-1074. Крышка коробки передач
1
2
3
4
5
6
7
8
9
10
11
12
13
14
15
16
17
18
19
20
21
22
23
24
25
26
27
28
29
30
30
30
31
32
32
32
32
33
34
34
34
34
34
34
34
35
36
37
38
38
38
39
39
39
40
41
42
43
44
45
46
47
48
49
50
51
| Позиция на иллюстрации | Заводской номер детали | Название детали | |
|---|---|---|---|
| 1 | 1700К1-321 | Вал | |
| 2 | 1700N-308 | Сальник | |
| 3 | 1700DЕ03-301 | Верхняя крышка | |
| 4 | Q40110 | Шайба | |
| 5 | Q40310 | Пружинная шайба | |
| 6 | Q150В1030 | Болт | |
| 7 | 1700N-350-А | Пробка | |
| 8 | Q43117 | Кольцо пружинное | |
| 9 | 1700N-334 | Шайба | |
| 10 | 1700N-303 | Прокладка | |
| 11 | 1700N-328 | Палец | |
| 12 | 1700N-331 | О-кольцо | |
| 13 | 1700К17-330-А | Рычаг выбора передач | |
| 14 | 1700К1-311 | Рычаг переключения передач | |
| 15 | 1700К1-327 | Пружина | |
| 16 | Q966095 | Шарик | |
| 17 | 1700N-313 | Пружина | |
| 18 | 1700N-314 | Стопорная пластина | |
| 19 | 1700N-312 | Опора пружины | |
| 20 | 1700К1-302 | Прокладка верхней крышки | |
| 21 | 1700С-291 | Пружина | |
| 22 | Q966111 | Шарик | |
| 23 | 1700N-257 | Болт | |
| 24 | Q40312 | Пружинная шайба | |
| 25 | 1700НY-470 | Переключатель | |
| 26 | 1700N-471 | Прокладка | |
| 27 | Q966143 | Шарик | |
| 28 | 1700К4-252 | Вилка переключения заднего хода | |
| 29 | 1700К4-253 | Направляющий блок заднего хода | |
| 30 | Q50512175 | Проволока | |
| 31 | 1700К4-251 | Вал вилки переключения заднего хода | |
| 32 | Q50512175 | Проволока | |
| 33 | 1700КТ-262-В | Вилка переключения 1-й и 2-й передач | |
| 34 | 1700КТ-254 | Болт | |
| 35 | 1700КТ-261 | Вал вилки переключения 1-й и 2-й передач | |
| 36 | 1700К4-263 | Направляющий блок 1-й и 2-й передач | |
| 37 | 1700К4-271 | Вал вилки переключения 3-й и 4-й передач | |
| 38 | 1700N-292 | Штифт | |
| 39 | Q966143 | Шарик | |
| 40 | 1700К4-272 | Вилка переключения 3-й и 4-й передач | |
| 41 | 1700К4-282 | Вилка переключения 5-й и 6-й передач | |
| 42 | 1700К4-281 | Вал вилки переключения 5-й и 6-й передач | |
| 43 | 1700К4-283 | Направляющий блок 5-й и 6-й передач | |
| 44 | Q500В3220 | Шплинт | |
| 45 | 1700JН21В-258 | Пружина | |
| 46 | 1700D4-256 | Палец | |
| 47 | 1700К1-214 | Прокладка крышки коробки передач | |
| 48 | 1700К4-215 | Крышка коробки передач | |
| 49 | Q40310 | Пружинная шайба | |
| 50 | Q150В1060 | Болт | |
| 51 | Q72222 | Прокладка | |
| 52 | 1700DЕ03-333-В | Рычаг выбора передач | |
| 53 | 1700Q08-304 | Болт |
Содержащиеся в справочниках-каталогах запасные части и детали не предлагаются к продаже, а носят исключительно информационный характер