Каталог запасных частей к технике: DongFeng EQ-1074. Головка блока цилиндров и клапанный механизм
1
2
3
4
5
5
5
5
6
7
8
9
10
11
12
13
13
14
15
16
17
18
18
19
20
20
21
21
22
22
23
24
24
25
25
26
26
27
28
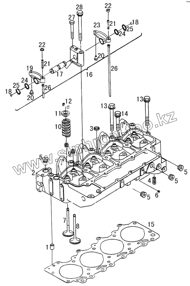
| Позиция на иллюстрации | Заводской номер детали | Название детали | |
|---|---|---|---|
| А3916691 | А3916691 | Пружина выпускного клапана | |
| А3910810 | А3910810 | Коромысло выпускного клапана в сборе | |
| А3910811 | А3910811 | Коромысло впускного клапана в сборе | |
| 1 | А3902343 | Кольцо установочное | |
| 2 | А3933422 | Головка цилиндров с заглушками | |
| 3 | А3902606 | Заглушка | |
| 4 | А3903845 | Фланец | |
| 5 | С3008468 | Заглушка | |
| 6 | RQ61901-J8 | Заглушка | |
| 7 | А3901117 | Клапан впускной | |
| 8 | А3901607 | Клапан выпускной | |
| 9 | 3921640 | Уплотнитель | |
| 10 | А3900276 | Пружина впускного клапана | |
| 11 | А3900299 | Тарелка пружины | |
| 12 | 3900250 | Сухарь | |
| 13 | А3903939 | Болт | |
| 14 | А3903938 | Болт | |
| 15 | А3921393 | Прокладка | |
| 16 | А3910815 | Клапанный механизм в сборе | |
| 17 | А3910814 | Вал коромысел | |
| 18 | А3907555 | Заглушка | |
| 19 | А3910809 | Коромысло впускного клапана | |
| 20 | А3900705 | Винт регулировочный | |
| 21 | А3900706 | Болт | |
| 22 | А3960358 | Гайка | |
| 23 | А3910808 | Коромысло выпускного клапана | |
| 24 | А3900245 | Шайба | |
| 25 | Q43119 | Кольцо пружинное | |
| 26 | А3904679 | Толкатель | |
| 27 | Q150В0875 | Болт | |
| 28 | А3903940 | Болт головки цилиндров |
Содержащиеся в справочниках-каталогах запасные части и детали не предлагаются к продаже, а носят исключительно информационный характер