Каталог запасных частей к технике: DongFeng EQ-1074. Аксессуары кабины
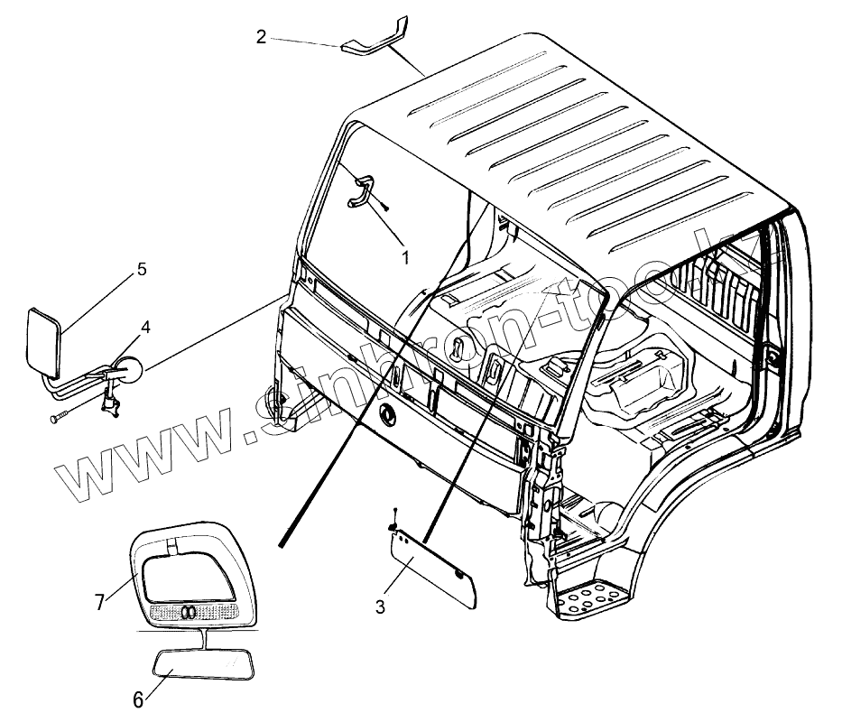
1
2
3
3
4
4
5
5
6
7
| Позиция на иллюстрации | Заводской номер детали | Название детали | |
|---|---|---|---|
| RQ2160516 | RQ2160516 | Винт | |
| Q2760616-Z5 | Q2760616-Z5 | Шуруп | |
| Q2760520-Z5 | Q2760520-Z5 | Шуруп | |
| Q2760520-Z5 | Q2760520-Z5 | Шуруп | |
| Q2760616 | Q2760616 | Шуруп | |
| Q2703516 | Q2703516 | Шуруп | |
| RQ42306 | RQ42306 | Тарельчатая пружинная шайба | |
| RQ42305 | RQ42305 | Тарельчатая пружинная шайба | |
| Q40306 | Q40306 | Пружинная шайба | |
| Q40106-Y | Q40106-Y | Плоская шайба | |
| 82V66-04012 | 82V66-04012 | Кронштейн солнцезащитного козырька | |
| 8219Q68-010 | 8219Q68-010 | Зеркало нижнего обзора | |
| RQ2160625 | RQ2160625 | Винт | |
| RQ1760625 | RQ1760625 | Болт направляющий | |
| 1 | 82V66-00010 | Поручень передний | |
| 2 | 82V66-00020 | Поручень боковой | |
| 3 | 82V66-04010 | Козырек солнцезащитный правый | |
| 3 | 82V66-04009 | Козырек солнцезащитный левый | |
| 4 | 82V66-02010 | Механизм регулировки зеркала заднего вида правый | |
| 4 | 82V66-02009 | Механизм регулировки зеркала заднего вида левый | |
| 5 | 8202Q68-020 | Зеркало заднего вида правое | |
| 5 | 8202Q68-010 | Зеркало заднего вида левое | |
| 6 | 82V66-01010 | Зеркало заднего вида внутреннее | |
| 7 | 57V66-02030 | Ящик вещевой верхний с лампой |
Содержащиеся в справочниках-каталогах запасные части и детали не предлагаются к продаже, а носят исключительно информационный характер