Вернуться на главную
Поиск
Каталоги запчастей к технике
Грузовые автомобили и прицепы
DongFeng
DFL-4251AXA Euro3
8101B-C0100 Трубопроводы отопителя
Каталог запасных частей к технике: DongFeng DFL-4251AXA Euro3. 8101B-C0100 Трубопроводы отопителя
zoom-in
zoom-out
enlarge
shrink
circle-right
circle-left
file-text2
info
cart
Тип техники
Не выбрано
Легковые автомобили
Грузовые автомобили и прицепы
Автобусы
Сельхозтехника
Спецтехника
Двигатели
Мототехника
Марка
Не выбрано
BAW
DAF
DongFeng
FAW
Foton
HOWO
Hyundai
IVECO
JAC Motors
LGMG
MAN
Shaanxi
SITRAK
Studebaker
Tata
Volvo
Автокомпонент Плюс
БелАЗ
Брянский Арсенал
ГАЗ
ЗИЛ
КАЗ
Камский автозавод
КрАЗ
Мадара
МАЗ
МЗКТ
МоАЗ
Нефтекамский автозавод
Ставропольский Завод АвтоПрицепов
ТАТРА
Тонар
УралАЗ
ЧМЗАП
Модель
Не выбрано
DFL-3250A1-K09-003-01 (2007)
DFL-3251A (2008)
DFL-3251A Euro3 (2008)
DFL-3251AW1 (2013)
DFL-3251AW1 (2017)
DFL-3251AXA Euro3 (2008)
DFL-4181A (2008)
DFL-4251A (2008)
DFL-4251A8-T31R-931-02 (2011)
DFL-4251AXA Euro3 (2014)
DFL4251A-T04-930-00CA (2007)
EQ-1074 (2006)
L3251A3 (вар.) (2007)
Схема
>
Не выбрано
5000012-С0143-02 Кабина в сборе
1108A-C0102 Электронная педаль акселератора
1109K-C0102 Труба воздухозаборная
1602D-C0100 Педаль сцепления
1604A-C0100 Главный цилиндр сцепления
1606A-C0100 Бачок сцепления
1606C-C0101 Трубопровод гидросистемы сцепления
1703C5-ZD2A Рычаг управления коробкой передач
3404A-C0100 Привод рулевого механизма
3504A-C0100 Педаль тормоза
3506R-C0100 Трубопроводы стояночного тормоза
3514-C0104 Тормозной кран
3517A-C0100 Управление стояночным тормозом
3638A-C0100 Реле комплексной сигнализации
3704A-C0100 Замок зажигания
3714A-C0100 Потолочная лампа
3714B-C0100 Сервисная лампа
3714F-C0100 Боковая лампа для чтения
3721B-C0100 Воздушный звуковой сигнал
3722A-C0100 Блок предохранителей
3724D-C0167 Пучок проводов в кабине
3724J-C0104 Пучки проводов дверей
3724K-C0100 Пучок проводов потолка кабины
3724M-C0200 Пучок проводов передней стенки кабины
3724N-C0101 Пучок проводов бампера
3724P-C0101 Пучки проводов пола кабины
3724Q-C0100 Пучок проводов под полом кабины
50ZXC97-00010A Изменение конструкции кабины
50ZXC97-00010A Блок управления раздаточной коробкой и включения блокировок дифференциалов
50ZXC97-00010A Зуммер
3724Z-C0100 Защитная панель переднего пучка проводов
3725A-C0100 Прикуриватель
3726A-C0100 Боковой указатель поворота
3731A-C0100 Передние габаритные фонари и фонари знака автопоезда
3735A-C0200 Реле
3735D-C0102 Реле указателей поворота
3735M-C0100 Реле стеклоочистителя
3735N-C0100 Реле кондиционера
3735W-C0100 Реле передних противотуманных фар
3747A-C0100 Омыватель лобового стекла
3750A-C0100 Выключатели
3750130-C0100 Выключатель массы
3750D-C0100 Выключатель лампы двери
3750H-C0100 Выключатель тормозной лампы
3750I-C0100 Выключатель сцепления
3750T-C0100 Выключатель передних противотуманных фар
3751X-C0100 Заглушка выключателя электропривода зеркала заднего вида
3751Y-C0100 Заглушка клавишных выключателей на щитке
3763A-C0100 Светоотражатель
3772A-C0100 Передние комбинированные фары
3774A-C0100 Подрулевой переключатель
3775A-C0100 Автомагнитола
3800A-C0167 Комбинация приборов
3816C-C0100 Датчики давления воздуха
3819A-C0100 Многофункциональный звуковой сигнал (зуммер)
3910A-C0100 Огнетушитель
5000D-C0100 Передняя эмблема
5000K-C0100 Присоединения для сварки в кабине
5000M-C0100 Заглушки кабины
5001A-ZXC73 Передняя подвеска кабины
5001B-C0302 Задняя подвеска кабины
5001C-C0106 Наружный знак кабины — 375 лс
5003A-C0100 Гидроцилиндр подъема кабины
5003B-C0100 Крепление гидроцилиндра подъема кабины
5005A-C0105 Масляный насос механизма подъема кабины
5101A-C0100 Пол кабины в сборе
5102B-C0100 Интерьер пола
5102J-C0104 Чехол рычага переключения передач
5103A-C0100 Ящик для мелких вещей
5103B-C0100 Средний ящик для мелких вещей
5104A-C0100 Рулевое колесо
5104B-C0100 Облицовка рулевой колонки
5109A-C0101 Напольный коврик кабины
5110B-C0100 Теплоизоляционная накладка пола
5111B-C0100 Противовибрационная накладка пола
5205A-C0100 Стеклоочиститель в сборе
5206A-C0100 Лобовое стекло
5301C-C0100 Передняя панель и решетка радиатора
5301E-C0100 Передняя панель
5301J-C0100 Передний обтекатель
5301P-C0100 Нижняя упорная плита переднего обтекателя
5303A-C0100 Ящики для вещей панели приборов
5305A-C0100 Кронштейны панели приборов
5305B-C0103 Панель приборов
5401A-C0100 Левая боковина
5401B-C0100 Правая боковина
5402A-C0100 Внутренняя отделка левой боковины
5402B-C0100 Внутренняя отделка правой боковины
5403A-C0100 Левая вентиляционная накладка
5403B-C0100 Правая вентиляционная накладка
5601A-C0100 Задняя панель
5602A-C0100 Внутренняя отделка задней панели
5603A-C0100 Заднее стекло
5701A-C0104 Крыша кабины
5702A-C0104 Внутренняя отделка крыши кабины
5704A-C0103 Верхний ящик для мелких вещей
5810A-C0100 Ремень безопасности водителя
5810B-C0100 Ремень безопасности пассажира
6101A-C0102 Дверь левая в сборе
6101B-C0102 Дверь правая в сборе
6101C-C0100 Буфер двери кабины
6102A-C0103 Внутренняя отделка левой двери
6102B-C0103 Внутренняя отделка правой двери
6103A-C0100 Стекло левой двери
6103B-C0100 Стекло правой двери
6104A-C0100 Левый стеклоподъемник в сборе
6104B-C0100 Правый стеклоподъемник в сборе
6105A-C0100 Замок левой двери
6105B-C0100 Замок правой двери
6107A-C0100 Уплотнители левой двери
6107B-C0100 Уплотнители правой двери
6800A-C0100 Сиденье водителя
6900A-C0100 Сиденье пассажира
7600A-C0102 Спальная полка
7920A-C0101 Навигатор GPS
50ZX289 Звукоизоляционная накладка
8101A-C0100 Отопитель в сборе
8101B-C0100 Трубопроводы отопителя
8101C-C0106 Подводящий и отводящий трубопроводы отопителя
8102A-C0100 Воздуховоды системы отопления
8103A-C0101 Система вентиляции кабины
8105A-C0103 Радиатор кондиционера
8108A-C0103 Трубопроводы кондиционера
8112A-C0101 Блок управления кондиционером
8201A-C0100 Наружное левое зеркало заднего вида
8201B-C0100 Наружное правое зеркало заднего вида
8201C-C0100 Крепление наружного левого зеркала заднего вида
8201D-C0102 Крепление наружного правого зеркала заднего вида
8201E-C0100 Внутреннее зеркало заднего вида
8203A-C0100 Пепельница
8204A-C0100 Солнцезащитный козырек
8205B-C0100 Направляющие оконной шторы
8211A-C0100 Наружные передние поручни
8211B-C0100 Внутренние поручни
8219A-C0100 Зеркало нижнего обзора
8220A-C0100 Наружное зеркало бокового обзора
8220В-C0100 Держатель наружного зеркала бокового обзора
8403A-C0100 Задний левый брызговик
8403B-C0100 Задний правый брызговик
8403C-C0101 Передний левый брызговик
8403D-C0101 Передний правый брызговик
8403E-C0100 Левый внутренний брызговик
8403F-C0100 Правый внутренний брызговик
8403G-C0100 Верхний брызговик левого колеса
8403H-C0100 Верхний брызговик правого колеса
8403J-C0101 Нижний брызговик левого колеса
8403K-C0101 Нижний брызговик правого колеса
8403L-C0100 Левая звукоизоляционная панель
8403M-C0100 Правая звукоизоляционная панель
8405A-C0102 Левая подножка кабины
8405B-C0102 Правая подножка кабины
8405C-C0102 Левая подножка
8405D-C0102 Правая подножка
8406A-C0101 Передний бампер
1001-ZXC97 Двигатель в сборе
1001B-ZXC98 Передняя подвеска двигателя
1001C-K2000 Задняя подвеска двигателя
1001C-K2000 Вспомогательная подвеска двигателя
1001H-T1400 Установка масляного щупа
1101B-ZXC97 Кронштейны топливного бака
1101B-ZXC97 Хомуты топливного бака
1101F-ZXC98 Топливный бак
1104A-ZXC97 Трубопровод системы питания
1104A-ZXC97 Трубопровод системы питания
1104C-ZXC97 Трубопровод дренажный системы питания
1109A1-ZXC73 Воздушный фильтр двигателя
1109B-T1000 Кронштейны воздушного фильтра
1109C-T2200 Воздухопроводы системы впуска
1109J-ZXC99 Сигнализатор засоренности воздушного фильтра
1118A1-ZB6 Промежуточный охладитель воздуха
1118B1-ZB6 Крепление промежуточного охладителя
1118A1-ZB6 Крепление и воздухопроводы промежуточного охладителя
1105A-ZXC73 Топливный фильтр предварительной очистки
1105B-ZXC73 Кронштейн крепления топливного фильтра предварительной очистки
1201A-ZXC97 Глушитель
1201B-ZXC97 Крепление глушителя
1203А-ZXC97 Трубы системы выпуска газов
1203G-T2201 Выпускной соединительный патрубок турбокомпрессора
1301A2-ZB6 Радиатор системы охлаждения
1301B-ZXC97 Защита радиатора
1302A-T2201 Крепление радиатора системы охлаждения
1303A-ZXC97 Входной и выходной патрубки радиатора системы охлаждения
1308A1-ZB7C Вентилятор
1308B-K2000 Крепление вентилятора
1309А-Т2201 Диффузор вентилятора
1311A-T0500 Расширительный бачок
1311B-T0300 Крепление расширительного бачка
1311C-ZXC97 Трубопроводы для удаления воздуха из двигателя
1302A-ZXC97 Передняя подножка в сборе
1600А-ZXD01 Сцепление в сборе
1600A-ZXD01 Крепление картера сцепления
1606D-ZXD01 Стальные трубопроводы системы сцепления
1603Е3-ZB3 Гибкие трубопроводы системы сцепления (задние)
1606G-ZXD01 Гибкие трубопроводы системы сцепления (передние)
1608А-ZXD01 Пневмогидроусилитель сцепления
1608С-ZB7F0 Трубопровод
17Е56 Коробка передач в сборе
RT-11509G-01 Картер сцепления Картер коробки передач
RT-11509G-02 Вторичный вал
RT-11509G-03 Промежуточные валы
RT-11509G-04 Первичный вал
RT-11509G-05 Промежуточная ось передачи заднего хода
RT-11509G-06 Механизм переключения передач
RT-11509G-07 Механизм управления в сборе
RT-11509G-08 Регулятор давления воздуха
RT-11509G-09 Шестерня привода промежуточных валов демультипликатора
RT-11509G-10 Вал, шестерня, синхронизатор демультипликатора
RT-11509G-11 Промежуточные валы демультипликатора
RT-11509G-12 Задняя крышка
RT-11509G-13 Механизм переключения передач демультипликатора
RT-11509G-14 Тормоз промежуточного вала в сборе
RT-11509G-15 QH70 КОМ в сборе
1703А-Т0300 Рукоятка рычага переключения передач
1703В-Т0500 Тяга и рычаг переключения передач
1703F-ZB7F0 Тяга управления коробкой передач
17Е56 Тросовый механизм управления коробкой передач
1703U-T0500 Трубопровод управления коробкой передач
4205В-Т1401 Трубопроводы управления КОМ
18Е55 Раздаточная коробка в сборе
18Е55 Входной вал
18Е55 Промежуточный вал
18Е55 Дифференциал в сборе
18Е55 Передний выходной вал в сборе
18Е55 Маслоотражательные пластины, механизм переключения передач
18Е55 Промежуточный и входной валы в сборе
18Е55 Задняя крышка в сборе
18Е55 Масляный насос с выходным фланцем
18Е55 Механизм переключения передач в сборе
18Е55 Масляный трубопровод
18Е55 Пробки, заглушки, сапун, рым-болт
1801B-ZXD01 Кронштейны крепления раздаточной коробки
2201A-Е55 Карданные валы
2201A-Е55 Карданный вал заднего моста
2201A-Е55 Карданный вал раздаточной коробки
2201A-Е55 Карданный вал переднего моста
2201A-Е55 Карданный вал среднего моста
1001E-T1400 Кронштейн задней опоры двигателя
1001G-T2200 Кронштейн передней опоры двигателя
1001J-T0500 Кронштейн вспомогательной опоры двигателя
28ZXC97 Рама в сборе
2801A-ZXC97 Лонжероны рамы
2801B-ZXC99 Лонжероны рамы
2801I-ZX303 Первая поперечина
2831A-ZXC97 Вторая поперечина
2831B-ZXC97 Четвертая поперечина
2801P-ZXC97 Поперечина балансирной подвески
2801Q-ZXC97 Задняя поперечина
2806A-ZX303 Передняя буксирная петля
2810D-ZXC97 Передние брызговики среднего и заднего мостов
2810D-ZXC97 Задние брызговики среднего и заднего мостов
2810E-ZXC99 Брызговик среднего и заднего моста
2901A-ZXC97 Буфер отбоя передней рессоры
2901B3-ZXC97 Стремянка передней рессоры
2901C-T1401 Кронштейны передней подвески
2901D3-01 Палец передней рессоры
2901D3-01 Серьга передней рессоры
2901H1-05 Крепление амортизатора
2901I1-ZXC97 Крепление амортизатора
2901J1-ZXC97 Крепление амортизатора
29Е56 Буфер отбоя задней рессоры
2904A-T1100 Крепление задней рессоры
2904C-T1400 Кронштейн буфера отбоя
29Е56 Ось балансирной подвески
2904F-ZXC97 Кронштейн оси балансирной подвески в сборе
2904G-ZXC97 Ограничитель осевого перемещения балансирной подвески
2912-ZXC97 Передняя рессора
2931A-T1100 Задняя рессора
2921A3-04 Амортизатор передней подвески
2931B-ZXC97 Реактивные штанги
B23NFA71-A Редуктор переднего моста
B23NFA71-A Дифференциал переднего моста
B23NFA71-A Полуоси, поворотная цапфа переднего моста
B23NFA71-A Ступица, колесный редуктор переднего моста
B23NFA71-A Тормозной механизм переднего моста
DH7131400305 Задний мост
DH7131400305 Картер заднего моста
DH7131400305 Редуктор главной передачи и дифференциал заднего моста
DH7131400305 Ступица колеса заднего моста
DH7131400305 Колесный редуктор заднего моста
DH7131400305 Тормоз колеса заднего моста
DH7131400305 Привод тормоза колеса заднего моста
DH7131400305 Кронштейн подвески заднего моста
DH7131400305 Средний мост
DH7131400305 Картер среднего моста
DH7131400305 Межосевой дифференциал
DH7131400305 Редуктор главной передачи среднего моста
DH7131400305 Дифференциал среднего моста
DH7131400305 Ступица колеса среднего моста
DH7131400305 Колесный редуктор среднего моста
DH7131400305 Тормоз колеса среднего моста
DH7131400305 Привод тормоза колеса среднего моста
DH7131400305 Кронштейн подвески среднего моста
3101A-ZXC97 Колесо в сборе
3101A-ZXC97 Гайки и защитный колпак переднего колеса
3101A-ZXC97 Удлиненный ниппель
P-DL387B-31-01 Механизм подъема и держатель запасного колеса
3401005A-T2200 Кронштейн рулевого механизма
3401005A-T2200 Рулевой механизм в сборе
3401005A-T2200 Сошка рулевого управления
3405A-ZXC97 Трубопроводы гидросистемы рулевого управления
3410A1-07 Масляный бак гидроусилителя
3412A-ZXC97 Продольная рулевая тяга
35ZXC97-06001 Схема тормозной системы (c ABS)
3513A-ZXC97 Воздушные ресиверы
3515A-ZXD01 Многоканальный штуцер
35GOF-ZXD01 Тройник (система ABS)
3527020-ZXD01 Дифференциальный клапан
35GOF-35ZXC97 Ускорительный клапан
3542A-ZXD01 Направляющий клапан (система ABS)
35GOF-ZXC97 Осушитель воздуха
3515N-010 Четырехканальный предохранительный клапан
3506M-35ZXC97 Блок 4-х электропневмоклапанов
35GOF-35ZXC97 Блок 5-ти электропневмоклапанов
3506E-35ZXC97 Антиблокировочная система (ABS) тормозов переднего моста
3506M-35ZXC97 Антиблокировочная система (ABS) тормозов среднего моста
3506D-35ZXC97 Антиблокировочная система (ABS) тормозов заднего моста
3703A-ZXC97 Аккумулятор
3724B-E55 Электропровода аккумулятора
3771010-К0300 Центральная распределительная коробка
3721A-T1400 Электрический звуковой сигнал
3724A-ZXC97 Пучок проводов на раме
3724A-ZXC97 Пучок проводов датчика ABS
3754A-ZXC97 Блок электропневмоклапанов
3773A2-ZB3 Задний фонарь
3819B-K0800 Сигнализатор заднего хода
3836A2-01 Датчик скорости
3827A-T3200 Топливный датчик
3833A-ZB7C0 Датчик засоренности воздушного фильтра
3839A-KC100 Датчик уровня охлаждающей жидкости
2701AC-01 Седельно-сцепное устройство
2701B-ZB7E0 Рабочая площадка
2701CC-ZD10 Кронштейн разъемов для подключения полуприцепа
2701DC-ZB7 Направляющие
QYL20 Домкрат в сборе
3919AX-010 Ящик инструментальный
3919910-T0500 Сумка инструментальная
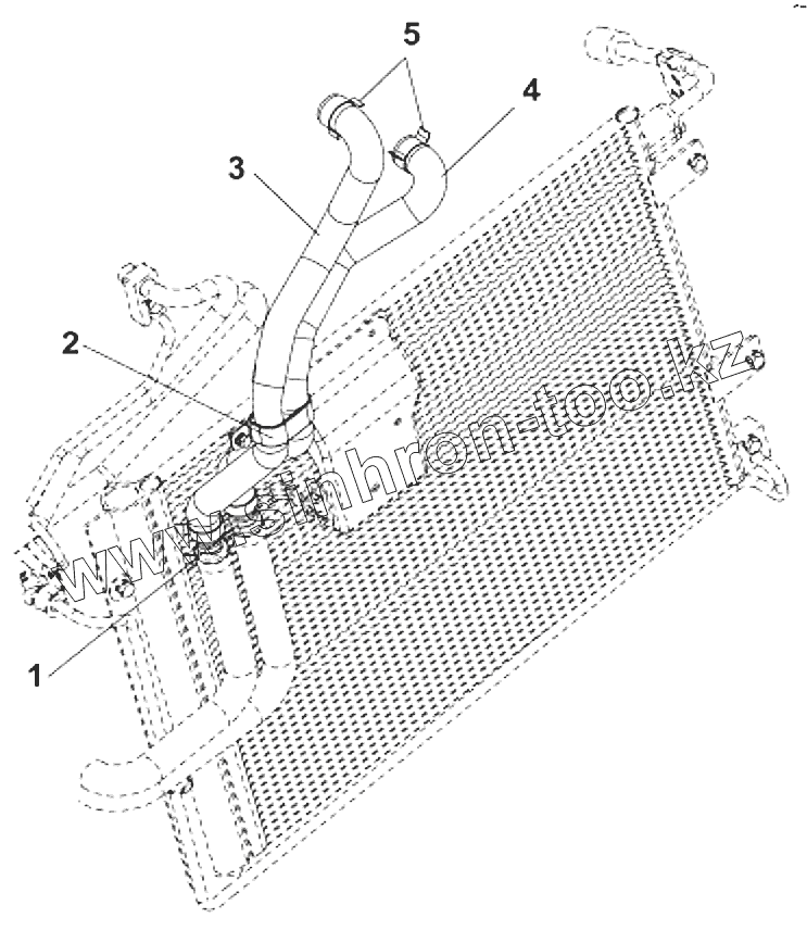
1
2
3
4
5
Позиция на иллюстрации
Заводской номер детали
Название детали
Q150B0616-Z5
Q150B0616-Z5
Болт
Q40106
Q40106
Плоская шайба
Q40306
Q40306
Пружинная шайба
Q150B1220-Z5
Q150B1220-Z5
Болт
Q40106
Q40106
Плоская шайба
Q40112
Q40112
Плоская шайба
Q40312
Q40312
Пружинная шайба
1
8101035-C0100
Шланг в сборе
2
8101050-C0100
Кронштейн трубопровода в сборе
3
8101031-C0100
Шланг в сборе
4
8101032-C0100
Шланг в сборе
5
34B04-08025
Хомут
Содержащиеся в справочниках-каталогах запасные части и детали не предлагаются к продаже, а носят исключительно информационный характер
Дополнительная информация
×
Название:
Номер:
Примечание: