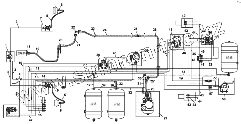
Каталог запасных частей к технике: DongFeng DFL-4181A. Распределительная схема трубопровода пневмотормоза
1
2
2
3
4
5
5
6
6
7
8
9
10
11
12
13
14
15
16
17
18
19
20
21
22
23
24
25
26
27
28
29
30
31
32
33
34
35
36
37
38
39
40
41
42
42
42
42
43
43
43
44
44
45
45
46
47
48
49
49
50
51
52
53
54
55
56
57
58
| Позиция на иллюстрации | Заводской номер детали | Название детали | |
|---|---|---|---|
| 35T01-06214 | 35T01-06214 | Держатель гибких шлангов для заднего моста | |
| 35ZB7D-06086 | 35ZB7D-06086 | Держатель | |
| Q353B27 | Q353B27 | Гайка | |
| 35ZB7-06088 | 35ZB7-06088 | Кронштейн | |
| Q353B27 | Q353B27 | Гайка | |
| 35ZB6-06622 | 35ZB6-06622 | Нижний держатель стяжной пластины отдельной трубы | |
| Q353B27 | Q353B27 | Гайка | |
| Q41018 | Q41018 | Шайба | |
| Q353B18 | Q353B18 | Тонкая гайка | |
| Q41018 | Q41018 | Шайба | |
| Q353B18 | Q353B18 | Тонкая гайка | |
| Q353B16 | Q353B16 | Гайка | |
| Q340B08 | Q340B08 | Гайка | |
| Q40308 | Q40308 | Пружинная шайба | |
| Q150B0830 | Q150B0830 | Болт | |
| 35ZB8A-06105 | 35ZB8A-06105 | Лента | |
| 35ZB7-06102 | 35ZB7-06102 | Лента хомута | |
| Q353B16 | Q353B16 | Гайка | |
| 35Z33-06142 | 35Z33-06142 | Тройник | |
| 35N-06032 | 35N-06032 | О-кольцо | |
| 35N-06027 | 35N-06027 | Гайка | |
| Q353B20 | Q353B20 | Гайка | |
| 1 | 3506933-T1400 | Технологическая компоновка клапана быстрого выпуска | |
| 2 | RQ85010150 | Нейлоновый шланг в сборе | |
| 3 | RQ8501085 | Нейлоновый шланг в сборе | |
| 4 | 3506826-T0500 | Держатель шланга | |
| 5 | Q-22N-600W | Шланг в сборе | |
| 6 | 35N-06153 | Штуцер | |
| 7 | 3506950-T0100 | Технологическая компоновка электромагнитного клапана передней правой установки ABS | |
| 8 | 3506951-T0100 | Технологическая компоновка электромагнитного клапана передней левой установки ABS | |
| 9 | RQ85010170D | Нейлоновый шланг в сборе(соединение с тормозным клапаном 22) | |
| 10 | RQ85010420C | Нейлоновый шланг в сборе | |
| 11 | RQ85010420G | Нейлоновый шланг в сборе(от штуцера трубы до ручного клапана 11) | |
| 12 | RQ85010585A | Нейлоновый шланг в сборе(от ручного клапана до дифференциального клапана) | |
| 13 | RQ85010460F | Нейлоновый шланг в сборе(соединение с ручным клапаном 11) | |
| 14 | RQ85010340M | Нейлоновый шланг в сборе | |
| 15 | RQ85010475K | Нейлоновый шланг в сборе(от ручного клапана22 до клапана прицепа) | |
| 16 | 3506518-T0500 | Нейлоновый шланг в сборе | |
| 17 | 3506516-T0500 | Нейлоновый шланг в сборе | |
| 18 | 35ZB7-06111 | Фитинг проходной трубы | |
| 19 | 3506202-T0500 | Первый воздухопровод соединения компрессора с воздухосушителем в сборе | |
| 20 | 35ZB7-06112 | Штуцер-угольник | |
| 21 | 35Z60-06050 | Высокотермостойкий шланг в сборе | |
| 22 | 35T01-06119 | Штуцер-угольник | |
| 23 | 35ZB6-06621 | Верхний держатель стяжной пластины одинарной трубы | |
| 24 | 3506204-T0500 | Второй воздухопровод соединения компрессора с воздухосушителем в сборе | |
| 25 | 35ZB3A-06108 | Штуцер | |
| 26 | 3506206-T0500 | Третий воздухопровод соединения компрессора с воздухосушителем в сборе | |
| 27 | 35ZB3A-06101 | Угольник | |
| 28 | 3506208-T0500 | Четвертый воздухопровод соединения компрессора с воздухосушителем в сборе | |
| 29 | 3543910-T0500 | Блок воздухосушителя | |
| 30 | 35Z61-06128 | Угольник | |
| 31 | 3506510-T0500 | Нейлоновый шланг в сборе | |
| 32 | 3506512-T0500 | Нейлоновый шланг в сборе | |
| 33 | 35Z06A-06127 | Угольник | |
| 34 | 3506514-T0500 | Нейлоновый шланг в сборе | |
| 35 | 35Z06A-06144 | Тройник | |
| 36 | 3606925-T0500 | Технологическая компоновка штуцеров | |
| 37 | RQ85014190A | Нейлоновый шланг в сборе | |
| 38 | RQ85010420C | Нейлоновый шланг в сборе | |
| 39 | 35ZB7-06992 | Технологическая компоновка клапанов прицепа | |
| 40 | RQ85014140F | Нейлоновый шланг в сборе | |
| 41 | 35ZB1-06927 | Технологическая компоновка дифференциального клапана | |
| 42 | 35N-06124 | Угольник | |
| 43 | RQ8501055 | Нейлоновый шланг в сборе | |
| 44 | RQ8501060 | Нейлоновый шланг в сборе | |
| 45 | RQ85010170 | Нейлоновый шланг в сборе | |
| 46 | Q-22N-500W | Гибкий шланг в сборе | |
| 47 | RQ8501051E | Нейлоновый шланг в сборе | |
| 48 | 35.6B2-06076 | Тройник | |
| 49 | 35.6B2-06071 | Штуцер-угольник | |
| 50 | 3506952-T0100 | Технологическая компоновка электромагнитного клапана установки ABS заднего моста | |
| 51 | Q-22N-450W | Гибкий шланг в сборе | |
| 52 | Q-22N-500W | Гибкий шланг в сборе | |
| 53 | RQ85014170D | Нейлоновый шланг в сборе | |
| 54 | RQ85010145L | Нейлоновый шланг в сборе | |
| 55 | 35N48L-06944 | Технологический комплекс четверника | |
| 56 | RQ8501427 | Нейлоновый шланг в сборе | |
| 57 | RQ85010115J | Нейлоновый шланг в сборе | |
| 58 | 35ZB1B-06942 | Технологический комплекс индуктивного клапана нагрузки |
Содержащиеся в справочниках-каталогах запасные части и детали не предлагаются к продаже, а носят исключительно информационный характер