Вернуться на главную
Поиск
Каталоги запчастей к технике
Грузовые автомобили и прицепы
DongFeng
DFL-3251AW1
5109A-C0100 Комплект ковёра кабины водителя
Каталог запасных частей к технике: DongFeng DFL-3251AW1. 5109A-C0100 Комплект ковёра кабины водителя
zoom-in
zoom-out
enlarge
shrink
circle-right
circle-left
file-text2
info
cart
Тип техники
Не выбрано
Легковые автомобили
Грузовые автомобили и прицепы
Автобусы
Сельхозтехника
Спецтехника
Двигатели
Мототехника
Марка
Не выбрано
BAW
DAF
DongFeng
FAW
Foton
HOWO
Hyundai
IVECO
JAC Motors
LGMG
MAN
Shaanxi
SITRAK
Studebaker
Tata
Volvo
Автокомпонент Плюс
БелАЗ
Брянский Арсенал
ГАЗ
ЗИЛ
КАЗ
Камский автозавод
КрАЗ
Мадара
МАЗ
МЗКТ
МоАЗ
Нефтекамский автозавод
Ставропольский Завод АвтоПрицепов
ТАТРА
Тонар
УралАЗ
ЧМЗАП
Модель
Не выбрано
DFL-3250A1-K09-003-01 (2007)
DFL-3251A (2008)
DFL-3251A Euro3 (2008)
DFL-3251AW1 (2013)
DFL-3251AW1 (2017)
DFL-3251AXA Euro3 (2008)
DFL-4181A (2008)
DFL-4251A (2008)
DFL-4251A8-T31R-931-02 (2011)
DFL-4251AXA Euro3 (2014)
DFL4251A-T04-930-00CA (2007)
EQ-1074 (2006)
L3251A3 (вар.) (2007)
Схема
>
Не выбрано
AF9156 Перемещение совместной группы
AH9136 Группа впускного предварительного подогрева
BB9081 Блок цилиндров
BB9127 Охлаждающий трубопровод блока цилиндров
BB9241 Шестеренчатая камера
BR9612 Элемент вентиляции картеры
CC9568 Охладительная трубка воздушного компрессора
CD9021 Компомент воздушного компрессора
CF9135 Компомент привода кондиционера
CF9148 Компрессор кондиционера
CH9104 Пучок вспомогательных соединительных труб охлаждающей жидкости
CI9124 Компомент впускного размещения воздушного компрессора
CL9148 Сцепление
DA9481 Демпфер крутильных колебаний
EA9201 Блок жгута заземления
ED9071 Группа знаков
EE9324 Генератор
EH9591 Установочный комплект генератора
EM9331 Группа опоры передней подвески двигателя
FA9310 Блок комплектующих привода вентилятора
FA9739 Установочный комплект привода вентилятора
FF90511 Соединительный трубопровод топливного фильтра
FF90845 Положение топливного фильтра
FH9690 Корпус маховика
FH9777 Трубопроводы картера маховика
FI9130 Группа устройств топлива
FI9195 Установка подачи топливного масла
FP90238 Монтажный узел топливного насоса
FP90239 Топливный насос
FS9746 Группа насоса для перекачки топлива
FT9384 Топливная магистраль
FT9554 Топливная магистраль
FW9782 Маховик
FW90025 Блок монтажных компонентов маховика
GG9791 Блок крышки шестерённой камеры
GG9804 Блок монтажных узлов крышки шестерённой камеры
HC9106 Монтажные компоненты отопления
IC9408 Установочный комплект фитингов впуска воздуха
IC9651 Группа впускных переходных труб
IM9157 Впускной коллектор
LA9074 Ушко двигателя
LA9128 Группа монтажных компонентов подъемного ушка двигателя
LC9765 Масляный радиатор
LF9130 Комплект масляного фильтра
LP9724 Масляный насос
NN9704 Бирка
OB9340 Установка для заправки машинного масла
OB9363 Заправочный комплект для блока цилиндров
PA9001 Блок ременного шкива привода агрегатов
PH9235 Монтаж контрольного модуля двигателя
PP43309 Функциональная штука
PP90046 Маслораспылитель
PP90196 Крышка цилиндра
PP99600 Трубопровод топливного инжектора
RL9753 Коромысло
RP9372 Труба дегазификаторы жидкости для охлаждения двигателя
SM9772 Установочный комплект стартера
ST9441 Стартер
TB9849 Группа воздуховыпускного клапана
TK9022 Комплект охлаждения преобразователя крутящего момента
TP97218 Трубопровод нагнетателя
VC9775 Кожух клапанной камеры
WI9160 Водоподводящий патрубок
WO9052 Блок вадоотводного штуцера
WP9101 Блок водяного насоса
WP9916 Комплект натяжного ролика ремня
WP9963 Ведущий элемент водяного насоса
1009C-T12L0 Монтажная группа указатель уровня масла - укомплектованная машина
1001C-K22R0 Задняя подвеска двигателя автомобиля
1001H-K20B1 Группа вспомогательной подвески двигателя - укомплектованная машина
1104A-K21R0 Питающие топливопроводы автомобиля и основного топливного бака
1104B-K21R0 Питающий топливопровод двигателя
1104C-K21R0 Группа обратной магистрали топливного масла
1105A-K22K0 Фильтр грубой очистки топлива
1109A-T3800 Воздушный фильтр
1109B-K21R0 Монтажный комплект воздушного фильтра
1109C-K2000 Впускная труба от воздушного фильтра к двигателю
1109H-K20K0 Воздухоподводящая труба автомобиля
1109L-K20K0 Впускная труба воздушного компрессора
1119B-T12H0 Трубопровод промежуточного охладителя
1203A-K21R0 Впускная труба глушителя
1203B-K21R0 Выхлопная труба глушителя
1203G-K2000 Выходной патрубок нагнетателя
1204A-K20R1 Теплоизоляционный комплект воздуховыпускной системы
1205B-K20R1 Постпроцессор и монтажная группа
1205C-K20R0 Бак для мочевины и монтажная группа
1205D-T12H0 Дозаторный насос и монтажная руппа
1205E-T12H0 Масляный газовый фильтр и монтажная группа
1205G-K21R0 Подающий трубопровод бака для мочевины
1205H-K20R1 Нагревательный трубопровод бака для мочевины
1300B-T12H0 Группа модулей охлаждения - радиатор, интеркулер и т.д.
1302A-K20R0 Монтажный комплект радиатора
1303A-T12H0 Водоподводящая и водоотводящая трубки радиатора
1308A-K21R0 Вентилятор
1309A-K21R0 Воздухоотражатель вентилятора
1309B-T12H0 Блок щита от ветра вентилятора
1311A1-ZD2A Элементы расширительного бачека
1311B-T12H0 Монтажный комплект расширительного бачка
1311C-T12H0 Блок циркуляционного трубопровода для дегазации
1601A-ZB7C0 Сцепление
1601E-ZB3E0 Монтажный комплект корпуса сцепления
1608A-K20R0 Усилитель сцепления
1700020-K20R0-01 Блок Корпусов коробки передач и муфты сцепления в сборе
1700020-K20R0-02 Группа вторичного вала в сборе
1700020-K20R0-03 Блок промежуточного вала в сборе
1700020-K20R0-04 Блок первичного вала в сборе
1700020-K20R0-05 Блок промежуточного вала передачи заднего хода
1700020-K20R0-06 Комплект верхней крышки в сборе
1700020-K20R0-07 Группа управляющего устройства в сборе
1700020-K20R0-08 Блок клапана типа одного H в сборе
1700020-K20R0-09 Блок ведущго зубчатого колеса квспомогательной коробки
1700020-K20R0-10 Комплект задней крышки в сборе
1700020-K20R0-11 Блок цилиндра вспомогательной коробки в сборе
1700020-K20R0-12 Блок крышки заднего подшипника основного вала в сборе
1700020-K20R0-13 Блок воздушного фильтра регулятора в сборе
1703A-T0701 Рычаг переключения передач
1703B-K2002 Рычаг переключения передач
1703F-T0400 Группа тяг переключения передач - одиночная тяга
1703U-K5500 Группа трубопроводов с регулируемой скоростью
2201A-K21R2 Приводной вал
10708900 Приводной вал с вилкой шлицевого вала в сборе
12300600 Рама и кронштейн в сборе
1001G-T2200 Группа передней подвески двигателя-рама сварно-клепальная
1001J-K20B1 Группа вспомогательной подвески двигателя-рама сварно-клепальная
2801F-K2000 Комплект поперечины - балка
2801H-K22R0 Комплект поперечины - усилительная балка
2801I-K21R0 Комплект поперечины - передний
2801P-K2000 Комплект поперечины - балансировочная подвеска
2801Q-K21R0 Комплект поперечины - задний
2806A-K21R0 Передний буксирный крюк
2831A-K21R0 Комплект поперечины рама пассажирского
2904C-K2000 Группа установки подвески весов - рама прицепа
2806A-K21R1 Передний буксирный крюк
2809E-K50R0 Блок передней нижней защитной установки
2901A-K2000 Накладка
2901D3-01 Блок пальца рессоры
2901I-K2000 Комплект нижней опоры и нижнего штифта амортизатора
2901J1-02 Соединительная штанга амортизатора
2906A-K19Z0 Блок переднего стабилизатора поперечной устойчивости
2912A-K2000 Передняя рессора
2921A3-04 Компоменты амортизатора
2904A-K2000 Группа подключения подвески подвески - крышка, болт
2904F-K2000 Комплект подвески весов - балансировочный вал
2904G-K2000 Группа бокового упора
2904S-T0400 Упор
2908A-K21R0 Комплект заднего стабилизатора поперечной устойчивости
2913A-K2000 Комплект задней листовой рессоры
2931B-K2000 Задняя распорная штанга
2400010-K20R4-01 Монтажный заднего моста
2400010-K20R4-02 Картер заднего моста
2400010-K20R4-03 Редуктор в задней части колеса в сборе
2402A-T1700 Блок главного редуктора заднего моста
3502A-K20R1 Задний левый тормозный механизм
3502B-K20R1 Задний правый тормозный механизм
11428000 Задняя ступица в сборе
3502010-K2001 Задний левый тормозный механизм в сборе
3502015-K2001 Задний правый тормозный механизм в сборе
2500010-K20R1-01 Монтажный блок среднего моста
2500010-K20R1-02 Блок корпуса среднего моста
2500010-K20R1-03 Редуктор в задней части колеса в сборе
2502A-T1700 Блок главного редуктора среднего моста
3503A-K20R0 Средний левый тормозный механизм
3503B-K20R0 Средний правый тормозный механизм
10951400 Ступица в сборе
10950800 Передний левый тормозный механизм в сборе
10950900 Передний правый тормозный механизм в сборе
11878700 Передний вал в сборе
3001A-K2000 Комплект переднего вала и поворотного кулака
3103A-T08A0 Блок тормозного барабана передней ступицы
3303A4-ZB3 Элементы поворотной поперечной тяговой штанги
3501A-K20R1 Комплект переднего левого тормоза
3501B-K20R1 Комплект переднего правого тормоза
3101A-K2700 Колесо в сборе
3103B-T0400 Передняя колёсная гайка и кольцо
3104B4-ZB3 Компонент задней колёсной гайки
3105A-K18A0 Кронштейн запасного колеса
3108A-K0302 Декоративный колесный колпак
3401B-K3600 Монтажный комплект рулевого механизма
3405A-K20R0 Трубопроводы гидроусилителя рулевого управления
3410A-K3600 Компоненты бачка гидроусилителя руля
3412A-T1400 Блок рулевой тяги
1606D-K21R0 Группа стальных труб сцепления - укомплектованная машина
1606E-K21R0 Группа гибких труб сцепления - укомплектованная машина
2507B-K20R0 Блок управляющего трубопровода блокировки межосевого дифференциала
3506A-K21R1 Питающий воздухопровод тормозной системы
3506D-K21R0 Тормозной трубопровод заднего моста
3506M-K21R0 Блок тормозного канала среднего моста
3506N-K21R1 Блок нейлоновых трубок клапан в сборе
3506P-K21R1 Трубный хомут, защитный кожух, держатель
3506Q-T0100 Шланг с держателем шланга от рамы к трубному соединению кабины
3513G-K21R0 Передний и задний ресиверы
3513K-K20R0 Блок воздушного баллона
3525B-K21R1 Фитинг
3526A-K21R0 Клапан двухстороннего действия
3527A-K21R0 Релейный кран
3533A-K21R1 Клапан быстрого растормаживания
3541A-K20K0 Комплект воздуховыпускного торможения
3543A-K21R0 Блок воздухоосушительной установки
3550B-K21R0 Антиблокировочное оборудование ABS заднее
4205B-K21R0 Орган управления механизмом отбора мощности
3615C-KX100 Блок температурного датчика катализатора
3615D-KN6V0 NOx группа датчиков
3615E-T25F0 Блок датчика температуры окружающей среды
3703A-K20R1 АКБ
3721A6-ZD2A Копомент электрического гудка
3724A-K21R1 Группа жгутов проводов рамы
3724B-K20R0 Провод питания
3724T-K50R0 Блок электроаппаратов коробки передач - шасси
3724W-K20R0 Комплект жгута проводов нагрева трубопровода бака для мочевины
3724Y-T25F0 Монтажная группа жгутов проводов рамы - рама
3735C-T3000 Группа реле подогрева воздухозаборника
3736A-T73H0 Главный выключатель источника питания
3754A-K18A1 Блок электромагнитных клапанов
3754C-T40H0 Комплект нагревательного электромагнитного клапанабака для мочевины
3756D-T2200 Контрольная группа срочного заглушения
3760A-T0101 Группа боковых опознавательных огней
3763A1-Z53 Блок отражателя кузова
3773A-K21R0 Блок задней комбинированной лампы
3819B-KQ100 Блок звукового сигнала заднего хода - шасси
3827A-K21R0 Блок датчика объема масла - главный маслопровод
3833A-K0300 Блок индикаторов заграждения воздушного фильтра
3836A-T0102 Группа датчика электронного одометра
3839A-KX100 Блок детекторного устройства уровеня воды - заглушка
3906A-K50R0 Комплект треугольного стопора
3919B-K2000 Возимый комплект инструментов
3919C-T0800 Комбинированный домкрат
5000012-C01D4-07 Основная кабина водителя - стандартная крышка и полуторарядные сиденья
1109K-C0102 Воздухоподводящая труба кабины
1602D-C0100 Группа педали сцепления
1604A-C0100 Агрегат главного цилиндра сцепления
3750I-C0100 Группа переключателей сцепления
1606A-C0100 Масляный резервуар
1606C-C0101 Трубопроводы системы сцеплеиния в кабине
1703C5-ZD2A Контрольная опора коробки передач
3404A-C0100 Рулевой привод
3504A-C0100 Блок педали торможения
3514A-C0107 Комплект клапана газового тормоза
3750H-C0100 Группа включателей стоп-сигнала сцепления
3816C-C0100 Блок датчика давления воздуха при низких давлениях датчика манометр воздуха
3506R-C0110 Трубопроводы стояночного тормоза, сопряженные с кабиной
3517A-C0103 Комплект клапана газового тормоза
3631A-C0301 Группа электро-контрольных элементов ABS
3714A-C0100 Группа верхних ламп
3714D-C0101 Группа ламп ступеней - левая
3714F-C0100 Блок лампы для чтения
3714N-C0101 Группа ламп ступеней - правая
3721B-C0100 Пневматический звуковой сигнал
3724I-C010D Блок жгута проводов двери-левый
3724J-C010D Блок жгута проводов двери-правый
3724K-C0100 Потолочный жгут проводов
3724M-C0111 Блок жгута проводов передней стенки
3724P-C0101 Комплект жгута проводов пола кабины водителя
3724Q-C0101 Комплект нижнего жгута проводов пола кабины водителя
3724Z-C0100 Блок защитной плиты жгута проводов передней стенки
3726A-C0101 Боковой фонарь указателя поворота-левый
3726F-C0101 Боковой фонарь указателя поворота-правый
3731A-C1101 Болт передних габаритных огней
3734V-C0100 Комплект реле нагрева топливного фильтра грубой очистки
3735D-C0102 Комплект реле поворота
3747A-C0100 Блок омывателя лобового стекла
3750D-C0100 Группа переключателей сигнального фонаря открытой двери
3750J-C0101 Группа переключателей ABS
3751X-C0100 Блок крышка-заглушки выключателя
3774A-C0100 Блок комбинированного выключателя
3819A-C0100 Блок зуммера
3910A-C1100 Огнетушитель
5000F-C0102 Группа значка дунфэн
5001A-C0100 Комплект передней подвески кабины водителя 0 полуразгруженный
5001B-C0101 Комплект задней подвески кабины водителя-полуразгруженный 860
5003B-C0100 Монтажный блок опрокидывающего маслонасоса-кабина водителя
50M14-C01GYAJ Неокрашенный кузов в сборе - красили
5000M-C0100 Блок глухой шайбы технологического отверстия кабины водителя
5000K-C0100 Соединительный блок сварки в сборе кабины водителя
5401A-C0100 Блок сварки левой стенки
5601A-C0100 Блок сварки задней стенки
5301C-C0103 Блок маски передней стенки
6101A-C0104 Блок сварки левой двери
5111B-C0100 Блок гасителя удара пола
5102B-C0101 Декоративные элементы пола
5102J-C0100 Декоративные элементы рычага переключения передач
5103A-C0100 Блок бардачка на стороне водителя
5103B-C0100 Блок бардачка со стороны пассажира
5104A-C0100 Блок руля
5104B-C0100 Декоративные элементы рулевой колонки
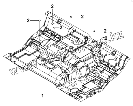
5109A-C0100 Комплект ковёра кабины водителя
5110B-C0100 Теплоизоляционная подложка под пол
5205A-C0100 Стеклоочиститель
5206A-C0101 Лобовое стекло с уплотнителем
5301E-C0100 Корпус передней маски
5301J-C0100 Блок внешней боковой плиты передней стенки
5305910-C01GY0KU Технологический блок приборной панели
3724D-C01A8 Комплект жгута электропроводов кабины водителя
3725A-C0100 Группа прикуривателей
3734O-C0100 Блок релемуфты сцепления вентилятора
3734P-C1100 Комплект пускового реле защиты
3734R-C0100 SCR группа реле
3735A-C0111 Комплект реле - кабина водителя
3735F-C0100 Релейный комплект нейтральной передачи
3735I-C0100 Блок реле для заднего хода
3735J-C0101 Блок реле сигнализатора тормоза
3735M-C0100 Релейный комплект водоскребочного двигателя
3735N-C0100 Релейный комплект обогревателя кондиционера
3750F-C0101 Группа переключателей блокировки дифференциала
3750G-C0101 Группа выключателей электропоезда
3750S-C0101 Блок переключателя отбора мощности на время остановки
3751E-C0100 Комплект выключателя обогрева топливного фильтра
3751Y-C0100 Блок крышка-заглушки выключателя - тумблерный выключатель
3775A-C0102 Блок магнитолы
3800A-C1263 Блок комбинированного прибора
5303A-C0100 Вещевые ящики приборной панели
5305A-C0105 Ободок комбинации приборов
5305B-C0100 Приборная панель
7920A-C0101 Группа GPS
8101A-C0100 Отопитель
8102A-C0101 Трубопроводы отопителя
8103A-C4301 Блок вентиляционной установки
8112A-C0101 Агрегат устройств управления кондиционера
5305C-C0101 Блок защитной плиты жгута проводов
5402A-C0100 Внутренний молдинг левой боковины
5402B-C0100 Внутренние декоративные элементы правой боковины
5403A-C0100 Блок окна левой стенки
5403B-C0100 Блок окна правой стенки
5602A-C0100 Внутренние декоративные элементы задка
5603A-C0100 Заднее окно
5702A-C0104 Внутренние декоративные элементы крыши
5704A-C0103 Группа бардачков верхней крышки
5710B-C0102 Теплоизоляционная и звуконепроницаемая группа верхней крышки
5810A-C0103 Комплект ременя безопасности сиденье водителя
12406700 Запчасти для левой двери в сборе - больше правых
6100920-C01GY71 Запчасти для правой двери в сборе - больше левых
6101C-C0101 Ограничитель двери и блок буферной установки-левый
6101D-C0100 Ограничитель двери и блок буферной установки-правый
6102A-C0104 Декоративные элементы передней левой двери
6102B-C0104 Декоративные элементы переденй правой двери
6103A-C0100 Окно левой двери
6103B-C0100 Окно правой двери
6104A-C0100 Стеклоподъемник левой двери
6104B-C0100 Стеклоподъемник правой двери
6105G-C0110 Монтажный блок дверного замка левой двери - с запчастями дверного замка
6105H-C0110 Монтажный блок дверного замка правой двери - с запчастями дверного замка
6107A-C0100 Уплотнитель левой двери
6107B-C0100 Блок уплотнителя правой двери
6800A-C0104 Водительское сиденье
6900A-C0104 Пассажирское сиденье
7600A-C0100 Блок плацкартного спального места
8101B-C0100 Трубопроводы отопителя
8108D-C0112 Агрегат трубопровода кондиционера - кабина водителя
8201A-C1101 Зеркало заднего вида со стороны водителя
8201B-C1102 Зеркало заднего вида со стороны переднего пассажира
8201C-C0105 Монтажная группа наружного зеркала заднего вида на стороне водителя
8201D-C0104 Монтажный блок наружных зеркал заднего вида на стороне пассажира
8201E-C0100 Внутреннее зеркало заднего вида
8203A-C0101 Блок пепельницы - левый
8203B-C0101 Блок пепельницы - правый
8204A-C0102 Солнцезащитный козырек
8205A-C0100 Блок занавески
8205B-C0100 Блок направляющей для занавески
8211A-C0100 Комплект наружного подручника
8211B-C0100 Блок подручника внутреннего
8219A-C0104 Блок зеркала нижнего вида
8403C-C0101 Передний левый брызговик
8403D-C0101 Передний правый брызговик
8403E-C0100 Левый внутренний брызговик
8403F-C0100 Правый внутренний брызговик
8403G-C0100 Блок левого верхнего колёсного колпака
8403H-C0100 Блок правого верхнего колёсного колпака
8403J-C0101 Левый колёсный колпак - укомплектованная машина
8403K-C0101 Правый колёсный колпак - укомплектованная машина
8405A-C0102 Левый педаль - кабина водителя
8405B-C0102 Правый педаль - кабина водителя
8405C-C0108 Левая подножка автомобиля
8405D-C0108 Правая подножка автомобиля
5001C-C0105 Группа наружной бирки кабины водителя - 340PS
5001E-C0401 Группа наружной бирки кабины водителя - бирка Дунфэн (строительная машина)
5003A-C0100 Гидроцилиндр опрокидывания
5005A-C0100 Блок опрокидывающего маслонасоса
8101C-C0104 Водоподводящая и водоотводящая трубки отопителя
8105A-C0100 Группа конденсатора
8108A-C0124 Агрегат трубопровода кондиционера - машина
8403A-C0137 Задний левый брызговик
8403B-C0138 Задний правый брызговик
8403L-K50R0 Блок левой звукоизоляционной плиты
8403M-K50R0 Блок правой звукоизоляционной плиты
8511A-K20R0 Брызговик грузового кузова
11880600 Технологический блок бампера
3724N-C0100 Группа пучков проводов бампера
3772A-C0100 Комплект передней комбинированной фары
8406A-C0108 Передний бампер
1
2
2
2
2
2
2
2
Позиция на иллюстрации
Заводской номер детали
Название детали
1
10933900
Передний ковёр в сборе
2
10107500
Snap
Содержащиеся в справочниках-каталогах запасные части и детали не предлагаются к продаже, а носят исключительно информационный характер
Дополнительная информация
×
Название:
Номер:
Примечание: