Вернуться на главную
Поиск
Каталоги запчастей к технике
Грузовые автомобили и прицепы
DongFeng
DFL-3251AW1
Cylinder Block Group
Каталог запасных частей к технике: DongFeng DFL-3251AW1. Cylinder Block Group
zoom-in
zoom-out
enlarge
shrink
circle-right
circle-left
file-text2
info
cart
Тип техники
Не выбрано
Легковые автомобили
Грузовые автомобили и прицепы
Автобусы
Сельхозтехника
Спецтехника
Двигатели
Мототехника
Марка
Не выбрано
BAW
DAF
DongFeng
FAW
Foton
HOWO
Hyundai
IVECO
JAC Motors
LGMG
MAN
Shaanxi
SITRAK
Studebaker
Tata
Volvo
Автокомпонент Плюс
БелАЗ
Брянский Арсенал
ГАЗ
ЗИЛ
КАЗ
Камский автозавод
КрАЗ
Мадара
МАЗ
МЗКТ
МоАЗ
Нефтекамский автозавод
Ставропольский Завод АвтоПрицепов
ТАТРА
Тонар
УралАЗ
ЧМЗАП
Модель
Не выбрано
DFL-3250A1-K09-003-01 (2007)
DFL-3251A (2008)
DFL-3251A Euro3 (2008)
DFL-3251AW1 (2013)
DFL-3251AW1 (2017)
DFL-3251AXA Euro3 (2008)
DFL-4181A (2008)
DFL-4251A (2008)
DFL-4251A8-T31R-931-02 (2011)
DFL-4251AXA Euro3 (2014)
DFL4251A-T04-930-00CA (2007)
EQ-1074 (2006)
L3251A3 (вар.) (2007)
Схема
>
Не выбрано
ISLe340 40 Engine assembly (with air conditioning)
Drive Joint Group
Air Intake Preheat Group
Data plate
Cylinder Block Group
Cooling Pipeline Group, Cylinder Block
Gear Chamber Group
Crankcase Ventilating Group
Cooling water pipe air compressor
Air Compressor Pipeline Group
A/C Drive Group
A/C Group
Auxiliary Heating Pipe Line Group , Cooling Fluid
Air Compressor Intake Group
Clutch assembly
Air Compressor Group
Torsional Shock Absorber Group
Electronic accessories
Thermostat Group
Label Group
Generator Group
Installation parts, generator
Engine front mounting bracket
Fan Drive Group
Fitting Parts Group of Fan Drive
Fuel filter position
Connection line , fuel filter
Flywheel Housing Group
Flywheel shell line
Fuel Inlet Joint Group
Fuel Pump Mouting Group
Fuel Pump Group
Pump Group
Fuel Pipeline Group
Flywheel
Fitting Parts Group of Flywheel
Gear Chamber Cover Group
Fitting Parts Group of Gear Chamber Cover
Preheat Pipe Line Group
Hydraulic Steering Pump Group
Intake Connector Fitting Parts Group
Air intake pipe
Intake manifold
Engine Lifting Bracket Group
Fitting Parts Group Of Engine lifting bracket
Oil Cooler Group
Oil Filter Group
Oil Dipstick Group
Oil
Oil Pump Group
Identification tab
Oil Filler Device
Accessory group for refueling, cylinder block
Oil Pan Group
Drive Pulley Group
Engine Control Module Fitting Parts Group
Engine Control Module Group
Performance Part Group
Fuel Injector Pipeline Group
Turbocharger
Rocker arm
Engine Coolant Bleed Pipe Group
Starter Attachment Group
Starter Group
Exhaust Pipe Group
Torque Converter Cooling Group
Turbocharger Pipeline Group
Air Valve Chamber Cover Arrangement Group
Rust remover
Water Outlet Connector Group
Water Outlet Connecting Pipe Group
Water Pump Group
Belt Tension Pulley Group
Water Pump Drive Component Group
Electric control module harness
Engine Front Mounting Group,Complete Vehicle
Engine Rear Mounting Group, Complete Vehicle
Engine Auxiliary Mounting Group
Fitting Parts Group Of Oil Dipstick
Fitting Parts Group Of Fuel Tank
Fuel Tank Group
Fuel Feed Pipe Group
Fuel Feed Pipe Group
Fuel Return Pipeline Group
Fuel Prefilter Group
Fitting Parts Group Of Primary Fuel Filter
Air Cleaner Group
Fitting Parts Group Of Air Cleaner
Intake Pipe Group Connecting Air Cleaner To Engine
Air intake pipe group
Air Compressor Intake Pipe Group
Intercooler Pipeline Group
Muffler Intake Pipe Group
Exhaust Pipe Mounting Group Muffler
Connecting Pipe Group, Turbocharger Outlet
Exhaust System Insulation Group
Post processing system, exhaust purification
Post Processor And Install Group
Urea Tank, Install Group
Measuring Pump, Install Group
Oil gas filter and Install Group
Urea Supply Hose System Group
Heating pipeline Group, Urea Tank
Cooling Module Sub Group
Fitting Parts Group Of Radiator
Radiator Water Inlet And Outlet Pipe Group
Fan Group
Fan Shroud Group
Fan Wind Board Group
Expansion Tank Group
Expansion Tank Mounting Group
Deaerator circulation line group
Сlutch assembly
Clutch Housing Installation group
Clutch Booster Group
Transmission with clutch and power takeoff assembly
Transmission And Clutch Housing Assembly Group
2nd Shaft Assembly Group
Intermediate shaft assembly
One Shaft Assembly Group
Reverse Intermediate Shaft Assmbly Group
Upper Cover Assembly Group
Control device assembly
Single H valve assembly Group
Driving Gear Group , Auxiliary Box
Rear Assembly Group
Cylinder Assembly, Range Box, Group
Rear Bearing Cover Group,Main Shaft
Air filter adjuster assemly
PTO Group
Speed Control Handle Group
Speed Control Lever Group
Speed Control Drag Link Group
Gear Shifting Control Pipe Group - Complete Vehicle
Propeller Shaft Group
Transmission shaft with aliding fork assembly
Transmission shaft with spline shaft fork assembly
Rear axle,hub and brake assembly
Rear axle
Housing assembly, rear axle
Rear axle
Rear axle
Rear axle, brake assembly
Rear axle
Middle axle, hub and brake assembly
Middle axle
Middle axle
Middle axle
Middle axle
Middle axle
Middle axle
Middle axle, brake assembly
Middle axle
Frame And Bracket assembly
Engine rear mounting Group
Engine Front Mounting Group
Engine Assist Mounting Group
Beam Group
Beam Group, Reinforced Beam
Beam Group, front
Beam Group, rear
Front Towing Hook Group
Beam assembly
Fitting Parts Group Of Front Leaf Spring Suspension For Hanging The Frame
Balance Suspension fixing Group- On The Frame
Front lower protective device group
Cover Plate Group
U-bolt group
Spring Pin assembly
Shackle Group
Vibration Damper Upper Bracket & Upper Pin Group
Under The Shock Absorber Bracket And Bottom-pin Group
Vibration Damper Shackle Linking Rod
Frong Stablizer Bar Group
Front Leaf Spring Group
Shock Absorber Assemblies
Balance Suspension Connection – Cover, Bolt
Balance Suspension fixing Group
Lateral Plate Group
Stop Block Group
Rear Stablizer Bar Group
Rear Leaf Spring Group
Rear Push Rod
Front axle assembly
Front Axle And Steering Knuckle Group
Front Wheel Hub And Brake Drum Group
Steering Tie Rod Group
Front Left Brake Group
Front Right Brake Group
Wheel Assembly Group
Extended Valve Nozzle Group
Front Wheel Nut And Step Ring Group
Rear Wheel Nut Group
SpareTire Frame Group
Wheel Decoration Group
Steering Gear Group
Installing Parts Group Of Steering Gear
Power Steering Pipeline Group
Power Steering Oil Reservoir Group
Steering Tie Rod Group
Clutch System Steel Pipe Group, Complete Vehicle
Clutch System Hose Group, Complete Vehicle
Control Line Of Axial Differential Lock
Air pipeline group
Rear Axle Brake Pipeline Group
Front Axle Brake Pipeline Group, Brake Valve To Brake Chamber
Brake pipeline group, middle axle
Nylon Pipe Group
Pipe Clamp & Protecting Sleeve & Support Group
Hose & support
Front And Rear Air Reservoir Group
Regeneration Cylinder Group
The Four-Way Protective Valve Group
Pipe Joint Group
Two way valve assembly
Relay Valve Group
Quick Release Valve Group
Exhaust Brake Group
Air Dryer Group
Front ABS Device Group
Rear ABS device
Power Takeoff Catanator Group
Temperature Sensor Group, Catalyst
NOx Sensor Group
Ambient Temperature Sensor Group
Battery Group
Electric Horn Assemblies
Frame Wiring Harness Group
Power Wire Group
Transmission Electric group
Heating Wire Harness Group, Urea Pipe
Frame Wiring Harness Installation Group,Frame
Preheat Relay Group
Main Power Supply Switch Group
Solenoid Valve Group
Heating Electromagnetic Valve Group,Urea Tank
Shut-Down Controller Group
Side Marker Lamp Group
Reflecting Marking Group,Cab
Rear Combination Lamp Group
Reverse Buzzer Group, chassis
Oil sensor group , main tank
Air Cleaner Blockage Indicator Group
Electronic Odometer Sensor Group
Water Level Alarm Sensor Group
Note Card Group, PTO
Instruction plate Group
Instruction plate Group , Electrical
Instruction plate Group
Identification Tab Group
Triangle Chock Block Group
Jack Kit Group
Cab assembly
Accelerator Pedal Group, Electronic Throttle
Air intake pipe group
Clutch pedal craft sub-assembly
Clutch Pedal Group
Clutch Master Cylinder Group
Clutch Switch Group
Oil Reservoir Group
Clutch System Pipeline Group, Ca
Transmission Control Support
Steering Transmission Device Group
Brake pedal craft sub-assembly
Brake Pedal Group
Air Brake Valve Group
Clutch brake Lamp Switch Group
Air Pressure Meter Sensor & Low Air Pressure Alarm Group
Hand Brake Pipeline Group, Cab
Air Brake Valve Group
ABS ECU Group
Integrated Alarm Control Group
Ceiling Lamp Group
Step Lamp Group
Reading lamp
Air Horn Group
Door Wiring Harness Group
Ceiling Harness Group
Front Wall Harness Group
Cab Floor Harness Group
Lower Harness Group, Cab Floor
Front Wall Harness Guard Group
Side Turn Signal Lamp Group
Front Position Lamp Group
Heating Relay Group, Urea Pipe
Heat Relay Group, Fuel Pre-Filter
Flasher Group
Windshield Washer Group
Door Lamp Switch Group
ABS Switch Group
Plug Cover Group of Rearview Mirror Switch
Combination Switch Group
Buzzer Group
Note Card, Body
Fire Extinguisher Group
Dongfeng Logo Group
Cab front mounting Group
Cab Rear mounting Group
Tilting Cylinder Mounting Group
Cab white body assembly,has been painted
Cab Fabrication Hole Plug Group
Front Wall Mask Group
Left Door Welding Group
Right door welding Group
Floor Damping Pad Group
Floor Trim Group
Shift Lever Ornament Group
Glove Compartment Group, Driver Side
Glove Compartment, Passenger Side
Steering Wheel Group
Steering Column Trim Group
Cab Carpet Group
Lower Insulation Mat Group Of Floor
Wiper Group
Front Windshield And Weatherstrip Group
Front Wall Mask Mechanism Group
Front Wall Outside Plate Group
Technological Subassembly Group of Instrument Panel
Fuse Box Group
Cab Wiring Harness Group
Cigar Lighter Group
Starting Protect Relay Group
SCR Relay Group
Relay Group, Cab
Neutral Relay Group
Reverse Relay Group
Stop Lamp Relay Group
Wiper Relay Group
A/C And Heater Relay Group
Rocker Switch Group
Differential Lock Switch Group
PTO And Lifting Switch Group
Power Takeoff Switch Group
Switch Group
Heater Switch Group,Fuel Filter
Plug Cover Group of Switch-Rocker Switch
Radio & CD Player Group
Combination Instrument Group
Glove Box Group of Instrument Panel
Instrument Frame Group
Instrument Panel Group
GPS Group
Heater Group
Air Pipe Group Of Heater
Ventilation Group
A/C Control Group
Harness Guard Board Group
LH Side Wall Interior Trim Group
RH Side Wall Interior Trim Group
LH Side Window Group
RH Side Window Group
Rear Wall Interior Trim Group
Rear Window Group
Roof Panel Interior Trim Group
Glove Box Group Of Roof Panel
Sound/heat Insulation Group Of Roof Panel
Driver Seat Belt Group
Passenger Seat Belt Group
Left door assembly
Right door assembly
Door Limit and Buffer Device Group
FL Door Trim Group
FR Door Trim Group
LH Door Window Group
RH Door Window Group
LH Window Regulator Group
RH Window Regulator Group
Ignition Lock And Door Lock Group
LH Door Weatherstrip Group
RH Door Weatherstrip Group
Driver Seat Group
Passenger Seat Group
Sleeper Group
Heater pipeline Group
A/C Pipe-cab
Exterior Rearview Mirror Group At Driver Side
Exterior Rearview Mirror Group At Passenger Side
Fitting Parts Group Of Exterior Rearview Mirror At Driver Side, Driver Side
Fitting Parts Group Of Exterior Rearview MirrorAt Passenger Side
Interior Rearview Mirror Group
Ash Tray Group
Sun Visor Group
Curtain Group
Curtain Slide Rail Group
Exterior Armrest Group
Interior Armrest Group
Lower Mirror Group
Front Left Mud Guard Group
Front Right Mud Guard Group
LH Inner Mudguard Group
Right Inner Mudguard Group
LH Upper Wheel Housing Group
Right Upper Wheel Mask Group
Left Wheel Cover- Complete Vehicle
Right Wheel Cover
LH Pedal Plate Group, Cab
Right Pedal Plate Group
LH Pedal Plate Group, Complete Vehicle
Right Pedal Plate Group
Cab Logo Group-341PS
Cab Logo Group-DongFeng Nameplate
Tilting Cylinder Group
Tilting Pump Group
Water Inlet/Outlet Pipe Group Of Heater
Condenser Group
A/C Pipeline Group
Rear left Mudguard Group
Rear right Mudguard Group
LH Sound Insulation Plate Group
RH Sound Insulation Plate Group
Bumper craft assembly
Bumper Harness Group
Front Combination Lamp Group
Front Bumper Group
Carriage Group
Без названия
Oil cylinder assembly
Carriage Mudguard Group
1
2
2
3
4
5
6
7
8
9
10
11
12
13
14
15
16
17
18
19
20
21
22
23
24
25
26
27
28
29
30
31
32
33
34
35
35
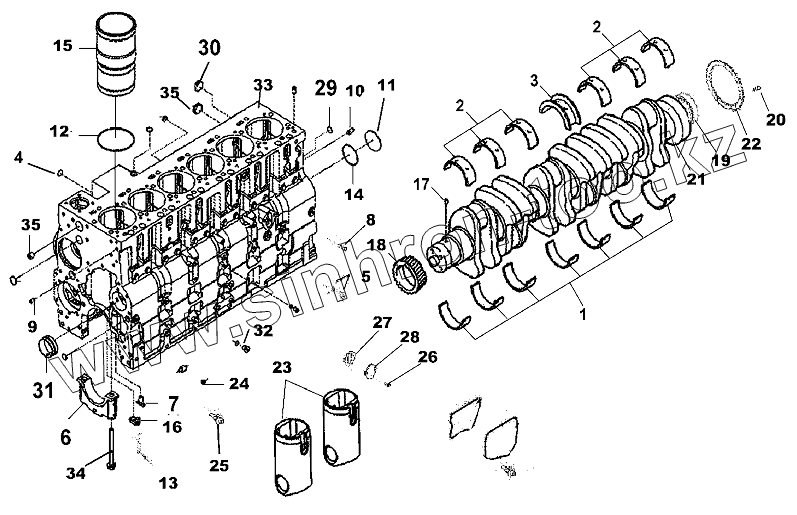
Позиция на иллюстрации
Заводской номер детали
Название детали
1
10257300
Lower crankshaft shell
2
10257400
Upper crankshaft shell
3
10257500
Thrust bearing shell of crankshaft
4
10148900
Screw plug
5
10256700
Screw plug
6
10536500
Main bearing cover
7
10928100
Drain valve
8
10152100
Screw plug
9
10522600
Dowel pin
10
10523200
Dowel pin
11
10523300
Bowl plug
12
10524500
Rectangular seal ring
13
10524800
Bolt
14
10527800
O ring
15
10533400
Cylinder sleeve
16
10258701
Piston cooling nozzle
17
10155700
Dowel pin
18
10526100
Crankshaft gear
19
10745300
Dowel pin
20
10772100
Bolt
21
10772700
Crankshaft
22
10774000
Speed sensor
23
10534600
Tappet body
24
10772900
Bolt
25
10774200
Bolt
26
10153400
Bolt
27
10159000
Gasket,cover plate
28
10160600
Plate,Cover
29
10154200
Bowl plug
30
10155800
Bowl plug
31
10533300
Camshaft bushing
32
10542200
Fixing pin
33
10776500
Cylinder body
34
10258600
Bolt, main bearing cover
35
10519900
Bowl plug
36
10520100
Bowl plug
Содержащиеся в справочниках-каталогах запасные части и детали не предлагаются к продаже, а носят исключительно информационный характер
Дополнительная информация
×
Название:
Номер:
Примечание: