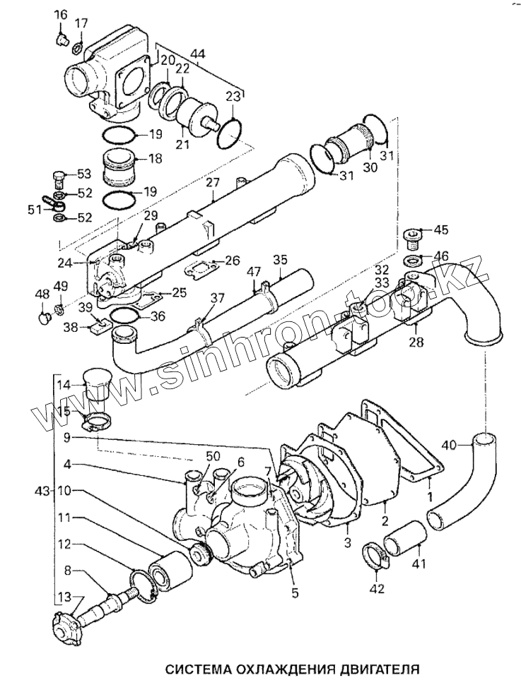
Каталог запасных частей к технике: DAF 95XF. Система охлаждения двигателя
1
2
3
4
5
6
7
8
9
10
11
12
13
17
18
19
19
20
21
22
23
24
25
26
27
28
29
30
31
31
31
35
36
36
37
38
43
44
48
49
50
52
52
| Позиция на иллюстрации | Заводской номер детали | Название детали | |
|---|---|---|---|
| [Штуцер банджо] | [Штуцер банджо] | Штуцер банджо | |
| [Полый болт штуцера банджо] | [Полый болт штуцера банджо] | Полый болт штуцера банджо | |
| [Заглушка] | [Заглушка] | Заглушка | |
| 1 | 1282873 | Прокладка водяного насоса | |
| 2 | 0292223 | Отражатель водяного насоса | |
| 3 | 0753672 | Прокладка водяного насоса | |
| 4 | 1262583 | Корпус водяного насоса | |
| 5 | 0126720 | Гайка М8х16 | |
| 6 | 1313126 | Болт с фланцем М8х85 | |
| 7 | 1313119 | Болт с фланцем М8х50 | |
| 8 | 0078075 | Вал водяного насоса | |
| 9 | 0272508 | Крыльчатка водяного насоса | |
| 10 | 1285773 | Сальник вала водяного насоса 19х40х20 | |
| 11 | 1256792 | Подшипник водяного насоса | |
| 12 | 0226466 | Стопорное кольцо | |
| 13 | 1323914 | Фланец привода водяного насоса | |
| 17 | 0244680 | Медное уплотнительное кольцо 14,2х19,9х1,5 | |
| 18 | 1312053 | Патрубок | |
| 19 | 1347617 | Уплотнительное кольцо | |
| 20 | 0366590 | Седло клапана термостата | |
| 21 | 1303061 | Термостат | |
| 22 | 0751872 | Уплотнительное кольцо 57,7х67,5х6,4 | |
| 23 | 1332011 | Уплотнительное кольцо | |
| 24 | 1313132 | Болт с фланцем М8х120 | |
| 25 | 1297706 | Прокладка фланца водяного патрубка | |
| 26 | 1300212 | Прокладка фланца водяного патрубка | |
| 27 | 1331671 | Водяной патрубок головки блока 01 | |
| 28 | 1347530 | Водяной патрубок головки блока 02 | |
| 29 | 1243067 | Болт с фланцем М10х90 | |
| 30 | 1293002 | Патрубок | |
| 31 | 1365215 | Уплотнительные кольца | |
| 35 | 1373217 | Патрубок охлаждения ретардера | |
| 36 | 1365215 | Уплотнительные кольца | |
| 37 | 1313140 | Болт с фланцем М8х20 10,9 | |
| 38 | 1369562 | Пластина-фиксатор | |
| 43 | 0683225 | Водяной насос системы охлаждения | |
| 44 | 0683224 | Корпус термостата | |
| 48 | 0210914 | Пробка М14х1,5 | |
| 49 | 0244680 | Медное уплотнительное кольцо 14,2х19,9х1,5 | |
| 50 | 1348225 | Шпилька с буртиком | |
| 52 | 0244680 | Медное уплотнительное кольцо 14,2х19,9х1,5 |
Содержащиеся в справочниках-каталогах запасные части и детали не предлагаются к продаже, а носят исключительно информационный характер