Каталог запасных частей к технике: DAF 95XF. Насос топливный
1
2
3
4
5
6
6
7
7
8
9
10
11
12
13
13
13
14
15
16
17
18
19
20
21
22
23
24
25
26
27
28
29
30
31
32
33
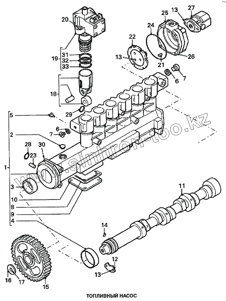
| Позиция на иллюстрации | Заводской номер детали | Название детали | |
|---|---|---|---|
| 1 | 1368664 | Корпус топливного насоса | |
| 2 | 0214991 | Пробка для прокачки (D=25) | |
| 3 | 0241754 | Вкладыш подшипника скольжения | |
| 4 | 1307213 | Вкладыш | |
| 5 | 1309849 | Стопор | |
| 6 | 0244680 | Медное уплотнительное кольцо 14,2х19,9х1,5 | |
| 7 | 0210914 | Пробка М14х1,5 | |
| 8 | 1355385 | Прокладка | |
| 9 | 1337898 | Крышка | |
| 10 | 1313139 | Болт с фланцем М8х18 | |
| 11 | 1340851 | Кулачковый вал | |
| 12 | 1317855 | Фиксирующая пластина | |
| 13 | 1317881 | Болт с фланцем М8х22 10,9 | |
| 14 | 1340462 | Шпонка | |
| 15 | 1320336 | Звездочка привода ТНВД | |
| 16 | 1303544 | Прижимная шайба | |
| 17 | 1231065 | Болт с фланцем М16х50 10,9 | |
| 18 | 1324179 | Толкатель | |
| 19 | 1379110 | Секция топливного насоса | |
| 20 | 1345207 | Болт с шестигранным гнездом в головке | |
| 21 | 0202591 | Штифт | |
| 22 | 1376732 | Ведущий фланец | |
| 23 | 0251837 | Штифт 10х20 | |
| 24 | 0761099 | Уплотнительное кольцо | |
| 25 | 1355387 | Крышка ТНВД | |
| 26 | 1313122 | Болт с фланцем М8х65 10,9 | |
| 27 | 1339200 | Подкачивающий насос | |
| 28 | 1285660 | Уплотнительное кольцо (D=17) | |
| 29 | 1285613 | Уплотнительное кольцо (D=21,82) | |
| 30 | 1313562 | Болт с фланцем М10х120 | |
| 31 | 1351365 | Верхнее уплотнительное кольцо ТНВД | |
| 32 | 1351366 | Среднее уплотнительное кольцо ТНВД | |
| 33 | 1351367 | Нижнее уплотнительное кольцо ТНВД |
Содержащиеся в справочниках-каталогах запасные части и детали не предлагаются к продаже, а носят исключительно информационный характер