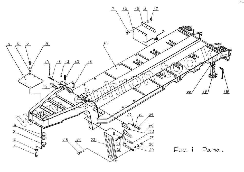
Каталог запасных частей к технике: ЧМЗАП-9990. Рама
1
3
4
5
6
7
7
7
8
8
8
9
10
10
11
12
13
14
15
16
17
18
19
20
21
22
23
24
24
25
26
27
28
29
| Позиция на иллюстрации | Заводской номер детали | Название детали | |
|---|---|---|---|
| 1 | 202251 | Болт М20x1,5-6gx60.68.016 ГОСТ 7796-70 | |
| 3 | 600000.2704042 | Шкворень поворотного устройства | |
| 4 | 600000.2704060 | Прокладка регулировочная | |
| 5 | 600000.2801455 | Лист настила № 1 | |
| 6 | 252039 | Шайба 10 | |
| 7 | 252141 | Шайба 20 ОТ 65Г 06 ГОСТ 6402-70 | |
| 7 | 201497 | Болт М10-6gx25.68.016 ГОСТ 7796-70 | |
| 8 | 252136 | Шайба 10 ОТ 65Г 06 ГОСТ 6402-70 | |
| 9 | 600000.4510018 | Ролик направляющий горизонтальный | |
| 10 | 5523-4510019 | Планка стопорная | |
| 11 | 600000.4510088 | Ось горизонтального ролика | |
| 12 | 600000.4510090 | Ось вертикального ролика | |
| 13 | 600000.4510020 | Ролик направляющим вертикальный | |
| 14 | 600000.2800010 | Рама | |
| 15 | 9985-8404070 | Брызговик | |
| 16 | 9985-8404340 | Накладка крепления брызговика | |
| 17 | 250512 | Гайка М10.6Н.6.016. ГОСТ 5915-70 | |
| 18 | 600000.2721214 | Палец дополнительной опоры | |
| 19 | 600000.2721020 | Дополнительная опора | |
| 20 | 600000.2721100 | Кожух опоры | |
| 21 | 201495 | Болт М10-6gx20.68.016 ГОСТ 7796-70 | |
| 22 | 252006 | Шайба 10 ОСТ 37.001.144-75 | |
| 23 | 9990-8403015-10 | Крыло | |
| 24 | 252038 | Шайба 8 ОСТ 37.001.144-75 | |
| 25 | 201456 | Болт М8-6gx20.68.016 ГОСТ 7796-70 | |
| 26 | 252135 | Шайба 8Т 65Г 06 ГОСТ 6402-70 | |
| 27 | 250510 | Гайка 2М8.6Н. 6.016 ГОСТ 5915-70 | |
| 28 | 9990-8403054 | Кронштейн крыла | |
| 29 | 9990-8403058 | Кронштейн крыла верхний |
Содержащиеся в справочниках-каталогах запасные части и детали не предлагаются к продаже, а носят исключительно информационный характер